TOP
|
特許
|
意匠
|
商標
特許ウォッチ
Twitter
他の特許を見る
10個以上の画像は省略されています。
公開番号
2025153390
公報種別
公開特許公報(A)
公開日
2025-10-10
出願番号
2024055854
出願日
2024-03-29
発明の名称
座席濡れ検知装置
出願人
コイト電工株式会社
代理人
個人
主分類
G01S
7/41 20060101AFI20251002BHJP(測定;試験)
要約
【課題】座席における座部の濡れをいっそう広い範囲で簡易かつ正確に検知することができる座席濡れ検知装置を提供する。
【解決手段】座席1の座部3を下方に臨む高さに設けられ、正面側より相対する座部3の座面に向けて電磁波を送信すると共に、該電磁波が反射されて返る反射波を正面側より受信するセンサ11と、座部3内で座面に平面視で重なるように設けられ、座部3内の座部フレーム30を兼ねる反射部31と、を備える。反射部31からの反射波の水分による信号強度の減衰度合いに基づき座部3の濡れを判定可能とした。
【選択図】図1
特許請求の範囲
【請求項1】
座席の濡れを検知するための座席濡れ検知装置であって、
座席の座部を下方に臨む高さに設けられ、正面側より相対する座部の座面に向けて電磁波を送信すると共に、該電磁波が反射されて返る反射波を正面側より受信するセンサと、
座部内で座面に平面視で重なるように設けられ、座部内の座部フレームを兼ねる反射部と、を備え、
前記反射部は、その上面側の全域に亘り前記センサから送信された電磁波を受け、前記センサに向けて反射可能であり、
前記センサにより受信した反射波の水分による信号強度の減衰度合いに基づき、座部の濡れを判定可能としたことを特徴とする座席濡れ検知装置。
続きを表示(約 850 文字)
【請求項2】
前記座部フレームはパネル状に形成され、該座部フレームの上面側は前記反射部として、複数のコーナーリフレクタを、それぞれの開口面が同一平面上に密に並ぶ状態で一体に連設したことを特徴とする請求項1に記載の座席濡れ検知装置。
【請求項3】
前記座部フレームの周縁の少なくとも一部に沿って前記反射部に付加され、前記センサから送信され前記反射部から外れた電磁波を受け、前記センサに向けて反射可能な補助反射部を設けたことを特徴とする請求項1に記載の座席濡れ検知装置。
【請求項4】
前記センサは、前記座部の後端側に支持された背凭れの上側に設けられたことを特徴とする請求項1に記載の座席濡れ検知装置。
【請求項5】
前記センサは、前記背凭れ内の背凭れフレームに対して、前記座部に向けた正面側からの電磁波の照射角度を調整可能な支持ブラケットを介して取り付けられたことを特徴とする請求項4に記載の座席濡れ検知装置。
【請求項6】
前記座部の濡れの判定は、前記反射部から反射され前記センサで受信した反射波の信号強度について、前記座部が乾燥状態のときのピークの数値と、前記座部が湿潤状態のときのピークの数値との比が、所定の閾値を超えるか否かによって行われることを特徴とする請求項1に記載の座席濡れ検知装置。
【請求項7】
前記座部の濡れの判定は、前記反射部から反射され前記センサで受信した反射波の信号強度を表すグラフにおいて、前記座部が乾燥状態のときの信号強度を表す2次曲線に囲まれた面積と、前記座部が湿潤状態のときの信号強度を表す2次曲線に囲まれた面積との比が、所定の閾値を超えるか否かによって行われることを特徴とする請求項1に記載の座席濡れ検知装置。
【請求項8】
前記座部の濡れの判定結果を表示する表示部を備えたことを特徴とする請求項1,2,3,4,5,6または7に記載の座席濡れ検知装置。
発明の詳細な説明
【技術分野】
【0001】
本発明は、座席における座部の濡れを検知するための座席濡れ検知装置に関する。
続きを表示(約 2,800 文字)
【背景技術】
【0002】
本件出願人は、特許文献1により、小型化が可能で座席への装着性に優れ、簡単な制御によって座席の濡れを正確に検知することができる座席濡れ検知装置を既に提案している。この座席濡れ検知装置は、座席に向けミリ波を送受信するミリ波センサと、座席の内部に配置されてミリ波センサからのミリ波を反射する反射部とを備え、反射部からの反射波の水分による信号強度の減衰度合いに基づき、座席の濡れを判定可能としたものであった。
【0003】
このような座席濡れ検知装置の具体的な実施形態として、ミリ波センサは、座席における座部の側方にある袖部に設けられ、その直ぐ下方に位置する座部の座面に向けて側方よりミリ波を照射するように配置されていた。また、ミリ波の照射範囲である座部の座面下には、反射部として、略矩形で小型の金属板が互いに異なる位置に複数配置されていた。
【先行技術文献】
【特許文献】
【0004】
特許7239647号公報
【発明の概要】
【発明が解決しようとする課題】
【0005】
前述した座席濡れ検知装置では、その具体的な実施形態に関して、新たに次のような問題を解決するための改良が望まれることになった。すなわち、ミリ波センサは、座部の座面の側方にある袖部に設けられ、座面に対して側方の近い位置からミリ波を照射する。そのため、座面上に対するミリ波の照射範囲は比較的狭く、反射部である金属板がミリ波センサの正面から少しでもずれると、反射強度が極端に減少して検知エリアがなおさら狭まるという問題があった。
【0006】
また、袖部におけるミリ波センサと座部との位置関係によれば、特に座面より前端側やや両側端側はミリ波の照射範囲の死角となりやすく、当該部位における濡れの検知は困難であった。さらに、反射部である金属板は、座部本来のフレーム等とは別に複数配置するため、部品点数および組付工数が増加してコストが嵩むという問題もあった。しかも、各金属板の角度が、ミリ波センサと正対する角度から少しでもずれると、前述したようにミリ波の反射強度が極端に弱くなるため、金属板の反射角度の調整が必要となり面倒であった。
【0007】
本発明は、以上のような従来技術が有する問題点に着目してなされたものであり、ミリ波を含む電磁波の照射範囲を、座部の座面全域に亘るように広く確保することが可能となり、座面における水漏れ検知が不能な死角を解消することができ、反射板の反射角度を調整する面倒な作業も不要となり、コスト高を招くことなく座部の濡れをいっそう広い範囲で簡易かつ正確に検知することができる座席濡れ検知装置を提供することを目的としている。
【課題を解決するための手段】
【0008】
前述した目的を達成するため、本発明の一態様は、
座席の濡れを検知するための座席濡れ検知装置であって、
座席の座部を下方に臨む高さに設けられ、正面側より相対する座部の座面に向けて電磁波を送信すると共に、該電磁波が反射されて返る反射波を正面側より受信するセンサと、
座部内で座面に平面視で重なるように設けられ、座部内の座部フレームを兼ねる反射部と、を備え、
前記反射部は、その上面側の全域に亘り前記センサから送信された電磁波を受け、前記センサに向けて反射可能であり、
前記センサにより受信した反射波の水分による信号強度の減衰度合いに基づき、座部の濡れを判定可能としたことを特徴とする。
【発明の効果】
【0009】
本発明に係る座席濡れ検知装置によれば、コスト高を招くことなく座席における座部の濡れをいっそう広い範囲で簡易かつ正確に検知することができる。
【図面の簡単な説明】
【0010】
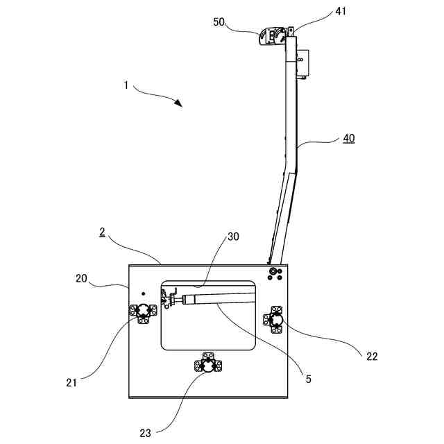
本実施形態に係る座席濡れ検知装置を適用する座席を示す斜視図である。
本実施形態に係る座席濡れ検知装置を適用する座席の内部構造を示す斜視図である。
本実施形態に係る座席濡れ検知装置を適用する座席の内部構造を示す正面図である。
本実施形態に係る座席濡れ検知装置を適用する座席の内部構造を示す平面図である。
本実施形態に係る座席濡れ検知装置を適用する座席の内部構造を示す側面図である。
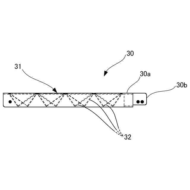
本実施形態に係る座席濡れ検知装置の反射部を兼ねる座部フレームを示す斜視図である。
本実施形態に係る座席濡れ検知装置の反射部を兼ねる座部フレームを示す平面図である。
本実施形態に係る座席濡れ検知装置の反射部を兼ねる座部フレームを示す側面図である。
本実施形態に係る座席濡れ検知装置の反射部を兼ねる座部フレームを示す底面図である。
本実施形態に係る座席濡れ検知装置の反射部をなすコーナーリフレクタを示す斜視図である。
本実施形態に係る座席濡れ検知装置の反射部をなすコーナーリフレクタのユニットを示す斜視図である。
本実施形態に係る座席濡れ検知装置の反射部をなすコーナーリフレクタのユニットを示す平面図である。
本実施形態に係る座席濡れ検知装置の反射部の支持ブラケットを示す側面図である。
本実施形態に係る座席濡れ検知装置の反射部の支持ブラケットを示す平面図である。
本実施形態に係る座席濡れ検知装置の反射部の支持ブラケットを示す正面図である。
本実施形態に係る座席濡れ検知装置を概略的に示すブロック図である。
本実施形態に係る座席濡れ検知装置のミリ波センサからのミリ波が、座席の乾燥状態と湿潤状態とにおいて変化する様子等を示す説明図である。
本実施形態に係る座席濡れ検知装置において座席の濡れを検知する方法の一例を示す説明図である。
本実施形態に係る座席濡れ検知装置において座席の濡れを検知した後の処理の一例を示すフローチャートである。
本実施形態の変形例1に係る座席濡れ検知装置を適用する座席の内部構造を示す斜視図である。
本実施形態の変形例1に係る座席濡れ検知装置を適用する座席の内部構造を示す平面図である。
本実施形態の変形例1に係る座席濡れ検知装置での反射波の信号強度をグラフ化して表示した一例を示す説明図である。
本実施形態の変形例2に係る座席濡れ検知装置を適用する座席の内部構造を示す斜視図である。
本実施形態の変形例2に係る座席濡れ検知装置を適用する座席の内部構造を示す平面図である。
本実施形態の変形例2に係る座席濡れ検知装置での反射波の信号強度をグラフ化して表示した一例を示す説明図である。
【発明を実施するための形態】
(【0011】以降は省略されています)
この特許をJ-PlatPat(特許庁公式サイト)で参照する
関連特許
コイト電工株式会社
車載装置
1か月前
個人
視触覚センサ
3日前
日本精機株式会社
検出装置
1か月前
個人
採尿及び採便具
1か月前
個人
高精度同時多点測定装置
1か月前
個人
計量機能付き容器
28日前
個人
アクセサリー型テスター
1か月前
日本精機株式会社
発光表示装置
11日前
甲神電機株式会社
電流検出装置
1か月前
株式会社カクマル
境界杭
18日前
株式会社ミツトヨ
測定器
1か月前
ユニパルス株式会社
トルク変換器
3日前
株式会社トプコン
測量装置
10日前
ユニパルス株式会社
トルク変換器
3日前
ユニパルス株式会社
トルク変換器
3日前
アズビル株式会社
電磁流量計
1か月前
大成建設株式会社
風洞実験装置
28日前
日本信号株式会社
距離画像センサ
1か月前
日本特殊陶業株式会社
ガスセンサ
3日前
双庸電子株式会社
誤配線検査装置
1か月前
長崎県
形状計測方法
1か月前
個人
計量具及び計量機能付き容器
28日前
日本特殊陶業株式会社
ガスセンサ
10日前
日本特殊陶業株式会社
ガスセンサ
4日前
愛知電機株式会社
軸部材の外観検査装置
1か月前
日本特殊陶業株式会社
ガスセンサ
26日前
ローム株式会社
半導体装置
1か月前
愛知時計電機株式会社
ガスメータ
1か月前
個人
システム、装置及び実験方法
1か月前
ローム株式会社
半導体装置
1か月前
個人
非接触による電磁パルスの測定方法
1か月前
大和製衡株式会社
組合せ計量装置
1か月前
大和製衡株式会社
組合せ計量装置
1か月前
株式会社デンソー
電流センサ
1か月前
日本特殊陶業株式会社
センサ
1か月前
株式会社タイガーカワシマ
揚穀装置
10日前
続きを見る
他の特許を見る