TOP
|
特許
|
意匠
|
商標
特許ウォッチ
Twitter
他の特許を見る
公開番号
2025144886
公報種別
公開特許公報(A)
公開日
2025-10-03
出願番号
2024044794
出願日
2024-03-21
発明の名称
重量測定装置
出願人
株式会社東芝
代理人
個人
,
個人
主分類
G01G
3/04 20060101AFI20250926BHJP(測定;試験)
要約
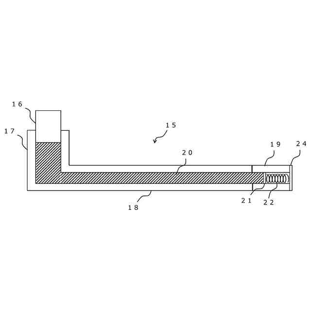
【課題】産業廃棄物の重量を確認するために、塵埃に強く、トンオーダーの重量を確認できる重量測定装置が必要である。
【解決手段】産業廃棄物の重量を測定する重量測定装置であって、地面に設置される土台となる下板と、前記下板の上部に設けられ、産業廃棄物を載置する上板と、前記下板と前記上板との間に設けられ、前記下板に対して前記上板が離間する方向に付勢された弾性体と、前記下板に設置され、内部に液体が封入されるとともに、前記液体の移動量が目視可能な可視部を有する液体封入容器と、前記液体封入容器内部を摺動可能に設けられ、前記上板に荷重がかかることで前記弾性体が縮小して、前記上板が前記下板の方向に移動することで、前記液体封入容器内部の液体を移動させるピストンとを備える。
【選択図】図1
特許請求の範囲
【請求項1】
産業廃棄物の重量を測定する重量測定装置であって、
地面に設置される土台となる下板と、
前記下板の上部に設けられ、産業廃棄物を載置する上板と、
前記下板と前記上板との間に設けられ、前記下板に対して前記上板が離間する方向に付勢された弾性体と、
前記下板に設置され、内部に液体が封入されるとともに、前記液体の移動量が目視可能な可視部を有する液体封入容器と、
前記液体封入容器の内部を摺動可能に設けられ、前記上板に荷重がかかることで前記弾性体が縮小して、前記上板が前記下板の方向に移動することで、前記液体封入容器の内部の液体を移動させるピストンと、
を備える重量測定装置。
続きを表示(約 730 文字)
【請求項2】
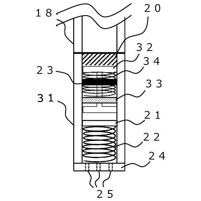
前記液体封入容器において、前記ピストンと反対側の端部の近傍に前記可視部が設けられ、前記可視部の内部を液体とともに移動可能な仕切板と、
前記仕切板と前記端部とに両端が固定された可視部弾性体と、
をさらに備えた請求項1に記載の重量測定装置。
【請求項3】
前記端部に、前記仕切板の移動に伴って内部の空気を排出する少なくとも1つの第1の小孔が設けられた、
請求項2に記載の重量測定装置。
【請求項4】
前記液体と前記仕切板との間で、前記可視部に固定され中心に第2の小孔が設けられた補強部と、
前記第2の小孔を摺動可能な棒の両端に前記可視部と摺動する摺動板を備え、片方の摺動板は前記液体と接している連結仕切板と、
前記補強部と前記液体と接している前記摺動板に両端が固定された補強部弾性体と、
をさらに備えた請求項3に記載の重量測定装置。
【請求項5】
前記可視部に、前記産業廃棄物の重量が設定された重量に到達したことを目視にて確認できる目安線が設けられた、
請求項1又は請求項4に記載の重量測定装置。
【請求項6】
前記上板と前記ピストンとが接触する際に、前記上板の中心と前記ピストンの中心とが重なるように前記液体封入容器が前記下板に設置された、
請求項1又は請求項4に記載の重量測定装置。
【請求項7】
前記ピストンの摺動による前記液体の移動量を前記可視部において増幅させるように前記ピストンの摺動部の断面積が、前記可視部の断面積よりも大きい、
請求項1又は請求項2に記載の重量測定装置。
発明の詳細な説明
【技術分野】
【0001】
本発明の実施形態は、重量測定装置に関する。
続きを表示(約 1,400 文字)
【背景技術】
【0002】
建設工事の施工過程においては、木くず、紙くず、鉄くず、コンクリートくず等の産業廃棄物が発生する。これらの産業廃棄物は各都道府県の条例、法令等に即して廃棄する必要がある。
【0003】
一般的に、これらの産業廃棄物は一定量が溜まると、まとめてトラックに載せて搬出されることが多い。そのため、工事現場にはこれらの産業廃棄物を一時的に留め置くためのごみ箱である、いわゆる産業廃棄物カゴ(以下、産廃カゴ)が設置される。工事期間中、現場敷地内の所定の場所に産廃カゴが設置され、産業廃棄物は集積される。また、産廃カゴは、現場の作業の邪魔にならないよう、作業現場の壁際などに複数隣り合って設置されることが多い。
【0004】
産廃カゴは、一般的に、5面の金属製のカゴであることが多く、ポリエチレンやポリプロピレンなどの合成繊維で作られた耐荷重1トン以上の袋(以下、トン袋)を産廃カゴ内部に設けて、袋の中に産業廃棄物を詰め込む。
【0005】
上述したように、産業廃棄物が一定量溜まると、トラックにて搬出される。このトラックは廃棄される産業廃棄物の重量に合わせて手配されることになるが、廃棄物の総重量を過小に見積もると、過積載となってトラックの再手配が必要となってしまう。逆に、積載量の大きすぎるトラックを手配すると、コスト面での無駄が大きくなってしまう。そのため、廃棄される産業廃棄物がどれだけの重量であるのか、トラック積載量の目安となるおおよそで良いので、トラック手配前に知る必要がある。
【先行技術文献】
【特許文献】
【0006】
特開2000―266587号公報
特開昭53-93058号公報
【発明の概要】
【発明が解決しようとする課題】
【0007】
トラック手配前に廃棄される産業廃棄物の重量を知るために、従来は例えば、産廃カゴに木材が入っているとすると、その木材の体積と密度の積算でおおよその重量を計算してトラックを手配している。この方法だと、実際の重量と計算した重量の誤差が大きくなりやすく、上述したような誤ったトラック手配が発生する可能性が高い。
【0008】
また、ここで、重量を測定するための装置として、以下のような測定装置がある。
【0009】
(1)特許文献1:「ロードセル式台はかり」
デジタル式の台秤は、ロードセルと呼ばれるひずみセンサを利用する。天板に荷重をかけると、天板の下部に配置されたロードセルの起歪体が歪む。ロードセルのひずみゲージから出力される電気信号の大きさは、起歪体の歪みに比例するため、電気信号を解析して重量を測定できる。
【0010】
(2)特許文献2:「平盤型体重計」
板に荷重をかけると、てこが沈降し、それに伴いレバーも沈降する。レバーが沈降すると、内部機構により、軸支を中心として回転レバーが回転運動するため、回転レバーの末端についた軸支の部分が左右に動く。軸支が左右に動くと、ラックも左右に動くため、歯車が回転する。この歯車と、重量が表示された円盤を連動させることで、重量を表示する。
(【0011】以降は省略されています)
この特許をJ-PlatPat(特許庁公式サイト)で参照する
関連特許
株式会社東芝
モータ
3日前
株式会社東芝
センサ
8日前
株式会社東芝
センサ
8日前
株式会社東芝
電子装置
2日前
株式会社東芝
吸音装置
3日前
株式会社東芝
金型構造
8日前
株式会社東芝
半導体装置
5日前
株式会社東芝
半導体装置
5日前
株式会社東芝
半導体装置
5日前
株式会社東芝
半導体装置
5日前
株式会社東芝
半導体装置
5日前
株式会社東芝
半導体装置
5日前
株式会社東芝
半導体装置
17日前
株式会社東芝
粒子加速器
2日前
株式会社東芝
半導体装置
5日前
株式会社東芝
半導体装置
15日前
株式会社東芝
走行システム
23日前
株式会社東芝
電子デバイス
3日前
株式会社東芝
ディスク装置
23日前
株式会社東芝
電子デバイス
3日前
株式会社東芝
熱電変換装置
3日前
株式会社東芝
電子デバイス
3日前
株式会社東芝
音響制御装置
1日前
株式会社東芝
海水用構造体
15日前
株式会社東芝
ディスク装置
5日前
株式会社東芝
ディスク装置
5日前
株式会社東芝
台車搬送装置
1日前
株式会社東芝
重量測定装置
1日前
株式会社東芝
開口部明示部材
16日前
株式会社東芝
アーク溶接方法
1日前
株式会社東芝
位置推定システム
15日前
株式会社東芝
磁気ディスク装置
24日前
株式会社東芝
磁気ディスク装置
3日前
株式会社東芝
磁気ディスク装置
2日前
株式会社東芝
磁気ディスク装置
2日前
株式会社東芝
磁気ディスク装置
16日前
続きを見る
他の特許を見る