TOP
|
特許
|
意匠
|
商標
特許ウォッチ
Twitter
他の特許を見る
公開番号
2025157948
公報種別
公開特許公報(A)
公開日
2025-10-16
出願番号
2024060327
出願日
2024-04-03
発明の名称
半導体装置
出願人
株式会社東芝
,
東芝デバイス&ストレージ株式会社
代理人
弁理士法人iX
主分類
H10D
30/66 20250101AFI20251008BHJP()
要約
【課題】反りを低減できる半導体装置を提供すること。
【解決手段】半導体装置は、第1電極と、第2電極と、第1方向に並ぶ複数のメサ部を有する半導体層と、第1方向においてメサ部に隣接し、第2方向に延びるゲート電極と、第1方向においてメサ部に隣接し、第2方向に延びる導電部材と、第1電極とメサ部とを電気的に接続する第1接続部と、第1電極と導電部材とを電気的に接続する第2接続部と、を備える。第1電極は、導電部材の上方に位置する第1開口部を有する。導電部材の上方において、第1開口部と第2接続部とが第2方向に沿って並ぶ。
【選択図】図2
特許請求の範囲
【請求項1】
第1電極と、
第2電極と、
前記第1電極と前記第2電極との間に設けられた半導体層であって、第1方向に並ぶ複数のメサ部を有する半導体層と、
前記第1電極と前記半導体層との間に設けられた絶縁層と、
前記第1方向において前記メサ部に隣接し、前記第1方向に直交する第2方向に延びるゲート電極と、
前記ゲート電極と前記メサ部との間に設けられた第1絶縁膜と、
前記第1方向において前記メサ部に隣接し、前記第2方向に延びる導電部材と、
前記導電部材と前記メサ部との間に設けられた第2絶縁膜と、
前記第1電極と前記メサ部との間に設けられ、前記第1電極と前記メサ部とを電気的に接続する第1接続部と、
前記第1電極と前記導電部材との間に設けられ、前記第1電極と前記導電部材とを電気的に接続する第2接続部と、
を備え、
前記第1電極は、前記導電部材の上方に位置する第1開口部を有し、
前記導電部材の上方において、前記第1開口部と前記第2接続部とが前記第2方向に沿って並ぶ、半導体装置。
続きを表示(約 1,400 文字)
【請求項2】
1つの前記導電部材の上方に、複数の前記第1開口部及び複数の前記第2接続部が配置され、
前記第1開口部と前記第2接続部とが、前記1つの導電部材の上方において前記第2方向に交互に並び、
前記第1方向において隣り合う2つの導電部材のうちの一方の導電部材の前記第1開口部の前記第2方向の位置と、前記2つの導電部材のうちの他方の導電部材の前記第1開口部の前記第2方向の位置とが、前記第2方向においてずれている、請求項1に記載の半導体装置。
【請求項3】
前記第1電極は、前記ゲート電極の上方に位置し、前記絶縁層に達する第2開口部を有する、請求項1または2に記載の半導体装置。
【請求項4】
複数の前記第2開口部が、前記ゲート電極の上方において前記第2方向に並んでいる、請求項3に記載の半導体装置。
【請求項5】
第1電極と、
第2電極と、
前記第1電極と前記第2電極との間に設けられた半導体層であって、第1方向に並ぶ複数のメサ部を有する半導体層と、
前記第1電極と前記半導体層との間に設けられた絶縁層と、
前記第1方向において前記メサ部に隣接し、前記第1方向に直交する第2方向に延びるゲート電極と、
前記ゲート電極と前記メサ部との間に設けられた第1絶縁膜と、
前記第1方向において前記メサ部に隣接し、前記第2方向に延びる導電部材と、
前記導電部材と前記メサ部との間に設けられた第2絶縁膜と、
前記第1電極と前記メサ部との間に設けられ、前記第1電極と前記メサ部とを電気的に接続する第1接続部と、
前記第1電極と前記導電部材との間に設けられ、前記第1電極と前記導電部材とを電気的に接続する第2接続部と、
を備え、
前記第1電極は、前記絶縁層上に設けられた第1層と、前記第1層上に設けられた第2層とを有し、
前記第1層は、第1部分と、前記第1部分よりも薄く、前記導電部材の上方に位置する第2部分とを有し、
前記第2層は、前記第2部分の上方に位置する凹部を有する、半導体装置。
【請求項6】
前記第2部分及び前記凹部は、前記第2方向に延びる、請求項5に記載の半導体装置。
【請求項7】
前記メサ部は、
第1導電型の第1半導体層と、
前記第1半導体層上に設けられた第2導電型の第2半導体層と、
前記第2半導体層上に設けられ、前記第1半導体層よりも第1導電型不純物濃度が高い第1導電型の第3半導体層と、
を有し、
前記第1接続部は、前記第3半導体層に接し、
前記ゲート電極の側面は、前記第1方向において、前記第1絶縁膜を介して前記第2半導体層に対向する、請求項1または5に記載の半導体装置。
【請求項8】
前記メサ部は、前記第2半導体層上に設けられ、前記第2半導体層よりも第2導電型不純物濃度が高い第2導電型の第4半導体層をさらに有し、
前記第1接続部は、前記第4半導体層に接する、請求項7に記載の半導体装置。
【請求項9】
前記半導体層は、前記第2電極と前記第1半導体層との間に設けられた第2導電型の第5半導体層をさらに有する、請求項7に記載の半導体装置。
【請求項10】
前記第1電極の前記第1開口部は、前記絶縁層に達する、請求項1に記載の半導体装置。
発明の詳細な説明
【技術分野】
【0001】
実施形態は、半導体装置に関する。
続きを表示(約 1,800 文字)
【背景技術】
【0002】
トレンチゲート構造の縦型パワーデバイスにおいて、ゲート電極として機能させないダミートレンチを設けた構成がある。
【先行技術文献】
【特許文献】
【0003】
特開2012-164851号公報
【発明の概要】
【発明が解決しようとする課題】
【0004】
実施形態は、反りを低減できる半導体装置を提供する。
【課題を解決するための手段】
【0005】
実施形態によれば、半導体装置は、第1電極と、第2電極と、前記第1電極と前記第2電極との間に設けられた半導体層であって、第1方向に並ぶ複数のメサ部を有する半導体層と、前記第1電極と前記半導体層との間に設けられた絶縁層と、前記第1方向において前記メサ部に隣接し、前記第1方向に直交する第2方向に延びるゲート電極と、前記ゲート電極と前記メサ部との間に設けられた第1絶縁膜と、前記第1方向において前記メサ部に隣接し、前記第2方向に延びる導電部材と、前記導電部材と前記メサ部との間に設けられた第2絶縁膜と、前記第1電極と前記メサ部との間に設けられ、前記第1電極と前記メサ部とを電気的に接続する第1接続部と、前記第1電極と前記導電部材との間に設けられ、前記第1電極と前記導電部材とを電気的に接続する第2接続部と、を備える。前記第1電極は、前記導電部材の上方に位置する第1開口部を有する。前記導電部材の上方において、前記第1開口部と前記第2接続部とが前記第2方向に沿って並ぶ。
【図面の簡単な説明】
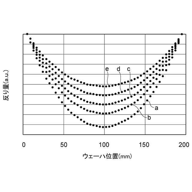
【0006】
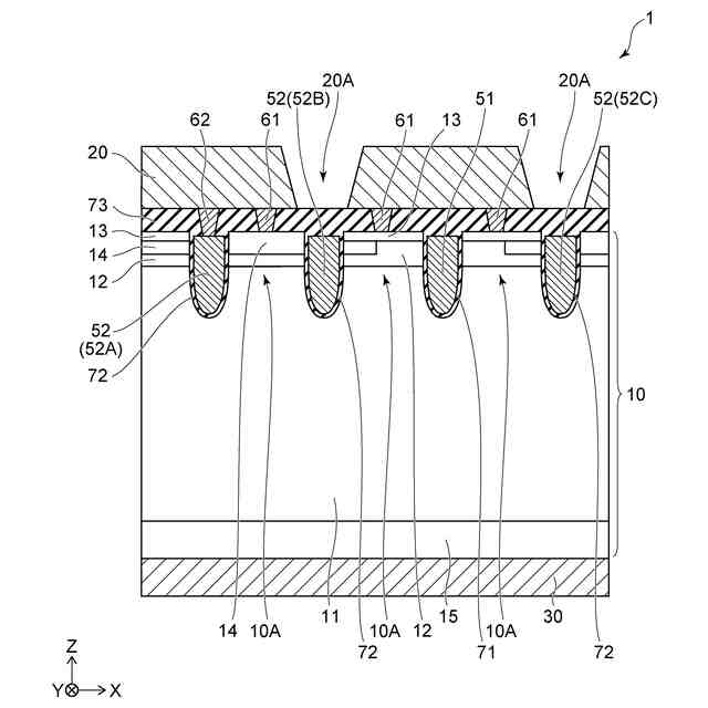
第1実施形態の半導体装置の模式平面図である。
図1におけるA-A線断面図である。
第2実施形態の半導体装置の模式平面図である。
図3におけるB-B線断面図である。
ウェーハの反り量のシミュレーション結果を示すグラフである。
【発明を実施するための形態】
【0007】
[第1実施形態]
図1及び図2を参照して、第1実施形態の半導体装置1について説明する。半導体装置1は、第1電極20と、第2電極30と、半導体層10とを有する。
【0008】
半導体装置1は、例えば、IGBT(Insulated Gate Bipolar Transistor)構造を有する。第1電極20はIGBTにおけるエミッタ電極であり、第2電極30はIGBTにおけるコレクタ電極である。例えば、第2電極30に正電位が与えられ、第1電極20にグランド電位が与えられる。後述するゲート電極51のゲート電圧が閾値電圧より高くされたオン状態において、半導体層10を通じて、第1電極20と第2電極30との間を縦方向(第3方向Z)に電流が流れる。第3方向Zにおいて、第2電極30から第1電極20に向かう方向を上または上方とし、第1電極20から第2電極30に向かう方向を下または下方とする。
【0009】
半導体層10は、第3方向Zにおいて、第1電極20と第2電極30との間に位置する。半導体層10は、第1方向Xに並び、第2方向Yに延びる複数のメサ部10Aを有する。第1方向X及び第2方向Yは、第3方向Zに垂直な面内で互いに直交する。半導体層10は、例えば、シリコン層である。半導体層10は、炭化シリコン層、または窒化ガリウム層であってもよい。本明細書では、半導体層10の導電型において、第1導電型をn型、第2導電型をp型として説明するが、第1導電型をp型、第2導電型をn型としてもよい。
【0010】
半導体層10は、n型の第1半導体層11と、第1半導体層11上に設けられたp型の第2半導体層12と、第2半導体層12上に設けられたn型の第3半導体層13とを有する。第3半導体層13のn型不純物濃度は、第1半導体層11のn型不純物濃度よりも高い。また、半導体層10は、第2電極30と第1半導体層11との間に設けられたp型の第5半導体層15を有する。第5半導体層15のp型不純物濃度は、第2半導体層12のp型不純物濃度よりも高い。第5半導体層15は、第2電極30に接し、第2電極30と電気的に接続されている。
(【0011】以降は省略されています)
この特許をJ-PlatPat(特許庁公式サイト)で参照する
関連特許
株式会社東芝
端子台
29日前
株式会社東芝
モータ
1か月前
株式会社東芝
センサ
2か月前
株式会社東芝
センサ
2か月前
株式会社東芝
センサ
3か月前
株式会社東芝
固定子
3か月前
株式会社東芝
電子装置
1か月前
株式会社東芝
電子回路
1か月前
株式会社東芝
金型構造
2か月前
株式会社東芝
吸音装置
1か月前
株式会社東芝
除去装置
22日前
株式会社東芝
電子装置
1か月前
株式会社東芝
ドア構造
3か月前
株式会社東芝
電動送風機
3か月前
株式会社東芝
半導体装置
2か月前
株式会社東芝
半導体装置
2か月前
株式会社東芝
半導体装置
2か月前
株式会社東芝
半導体装置
2か月前
株式会社東芝
半導体装置
2か月前
株式会社東芝
半導体装置
2か月前
株式会社東芝
真空バルブ
1か月前
株式会社東芝
半導体装置
2か月前
株式会社東芝
粒子加速器
1か月前
株式会社東芝
半導体装置
1か月前
株式会社東芝
半導体装置
1か月前
株式会社東芝
真空バルブ
1か月前
株式会社東芝
半導体装置
1か月前
株式会社東芝
高周波回路
1か月前
株式会社東芝
半導体装置
1か月前
株式会社東芝
半導体装置
1か月前
株式会社東芝
半導体装置
1か月前
株式会社東芝
半導体装置
今日
株式会社東芝
半導体装置
1か月前
株式会社東芝
半導体装置
1か月前
株式会社東芝
半導体装置
1か月前
株式会社東芝
半導体装置
1か月前
続きを見る
他の特許を見る