TOP
|
特許
|
意匠
|
商標
特許ウォッチ
Twitter
他の特許を見る
10個以上の画像は省略されています。
公開番号
2025140171
公報種別
公開特許公報(A)
公開日
2025-09-29
出願番号
2024039372
出願日
2024-03-13
発明の名称
半導体装置
出願人
株式会社東芝
,
東芝デバイス&ストレージ株式会社
代理人
弁理士法人iX
主分類
H10D
12/00 20250101AFI20250919BHJP()
要約
【課題】オン電圧と、ターンオフスイッチング損失を低減できる半導体装置の提供。
【解決手段】半導体部の第1面側領域は、第1絶縁膜を介して第1ゲート電極に対向する第2半導体層と、第1電極に接する第3半導体層とを有する。半導体部の第2面側領域は、第2絶縁膜を介して第2ゲート電極に対向する第4半導体層と、第2電極に接する第2導電型の第5半導体層と、第2電極に接する第1導電型の第6半導体層と、第4半導体層及び第5半導体層よりも第2導電型不純物濃度が低く、第2電極に接する第2導電型の第7半導体層とを有する。第2方向Xにおいて、第7半導体層は複数の第2ゲート電極の間に位置する。
【選択図】図1
特許請求の範囲
【請求項1】
第1電極と、
第2電極と、
第1方向において前記第1電極と前記第2電極との間に位置する半導体部であって、第1導電型の第1半導体層と、前記第1方向において前記第1電極と前記第1半導体層との間に位置する第1面側領域と、前記第1方向において前記第2電極と前記第1半導体層との間に位置する第2面側領域と、を有する半導体部と、
前記第1面側領域に対向する複数の第1ゲート電極と、
前記第1面側領域と前記複数の第1ゲート電極との間に設けられた複数の第1絶縁膜と、
前記第1方向において前記第2面側領域に対向する複数の第2ゲート電極と、
前記第2面側領域と前記複数の第2ゲート電極との間に設けられた複数の第2絶縁膜と、
を備え、
前記第1面側領域は、
前記第1絶縁膜を介して前記第1ゲート電極に対向する第2導電型の第2半導体層と、
前記第1半導体層よりも第1導電型不純物濃度が高く、前記第1電極に接する第1導電型の第3半導体層と、
を有し、
前記第2面側領域は、
前記第2絶縁膜を介して前記第2ゲート電極に対向する第2導電型の第4半導体層と、
前記第2半導体層及び前記第4半導体層よりも第2導電型不純物濃度が高く、前記第2電極に接する第2導電型の第5半導体層と、
前記第1半導体層よりも第1導電型不純物濃度が高く、前記第2電極に接する第1導電型の第6半導体層と、
前記第4半導体層及び前記第5半導体層よりも第2導電型不純物濃度が低く、前記第2電極に接する第2導電型の第7半導体層と、
を有し、
前記第1方向に直交する第2方向において、前記第7半導体層は前記複数の第2ゲート電極の間に位置する、半導体装置。
続きを表示(約 1,300 文字)
【請求項2】
前記第2面側領域は、前記第1半導体層と前記第4半導体層との間に位置し、前記第1半導体層よりも第1導電型不純物濃度が高い第1導電型の第8半導体層をさらに有する、請求項1に記載の半導体装置。
【請求項3】
前記第2方向において、前記第5半導体層は、前記第6半導体層と前記第7半導体層との間に位置する、請求項1に記載の半導体装置。
【請求項4】
第1電極と、
第2電極と、
第1方向において前記第1電極と前記第2電極との間に位置する半導体部であって、第1導電型の第1半導体層と、前記第1方向において前記第1電極と前記第1半導体層との間に位置する第1面側領域と、前記第1方向において前記第2電極と前記第1半導体層との間に位置する第2面側領域と、を有する半導体部と、
前記第1面側領域に対向する複数の第1ゲート電極と、
前記第1面側領域と前記複数の第1ゲート電極との間に設けられた複数の第1絶縁膜と、
前記第1方向において前記第2面側領域に対向する複数の第2ゲート電極と、
前記第2面側領域と前記複数の第2ゲート電極との間に設けられた複数の第2絶縁膜と、
を備え、
前記第1面側領域は、
前記第1絶縁膜を介して前記第1ゲート電極に対向する第2導電型の第2半導体層と、
前記第1半導体層よりも第1導電型不純物濃度が高く、前記第1電極に接する第1導電型の第3半導体層と、
を有し、
前記第2面側領域は、
第2導電型の第4半導体層と、
前記第2半導体層及び前記第4半導体層よりも第2導電型不純物濃度が高く、前記第2電極に接する第2導電型の第5半導体層と、
前記第1半導体層よりも第1導電型不純物濃度が高く、前記第2電極に接する第1導電型の第6半導体層と、
を有し、
前記第4半導体層は、
前記第2絶縁膜を介して前記第2ゲート電極に対向する第1部分と、
前記第1方向に直交する第2方向において、前記複数の第2ゲート電極の間に位置し、前記第2電極に接する第2部分と、
を有する、半導体装置。
【請求項5】
前記第2面側領域は、前記第1半導体層と前記第4半導体層との間に位置し、前記第1半導体層よりも第1導電型不純物濃度が高い第1導電型の第8半導体層をさらに有する、請求項4に記載の半導体装置。
【請求項6】
前記第2方向において、前記第5半導体層は、前記第6半導体層と、前記第4半導体層の前記第2部分との間に位置する、請求項4に記載の半導体装置。
【請求項7】
前記第1ゲート電極は、前記第1面側領域に形成されたトレンチ内に前記第1絶縁膜を介して設けられ、
前記第1ゲート電極は、前記第2方向において、前記第1絶縁膜を介して、前記第2半導体層に対向する、請求項1から6のいずれか1つに記載の半導体装置。
【請求項8】
前記第1面側領域は、前記第2方向において隣り合う前記第1ゲート電極間に位置し、前記第2半導体層よりも深い第2導電型の第9半導体層をさらに有する、請求項1から6のいずれか1つに記載の半導体装置。
発明の詳細な説明
【技術分野】
【0001】
本発明の実施形態は、半導体装置に関する。
続きを表示(約 1,900 文字)
【背景技術】
【0002】
半導体層の表面側及び裏面側にゲート電極を設けた両面ゲート構造のIGBT(Insulated Gate Bipolar Transistor)が提案されている。
【先行技術文献】
【特許文献】
【0003】
特開2022-49610号公報
【発明の概要】
【発明が解決しようとする課題】
【0004】
本発明の実施形態は、ターンオフスイッチング損失を低減できる半導体装置の提供を目的とする。
【課題を解決するための手段】
【0005】
本発明の実施形態によれば、半導体装置は、第1電極と、第2電極と、第1方向において前記第1電極と前記第2電極との間に位置する半導体部であって、第1導電型の第1半導体層と、前記第1方向において前記第1電極と前記第1半導体層との間に位置する第1面側領域と、前記第1方向において前記第2電極と前記第1半導体層との間に位置する第2面側領域と、を有する半導体部と、前記第1面側領域に対向する複数の第1ゲート電極と、前記第1面側領域と前記複数の第1ゲート電極との間に設けられた複数の第1絶縁膜と、前記第1方向において前記第2面側領域に対向する複数の第2ゲート電極と、前記第2面側領域と前記複数の第2ゲート電極との間に設けられた複数の第2絶縁膜と、を備える。前記第1面側領域は、前記第1絶縁膜を介して前記第1ゲート電極に対向する第2導電型の第2半導体層と、前記第1半導体層よりも第1導電型不純物濃度が高く、前記第1電極に接する第1導電型の第3半導体層と、を有する。前記第2面側領域は、前記第2絶縁膜を介して前記第2ゲート電極に対向する第2導電型の第4半導体層と、前記第2半導体層及び前記第4半導体層よりも第2導電型不純物濃度が高く、前記第2電極に接する第2導電型の第5半導体層と、前記第1半導体層よりも第1導電型不純物濃度が高く、前記第2電極に接する第1導電型の第6半導体層と、前記第4半導体層及び前記第5半導体層よりも第2導電型不純物濃度が低く、前記第2電極に接する第2導電型の第7半導体層と、を有する。前記第1方向に直交する第2方向において、前記第7半導体層は前記複数の第2ゲート電極の間に位置する。
【図面の簡単な説明】
【0006】
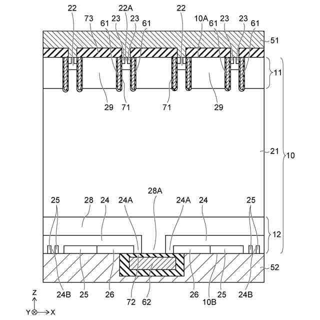
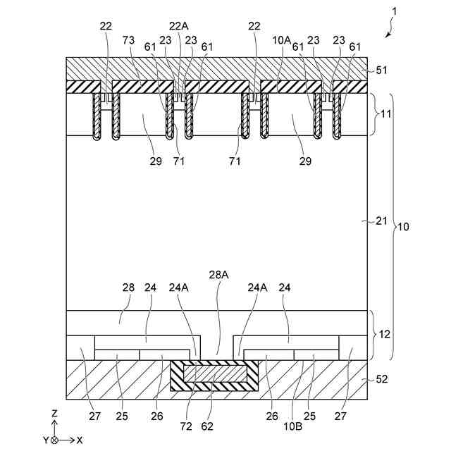
第1実施形態の半導体装置の模式断面図である。
第1実施形態の半導体装置における第2面側の模式平面図である。
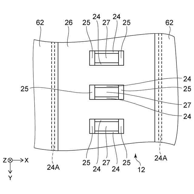
第1実施形態の半導体装置における第2面側の模式平面図である。
第1実施形態の半導体装置における第2面側の模式平面図である。
第1実施形態の半導体装置における第2面側の模式平面図である。
第1実施形態の変形例による半導体装置の模式断面図である。
第2実施形態の半導体装置の模式断面図である。
第2実施形態の変形例による半導体装置の模式断面図である。
シミュレーション結果を示すグラフである。
【発明を実施するための形態】
【0007】
以下に、各実施形態について図面を参照しつつ説明する。
図面は模式的または概念的なものであり、各部分の厚さと幅との関係、部分間の大きさの比率などは、必ずしも現実のものと同一とは限らない。同じ部分を表す場合であっても、図面により互いの寸法や比率が異なって表される場合もある。
また、同一または同様の要素には、同じ符号を付している。
【0008】
[第1実施形態]
図1は、第1実施形態の半導体装置1の模式断面図である。半導体装置1は、第1電極51と、第2電極52と、半導体部10と、複数の第1ゲート電極61と、複数の第1絶縁膜71と、複数の第2ゲート電極62と、複数の第2絶縁膜72とを備える。半導体装置1はIGBTであり、第1電極51はエミッタ電極であり、第2電極52はコレクタ電極である。
【0009】
半導体部10は、第1方向Zにおいて、第1電極51と第2電極52との間に位置する。第1方向Zに直交する2方向を第2方向X及び第3方向Yとする。第2方向Xと第3方向Yとは互いに直交する。
【0010】
半導体部10の材料は、例えば、シリコンである。または、半導体部10の材料として、炭化シリコン、窒化ガリウムなどを用いてもよい。また、本明細書において、半導体部10における第1導電型はn型、第2導電型はp型として説明する。なお、第1導電型はp型、第2導電型はn型であってもよい。
(【0011】以降は省略されています)
この特許をJ-PlatPat(特許庁公式サイト)で参照する
関連特許
株式会社東芝
端子台
21日前
株式会社東芝
電子装置
1か月前
株式会社東芝
除去装置
14日前
株式会社東芝
電子回路
1か月前
株式会社東芝
半導体装置
1か月前
株式会社東芝
半導体装置
1か月前
株式会社東芝
半導体装置
1か月前
株式会社東芝
真空バルブ
29日前
株式会社東芝
半導体装置
1か月前
株式会社東芝
半導体装置
1か月前
株式会社東芝
半導体装置
1か月前
株式会社東芝
半導体装置
1か月前
株式会社東芝
半導体装置
1か月前
株式会社東芝
半導体装置
1か月前
株式会社東芝
半導体装置
1か月前
株式会社東芝
高周波回路
1か月前
株式会社東芝
半導体装置
1か月前
株式会社東芝
真空バルブ
1か月前
株式会社東芝
半導体装置
1か月前
株式会社東芝
半導体装置
1か月前
株式会社東芝
半導体装置
1か月前
株式会社東芝
半導体装置
1か月前
株式会社東芝
補修システム
27日前
株式会社東芝
コントローラ
1か月前
株式会社東芝
ディスク装置
13日前
株式会社東芝
超電導コイル
1か月前
株式会社東芝
電気車制御装置
16日前
株式会社東芝
半導体集積回路
29日前
株式会社東芝
半導体スイッチ
28日前
株式会社東芝
パワーモジュール
6日前
株式会社東芝
パワーモジュール
6日前
株式会社東芝
磁気ディスク装置
1か月前
株式会社東芝
半導体装置の製造方法
1か月前
株式会社東芝
真空ダクト及び加速器
1か月前
株式会社東芝
半導体装置及びウエーハ
22日前
株式会社東芝
量子鍵配送ネットワーク
1か月前
続きを見る
他の特許を見る