TOP
|
特許
|
意匠
|
商標
特許ウォッチ
Twitter
他の特許を見る
10個以上の画像は省略されています。
公開番号
2025178884
公報種別
公開特許公報(A)
公開日
2025-12-09
出願番号
2024085742
出願日
2024-05-27
発明の名称
真空バルブ
出願人
株式会社東芝
代理人
弁理士法人スズエ国際特許事務所
主分類
H01H
33/664 20060101AFI20251202BHJP(基本的電気素子)
要約
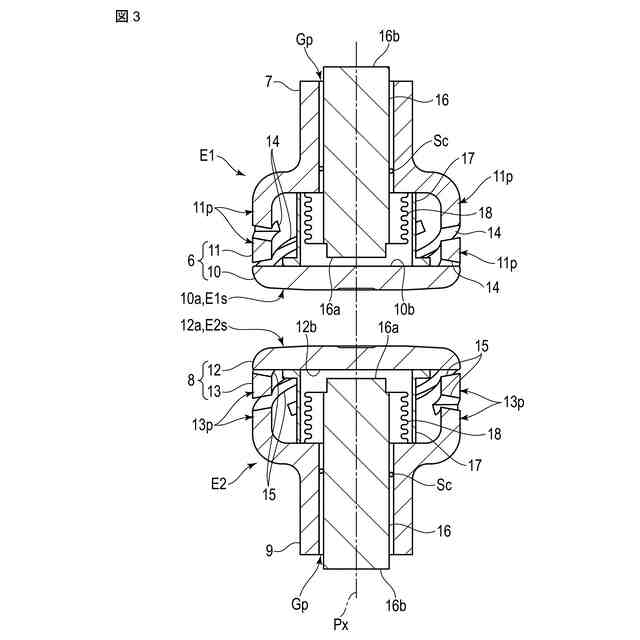
【課題】既存の電極の大きさやコイル部の形状を変えること無く、投入(通電)時における通電容量を一定に維持しつつ、開極(電流遮断)時における縦磁界を電極対向面の広範囲に亘って強く形成することが可能な真空バルブを提供する。
【解決手段】互いに離接可能に配置された一対の電極E1,E2を具備し、一対の電極は、それぞれ、離接可能に対向させて配置される導電性の接触子10,12と、接触子の外周縁に沿って設けられ、複数のスリット14,15によって螺旋状に分割された複数のコイル部11p,13pを有する中空円筒形状の導電性の通電体11,13と、いずれか一方或いは双方の通電体の内部に設けられ、接触子に対して離接可能に構成された導電性の内部通電軸16とを有し、内部通電軸は、一対の電極を互いに接触させる投入の際に接触子に接触させると共に、一対の電極を互いに離間させる開極の際に接触子から離間させる。
【選択図】図3
特許請求の範囲
【請求項1】
互いに離接可能に配置された一対の電極を具備し、
一対の前記電極は、それぞれ、
離接可能に対向させて配置される導電性の接触子と、
中空円筒形状の導電性の通電体と、
いずれか一方或いは双方の前記通電体の内部に設けられ、前記接触子に対して離接可能に構成された導電性の内部通電軸と、を有し、
前記内部通電軸は、一対の前記電極を互いに接触させる投入の際に前記接触子に接触させると共に、一対の前記電極を互いに離間させる開極の際に前記接触子から離間させる真空バルブ。
続きを表示(約 1,000 文字)
【請求項2】
前記通電体は、前記接触子の外周縁に沿って設けられ、複数のスリットによって螺旋状に分割された複数のコイル部を有している請求項1に記載の真空バルブ。
【請求項3】
前記内部通電軸は、一対の前記電極の離接方向に沿って延在し、その一端が前記接触子に対して離接可能に構成され、かつ、その他端が前記通電体を貫通させて構成され、
前記内部通電軸の前記一端は、前記接触子に対して隙間無く面状に接触可能な輪郭形状を有して構成されている請求項1に記載の真空バルブ。
【請求項4】
前記内部通電軸は、前記接触子に対する離接動作中、常に、前記コイル部から離間しつつ互いに並列した位置関係が維持されるように配置されている請求項2に記載の真空バルブ。
【請求項5】
前記内部通電軸は、前記開極の際、一対の前記電極を互いに離間させる前に、前記接触子から離間させる請求項1に記載の真空バルブ。
【請求項6】
前記投入の直後に前記開極の要求がされる場合に対応するように、前記内部通電軸は、一対の前記電極を互いに接触させた後に、前記接触子に接触させる請求項1に記載の真空バルブ。
【請求項7】
前記内部通電軸には、一対の前記電極の離接方向を横断する方向に沿って連続的又は断続的に突出させたリンク構造が設けられ、
前記開極の際に前記接触子から離間させた前記内部通電軸と共に移動した前記リンク構造が前記通電体に接触して、前記リンク構造から前記通電体に押圧力が作用することで、一対の前記電極を互いに離間させる請求項5に記載の真空バルブ。
【請求項8】
前記リンク構造は、常に一定の輪郭形状を維持可能な剛性を有して構成されている請求項7に記載の真空バルブ。
【請求項9】
前記内部通電軸の通電抵抗は、前記コイル部の通電抵抗と同一の通電抵抗、或いは、前記コイル部の通電抵抗よりも大きい通電抵抗、或いは、前記コイル部の通電抵抗よりも小さい通電抵抗のいずれかに設定可能に構成されている請求項2に記載の真空バルブ。
【請求項10】
一対の前記電極の離接方向を横断する方向で見て、前記内部通電軸の断面積は、前記コイル部の断面積よりも広くに設定されている請求項1に記載の真空バルブ。
(【請求項11】以降は省略されています)
発明の詳細な説明
【技術分野】
【0001】
この発明の実施形態は、真空バルブに関する。
続きを表示(約 1,600 文字)
【背景技術】
【0002】
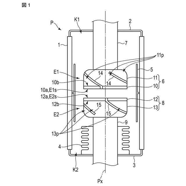
ビルや大型施設に設けられる受配電用の開閉装置として、例えば、遮断器や断路器などの開閉器を具備したスイッチギヤが知られている。スイッチギヤには、開閉器の構成要素として真空バルブが適用されている。真空バルブの内部は、絶縁容器によって一定の絶縁状態に維持され、この絶縁容器の内部に一対の電極が離接可能に収容されている。この場合、一対の電極を離接操作することで、事故電流の遮断や負荷電流の開閉が行われ、スイッチギヤから電力が安定して供給される。
【先行技術文献】
【特許文献】
【0003】
特願2010-251728号公報
特願2022-134873号公報
特開平9-147699号公報
特開昭60-007026号公報
国際公開第2016/152147号
【発明の概要】
【発明が解決しようとする課題】
【0004】
ところで、投入(通電)状態から電流遮断状態に移行する際に、一対の電極を離間(即ち、真空バルブを開極)させたとき、電極相互間に発生したアーク放電(以下、アークと言う)がピンチ効果によって局所的に集中し、これにより、電極相互の対向面(以下、電極対向面と言う)が局所的に加熱されて表面温度が上昇する場合がある。
【0005】
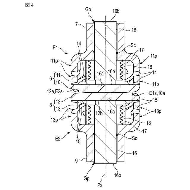
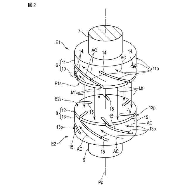
このような局所的な熱負荷を軽減する方策としては、縦磁界電極(スリット電極とも言う)を具備した真空バルブが知られている。縦磁界電極は、螺旋状に延在するスリットが周方向に沿って等間隔に配置された中空円筒形状の通電体を有し、各スリットは、当該通電体を貫通させて構成されている。
【0006】
これにより、中空円筒形状の通電体は、複数のスリットによって螺旋状に分割された複数のコイル部を有して構成されている。これら複数のコイル部は、それぞれ、螺旋状の輪郭形状を成し、周方向に沿って等間隔に配置され、通電可能に構成されている。
【0007】
このような縦磁界電極によれば、一対の電極を離間させた電流遮断時(即ち、真空バルブの開極時)に、交流の電流が、スリットを避けるようにコイル部に沿って周方向に流れる。このとき、電極相互間に縦磁界が形成される。縦磁界では、例えば、真空バルブの中心を規定する仮想軸線と平行な方向、換言すると、アークと平行な方向に磁力線が発生する。
【0008】
アークを構成する荷電粒子は、縦磁界を構成する磁力線に巻き付く(拘束される)特性を有している。このため、この縦磁界を電極対向面の広範囲に亘って強く形成できれば、アークを広範囲に分散させることが可能となる。これにより、電極対向面の局所的な熱負荷を軽減させることができる。
【0009】
縦磁界を電極対向面の広範囲に亘って形成する方法としては、例えば、電極対向面を拡げるように電極の大きさ(例えば、直径)を拡大する方法、或いは、既存の電極の大きさ(直径)を変えること無く、磁力線を電極対向面の外周縁に沿って発生させるように中空円筒形状の通電体の厚さを薄くする(即ち、通電体を細長く設定する)方法などが想定される。更に、縦磁界を強く形成する方法としては、例えば、スリットを水平に近づけ、かつ長く設定する(即ち、通電体を長く設定する)方法などが想定される。
【0010】
しかしながら、電極の大きさ(例えば、直径)を拡大することは、真空バルブの内部構造上、一定の限界(制限)がある。一方、通電体の厚さを薄くすると、その分だけコイル部の断面積(即ち、通電容量)が小さくなり、通電体を長くすると、通電抵抗が増加するため、一対の電極を接触させた投入(通電)時における通電容量が減少してしまう。
(【0011】以降は省略されています)
この特許をJ-PlatPat(特許庁公式サイト)で参照する
関連特許
株式会社東芝
端子台
1か月前
株式会社東芝
モータ
2か月前
株式会社東芝
電子源
4日前
株式会社東芝
除去装置
1か月前
株式会社東芝
電子装置
2か月前
株式会社東芝
吸音装置
2か月前
株式会社東芝
電子回路
1か月前
株式会社東芝
電子装置
1か月前
株式会社東芝
半導体装置
1か月前
株式会社東芝
半導体装置
2か月前
株式会社東芝
半導体装置
2か月前
株式会社東芝
半導体装置
19日前
株式会社東芝
半導体装置
1か月前
株式会社東芝
半導体装置
11日前
株式会社東芝
半導体装置
1か月前
株式会社東芝
真空バルブ
今日
株式会社東芝
半導体装置
2か月前
株式会社東芝
半導体装置
1か月前
株式会社東芝
半導体装置
1か月前
株式会社東芝
真空バルブ
1か月前
株式会社東芝
半導体装置
1か月前
株式会社東芝
半導体装置
2か月前
株式会社東芝
半導体装置
1か月前
株式会社東芝
半導体装置
1か月前
株式会社東芝
半導体装置
1か月前
株式会社東芝
真空バルブ
1か月前
株式会社東芝
半導体装置
1か月前
株式会社東芝
半導体装置
1か月前
株式会社東芝
高周波回路
1か月前
株式会社東芝
半導体装置
1か月前
株式会社東芝
半導体装置
1か月前
株式会社東芝
半導体装置
2か月前
株式会社東芝
半導体装置
1か月前
株式会社東芝
半導体装置
2か月前
株式会社東芝
半導体装置
4日前
株式会社東芝
半導体装置
1か月前
続きを見る
他の特許を見る