TOP
|
特許
|
意匠
|
商標
特許ウォッチ
Twitter
他の特許を見る
公開番号
2025139351
公報種別
公開特許公報(A)
公開日
2025-09-26
出願番号
2024038241
出願日
2024-03-12
発明の名称
センサ
出願人
株式会社東芝
代理人
弁理士法人iX
主分類
G01N
27/04 20060101AFI20250918BHJP(測定;試験)
要約
【課題】特性の向上が可能なセンサを提供する。
【解決手段】実施形態によれば、センサは、センサ素子を含む。センサ素子は、第1検出部を含む第1素子と、第2検出部を含む第2素子と、を含む。第1検出部は、第1抵抗部材及び第1導電部材を含む。第2検出部は、第2抵抗部材を含む。第1導電部材に第1電力が供給されたときの第1抵抗部材の第2温度は、第1温度よりも高い。第2差は、第1差よりも小さい。第1差は、第1温度における第1抵抗部材の第1電気抵抗の温度に対する第1変化率と、第1温度における第2抵抗部材の第2電気抵抗の温度に対する第2変化率と、の差の絶対値である。第2差は、第2温度における第1抵抗部材の第1電気抵抗の温度に対する第2温度状態変化率と、第2変化率と、の差の絶対値である。
【選択図】図1
特許請求の範囲
【請求項1】
第1検出部を含む第1素子と、
第2検出部を含む第2素子と、
を含むセンサ素子を備え、
前記第1検出部は、第1抵抗部材及び第1導電部材を含み、
前記第2検出部は、第2抵抗部材を含み、
前記第1導電部材に第1電力が供給されたときの前記第1抵抗部材の第2温度は、第1温度よりも高く、
第2差は、第1差よりも小さく、
前記第1差は、前記第1温度における前記第1抵抗部材の第1電気抵抗の温度に対する第1変化率と、前記第1温度における前記第2抵抗部材の第2電気抵抗の温度に対する第2変化率と、の差の絶対値であり、
前記第2差は、前記第2温度における前記第1抵抗部材の前記第1電気抵抗の温度に対する第2温度状態変化率と、前記第2変化率と、の差の絶対値である、センサ。
続きを表示(約 2,200 文字)
【請求項2】
前記第1温度における前記第1抵抗部材の第1電気抵抗値は、前記第1温度における前記第2抵抗部材の第2電気抵抗値と異なる、請求項1に記載のセンサ。
【請求項3】
前記第2電気抵抗値は、前記第1電気抵抗値よりも低い、請求項2に記載のセンサ。
【請求項4】
制御部をさらに備え、
前記制御部は、第1動作を実施するよう構成され、
前記第1動作において、前記制御部は、前記第1導電部材に前記第1電力を供給し、
前記第1動作において、前記制御部は、前記第1動作における前記第1抵抗部材の前記第1電気抵抗の第1検出値と、前記第1動作における前記第2抵抗部材の前記第2電気抵抗の第2検出値と、の差を検出するよう構成され、
前記第1検出値は、前記第1検出部の周囲の検出対象に応じている、請求項1~3のいずれか1つに記載のセンサ。
【請求項5】
前記第1抵抗部材及び前記第2抵抗部材は、第1条件、第2条件、及び、第3条件の少なくともいずれかを満たし、
前記第1条件において、前記第1抵抗部材の第1長は、前記第2抵抗部材の第2長と異なり、
前記第2条件において、前記第1抵抗部材の第1幅は、前記第2抵抗部材の第2幅と異なり、
前記第3条件において、前記第1抵抗部材の第1厚は、前記第2抵抗部材の第2厚と異なる、請求項1に記載のセンサ。
【請求項6】
前記センサ素子は、第3検出部を含む第3素子をさらに含み、
前記第3検出部は、第3抵抗部材を含み、
前記第1導電部材に第2電力が供給されたときの前記第1抵抗部材の第3温度は、前記第1温度よりも高く、
第4差は、第3差よりも小さく、
前記第3差は、前記第1変化率と、前記第1温度における前記第3抵抗部材の第3電気抵抗の温度に対する第3変化率と、の差の絶対値であり、
前記第4差は、前記第3温度における前記第1抵抗部材の前記第1電気抵抗の温度に対する第3温度状態変化率と、前記第3変化率と、の差の絶対値である、請求項1に記載のセンサ。
【請求項7】
前記第1温度における前記第1抵抗部材の第1電気抵抗値は、前記第1温度における前記第2抵抗部材の第2電気抵抗値と異なり、
前記第1電気抵抗値は、前記第1温度における前記第3抵抗部材の第3電気抵抗値と異なり、
前記第2電気抵抗値は、前記第3電気抵抗値と異なる、請求項6に記載のセンサ。
【請求項8】
制御部をさらに備え、
前記制御部は、第1動作及び第2動作の少なくともいずれかを実施するよう構成され、
前記第1動作において、前記制御部は、前記第1導電部材に前記第1電力を供給し、
前記第1動作において、前記制御部は、前記第1動作における前記第1抵抗部材の前記第1電気抵抗の第1検出値と、前記第1動作における前記第2抵抗部材の前記第2電気抵抗の第2検出値と、の差を検出し、
前記第1検出値は、前記第1検出部の周囲の検出対象に応じ、
前記第2動作において、前記制御部は、前記第1導電部材に前記第2電力を供給し、
前記第2動作において、前記制御部は、前記第2動作における前記第1抵抗部材の前記第1電気抵抗の前記第1検出値と、前記第2動作における前記第3抵抗部材の前記第3電気抵抗の第3検出値と、の差を検出する、請求項6または7に記載のセンサ。
【請求項9】
制御部をさらに備え、
複数の前記センサ素子が設けられ、
前記制御部は、第1検出動作及び第2検出動作を実施するよう構成され、
前記第1検出動作において、前記制御部は、前記複数のセンサ素子の1つに含まれる前記第1導電部材に前記第1検出動作における前記第1電力を供給して、前記複数のセンサ素子の前記1つに含まれる前記第1抵抗部材の電気抵抗と、前記複数のセンサ素子の前記1つに含まれる前記第2抵抗部材の電気抵抗と、の差に対応する第1値を検出し、
前記第2検出動作において、前記制御部は、前記複数のセンサ素子の別の1つに含まれる前記第1導電部材に前記第2検出動作における前記第1電力を供給して、前記複数のセンサ素子の前記別の1つに含まれる前記第1抵抗部材の電気抵抗と、前記複数のセンサ素子の前記別の1つに含まれる前記第2抵抗部材の電気抵抗と、の差に対応する第2値を検出する、請求項1に記載のセンサ。
【請求項10】
前記第1素子は、
第1基体領域と、
前記第1基体領域の一部に固定された第1固定部と、
前記第1固定部に支持され、前記第1検出部を支持する第1支持部と、
を含み、
前記第1基体領域の別の一部と前記第1検出部との間に第1間隙が設けられ、
前記第2素子は、
第2基体領域と、
前記第2基体領域の一部に固定された第2固定部と、
前記第2固定部に支持され、前記第2検出部を支持する第2支持部と、
を含み、
前記第2基体領域の別の一部と前記第2検出部との間に第2間隙が設けられた、請求項1に記載のセンサ。
発明の詳細な説明
【技術分野】
【0001】
本発明の実施形態は、センサに関する。
続きを表示(約 1,600 文字)
【背景技術】
【0002】
例えば、MEMS(Micro Electro Mechanical Systems)素子などを用いたセンサがある。センサにおいて、特性の向上が望まれる。
【先行技術文献】
【特許文献】
【0003】
特開2016-75597号公報
【発明の概要】
【発明が解決しようとする課題】
【0004】
実施形態は、特性の向上が可能なセンサを提供する。
【課題を解決するための手段】
【0005】
実施形態によれば、センサは、センサ素子を含む。前記センサ素子は、第1検出部を含む第1素子と、第2検出部を含む第2素子と、を含む。前記第1検出部は、第1抵抗部材及び第1導電部材を含む。前記第2検出部は、第2抵抗部材を含む。前記第1導電部材に第1電力が供給されたときの前記第1抵抗部材の第2温度は、第1温度よりも高い。第2差は、第1差よりも小さい。前記第1差は、前記第1温度における前記第1抵抗部材の第1電気抵抗の温度に対する第1変化率と、前記第1温度における前記第2抵抗部材の第2電気抵抗の温度に対する第2変化率と、の差の絶対値である。前記第2差は、前記第2温度における前記第1抵抗部材の前記第1電気抵抗の温度に対する第2温度状態変化率と、前記第2変化率と、の差の絶対値である。
【図面の簡単な説明】
【0006】
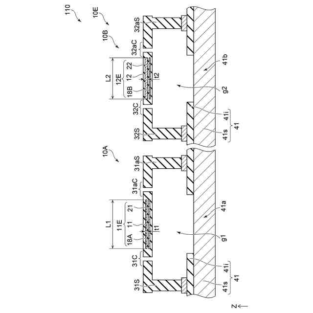
図1は、第1実施形態に係るセンサを例示する模式的断面図である。
図2(a)及び図2(b)は、第1実施形態に係るセンサを例示する模式的平面図である。
図3(a)及び図3(b)は、第1実施形態に係るセンサを例示する模式的平面図である。
図4は、第2実施形態に係るセンサを例示する模式的断面図である。
図5(a)及び図5(b)は、第2実施形態に係るセンサの一部を例示する模式的平面図である。
図6は、第3実施形態に係るセンサを例示する模式的断面図である。
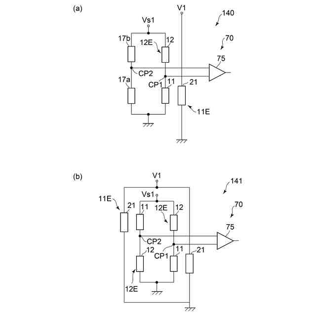
図7(a)及び図7(b)は、実施形態に係るセンサを例示する模式図である。
【発明を実施するための形態】
【0007】
以下に、本発明の各実施の形態について図面を参照しつつ説明する。
図面は模式的または概念的なものであり、各部分の厚さと幅との関係、部分間の大きさの比率などは、必ずしも現実のものと同一とは限らない。同じ部分を表す場合であっても、図面により互いの寸法や比率が異なって表される場合もある。
本願明細書と各図において、既出の図に関して前述したものと同様の要素には同一の符号を付して詳細な説明は適宜省略する。
【0008】
(第1実施形態)
図1は、第1実施形態に係るセンサを例示する模式的断面図である。
図2(a)、図2(b)、図3(a)及び図3(b)は、第1実施形態に係るセンサを例示する模式的平面図である。
図1に示すように、実施形態に係るセンサ110は、センサ素子10Eを含む。センサ素子10Eは、第1素子10A、及び、第2素子10Bを含む。第1素子10Aは、第1検出部11Eを含む。第2素子10Bは、第2検出部12Eを含む。
【0009】
第1検出部11Eは、第1抵抗部材11及び第1導電部材21を含む。第2検出部12Eは、第2抵抗部材12を含む。第2検出部12Eは、第2導電部材22を含んでも良い。
【0010】
図2(a)は、第1導電部材21を含む平面における平面図である。図2(b)は、第1抵抗部材11を含む平面における平面図である。図3(a)は、第2導電部材22を含む平面における平面図である。図3(b)は、第2抵抗部材12を含む平面における平面図である。
(【0011】以降は省略されています)
この特許をJ-PlatPat(特許庁公式サイト)で参照する
関連特許
株式会社東芝
端子台
1か月前
株式会社東芝
センサ
2か月前
株式会社東芝
センサ
2か月前
株式会社東芝
モータ
2か月前
株式会社東芝
除去装置
25日前
株式会社東芝
電子回路
1か月前
株式会社東芝
吸音装置
2か月前
株式会社東芝
電子装置
2か月前
株式会社東芝
電子装置
1か月前
株式会社東芝
金型構造
2か月前
株式会社東芝
半導体装置
2か月前
株式会社東芝
半導体装置
1か月前
株式会社東芝
半導体装置
1か月前
株式会社東芝
半導体装置
1か月前
株式会社東芝
半導体装置
2か月前
株式会社東芝
半導体装置
1か月前
株式会社東芝
半導体装置
1か月前
株式会社東芝
半導体装置
1か月前
株式会社東芝
半導体装置
1か月前
株式会社東芝
半導体装置
2か月前
株式会社東芝
高周波回路
1か月前
株式会社東芝
半導体装置
1か月前
株式会社東芝
半導体装置
1か月前
株式会社東芝
真空バルブ
1か月前
株式会社東芝
半導体装置
2か月前
株式会社東芝
真空バルブ
1か月前
株式会社東芝
半導体装置
1か月前
株式会社東芝
半導体装置
2か月前
株式会社東芝
半導体装置
3日前
株式会社東芝
半導体装置
1か月前
株式会社東芝
半導体装置
11日前
株式会社東芝
半導体装置
1か月前
株式会社東芝
半導体装置
2か月前
株式会社東芝
半導体装置
1か月前
株式会社東芝
半導体装置
1か月前
株式会社東芝
半導体装置
1か月前
続きを見る
他の特許を見る