TOP
|
特許
|
意匠
|
商標
特許ウォッチ
Twitter
他の特許を見る
公開番号
2025144497
公報種別
公開特許公報(A)
公開日
2025-10-02
出願番号
2024170208
出願日
2024-09-30
発明の名称
磁気センサ回路
出願人
エイブリック株式会社
代理人
主分類
G01R
33/07 20060101AFI20250925BHJP(測定;試験)
要約
【課題】消費電流を低減しながら温度によるホール素子の同相出力電圧の変化を抑制するとともに磁気検出精度を高めることができる磁気センサ回路の提供。
【解決手段】磁気センサ回路100は、ホール電圧VH及びオフセット電圧VHosを出力するホール素子111と、ホール電圧VHを交流成分、オフセット電圧VHosを直流成分にするスイッチ部120と、交流成分のホール電圧VHを通過させ、直流成分のオフセット電圧VHosを遮断するとともに、同相電圧V2Cを所定の同相電圧V3Cに設定できる第1のDCカットフィルタ130と、ホール電圧VHにオフセット電圧VAMPosを加えた電圧を増幅する増幅回路140と、交流成分のホール電圧VHを復調し、直流成分のオフセット電圧VAMPosを変調する復調回路150と、直流成分のホール電圧VHを通過させ、交流成分のオフセット電圧VAMPosを遮断するローパスフィルタ160とを有する。
【選択図】図1
特許請求の範囲
【請求項1】
駆動回路により駆動電流が流され、ホール電圧及び第1のオフセット電圧を出力するホール素子と、
クロック信号に基づき、前記駆動電流を流す極性を変え、前記ホール電圧を直流成分にして、前記第1のオフセット電圧を交流成分にして出力するスピニング回路と、
前記クロック信号に基づき、前記スピニング回路から出力される差動電圧において、前記ホール電圧を交流成分にし、前記第1のオフセット電圧を直流成分にする変調回路と、
前記変調回路から出力される差動電圧において、交流成分の前記ホール電圧を通過させ、直流成分の前記第1のオフセット電圧を遮断するとともに、前記変調回路からの同相電圧を所定の同相電圧に設定できる第1のDCカットフィルタと、
前記第1のDCカットフィルタから出力される差動電圧において、交流成分の前記ホール電圧に直流成分の第2のオフセット電圧を加えた電圧を増幅する増幅回路と、
前記増幅回路から出力される差動電圧において、交流成分の前記ホール電圧を復調して直流成分にし、直流成分の前記第2のオフセット電圧を変調して交流成分にする復調回路と、
前記復調回路から出力される差動電圧において、直流成分の前記ホール電圧を通過させ、交流成分の前記第2のオフセット電圧を遮断するローパスフィルタと、
を有することを特徴とする磁気センサ回路。
続きを表示(約 120 文字)
【請求項2】
前記駆動回路は、カレントミラー回路を用いた定電流源である請求項1に記載の磁気センサ回路。
【請求項3】
前記増幅回路と前記復調回路の間に第2のDCカットフィルタが接続されている請求項1に記載の磁気センサ回路。
発明の詳細な説明
【技術分野】
【0001】
本発明は、磁気センサ回路に関する。
続きを表示(約 1,800 文字)
【背景技術】
【0002】
磁気を電圧に変換する磁電変換方法はさまざまな種類があるが、半導体装置における代表的なものとしてホール素子がある。
【0003】
ホール素子は、ホール効果を利用しており、印加された磁界の強さに比例した差動電圧を出力する磁電変換素子である。このホール素子を用いて磁気センサとして動作させるために、例えば、駆動回路、増幅回路などの周辺回路がホール素子に接続される。
駆動回路は、定電流源又は定電圧源を備えており、ホール素子に定電流又は定電圧を印加して駆動電流を流す。また、ホール素子から出力されるホール電圧は非常に小さいことから、ホール素子の後段には増幅回路が接続される。
【0004】
このような周辺回路においても、高精度で磁気検出を行うために様々な提案がなされている。たとえば、オペアンプを用いてホール素子電圧を制御し、ホール素子の同相出力電圧の温度変化を抑制する駆動回路が提案されている(特許文献1参照)。
【先行技術文献】
【特許文献】
【0005】
特開2000-97972号公報
【発明の概要】
【発明が解決しようとする課題】
【0006】
本発明の一つの側面では、消費電流を低減しながら温度によるホール素子の同相出力電圧の変化を抑制するとともに磁気検出精度を高めることができる磁気センサ回路を提供することを目的とする。
【課題を解決するための手段】
【0007】
本発明の一実施形態における磁気センサ回路は、
駆動回路により駆動電流が流され、ホール電圧及び第1のオフセット電圧を出力するホール素子と、
クロック信号に基づき、前記駆動電流を流す極性を変え、前記ホール電圧を直流成分にして、前記第1のオフセット電圧を交流成分にして出力するスピニング回路と、
前記クロック信号に基づき、前記スピニング回路から出力される差動電圧において、前記ホール電圧を交流成分にし、前記第1のオフセット電圧を直流成分にする変調回路と、
前記変調回路から出力される差動電圧において、交流成分の前記ホール電圧を通過させ、直流成分の前記第1のオフセット電圧を遮断するとともに、前記変調回路からの同相電圧を所定の同相電圧に設定できる第1のDCカットフィルタと、
前記第1のDCカットフィルタから出力される差動電圧において、交流成分の前記ホール電圧に直流成分の第2のオフセット電圧を加えた電圧を増幅する増幅回路と、
前記増幅回路から出力される差動電圧において、交流成分の前記ホール電圧を復調して直流成分にし、直流成分の前記第2のオフセット電圧を変調して交流成分にする復調回路と、
前記復調回路から出力される差動電圧において、直流成分の前記ホール電圧を通過させ、交流成分の前記第2のオフセット電圧を遮断するローパスフィルタと、
を有する。
【発明の効果】
【0008】
本発明の一つの側面によれば、消費電流を低減しながら温度によるホール素子の同相出力電圧の変化を抑制するとともに磁気検出精度を高めることができる磁気センサ回路を提供することができる。
【図面の簡単な説明】
【0009】
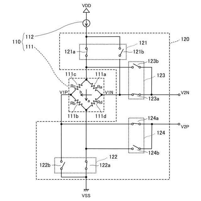
図1は、本発明の実施形態の一例における磁気センサ回路を示すブロック図である。
図2は、図1に示すホールセンサ部及び変調回路を示す回路図である。
図3は、図1で示した実施形態の一例の変形例における磁気センサ回路を示すブロック図である。
【発明を実施するための形態】
【0010】
本発明は、特許文献1のようなオペアンプを用いた駆動回路では、各種オフセット電圧(不平衡電圧)を除去するために高速スイッチングを行うと、オペアンプに即応性が求められ消費電流が大きくなる、という知見に基づく。特許文献1のような駆動回路でホール素子の同相電圧の温度変化を抑制することができると思われるが、ホール素子に接続されている駆動回路にオペアンプを用いる場合、オペアンプは瞬間的な電圧変動に応答する必要があり、オペアンプには大きな消費電流が必要となる。
(【0011】以降は省略されています)
この特許をJ-PlatPat(特許庁公式サイト)で参照する
関連特許
個人
視触覚センサ
2日前
個人
採尿及び採便具
1か月前
日本精機株式会社
検出装置
1か月前
個人
高精度同時多点測定装置
1か月前
個人
計量機能付き容器
27日前
個人
アクセサリー型テスター
1か月前
甲神電機株式会社
電流検出装置
1か月前
株式会社ミツトヨ
測定器
1か月前
日本精機株式会社
発光表示装置
10日前
株式会社カクマル
境界杭
17日前
ユニパルス株式会社
トルク変換器
2日前
ユニパルス株式会社
トルク変換器
2日前
株式会社トプコン
測量装置
9日前
ユニパルス株式会社
トルク変換器
2日前
アズビル株式会社
電磁流量計
1か月前
大成建設株式会社
風洞実験装置
27日前
日本信号株式会社
距離画像センサ
1か月前
ローム株式会社
半導体装置
1か月前
日本特殊陶業株式会社
ガスセンサ
2日前
大和製衡株式会社
組合せ計量装置
1か月前
ローム株式会社
半導体装置
1か月前
日本特殊陶業株式会社
ガスセンサ
9日前
個人
システム、装置及び実験方法
1か月前
個人
非接触による電磁パルスの測定方法
1か月前
大和製衡株式会社
組合せ計量装置
1か月前
日本特殊陶業株式会社
ガスセンサ
3日前
愛知電機株式会社
軸部材の外観検査装置
1か月前
個人
計量具及び計量機能付き容器
27日前
愛知時計電機株式会社
ガスメータ
1か月前
双庸電子株式会社
誤配線検査装置
1か月前
日本特殊陶業株式会社
ガスセンサ
25日前
日東精工株式会社
振動波形検査装置
1か月前
株式会社タイガーカワシマ
揚穀装置
9日前
株式会社デンソー
電流センサ
1か月前
日置電機株式会社
絶縁抵抗測定装置
2日前
日本特殊陶業株式会社
センサ
1か月前
続きを見る
他の特許を見る