TOP
|
特許
|
意匠
|
商標
特許ウォッチ
Twitter
他の特許を見る
公開番号
2025161632
公報種別
公開特許公報(A)
公開日
2025-10-24
出願番号
2024064986
出願日
2024-04-12
発明の名称
センサ
出願人
日本特殊陶業株式会社
代理人
個人
,
個人
主分類
G01N
27/414 20060101AFI20251017BHJP(測定;試験)
要約
【課題】チャネル領域のグラフェンが基板に張り付くことを抑制できる技術を提供する。
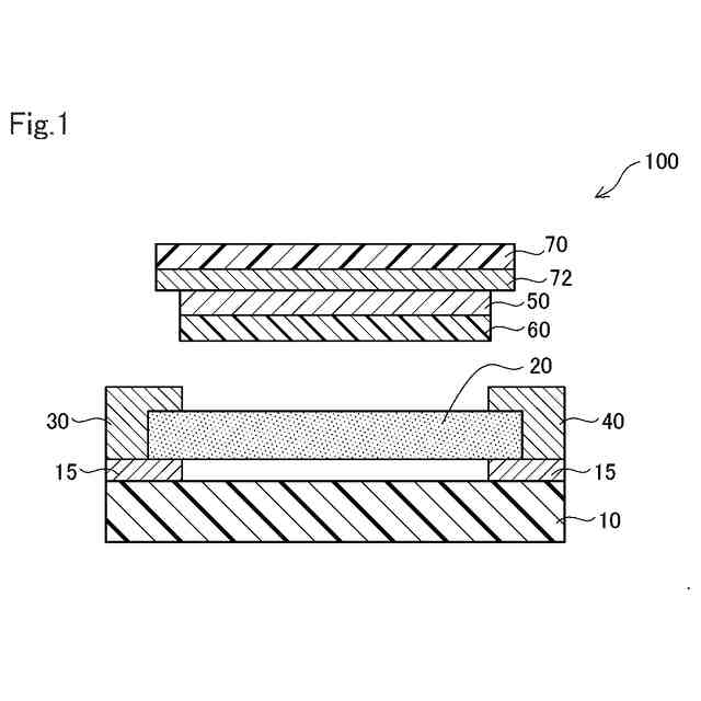
【解決手段】標的物質を検出し、基板と、グラフェンにより形成され前記基板との間に空間を介して設けられたチャネル領域と、前記チャネル領域の一端に接続されたソース電極と、前記チャネル領域の他端に接続されたドレイン電極と、前記チャネル領域に対して、前記基板とは反対側に形成されるとともに、前記チャネル領域との間に空間を介して形成されたゲート電極と、を有するセンサであって、前記ゲート電極の面であって、前記チャネル領域と向かい合う面に設けられた捕捉膜と、を備えることを特徴とする。
【選択図】図1
特許請求の範囲
【請求項1】
標的物質を検出し、
基板と、
グラフェンにより形成され、前記基板との間に空間を介して設けられたチャネル領域と、
前記チャネル領域の一端に接続されたソース電極と、
前記チャネル領域の他端に接続されたドレイン電極と、
前記チャネル領域に対して、前記基板とは反対側に形成されるとともに、前記チャネル領域との間に空間を介して形成されたゲート電極と、
を有するセンサであって、
前記ゲート電極の面であって、前記チャネル領域と向かい合う面に設けられた捕捉膜と、
を備えることを特徴とする、センサ。
続きを表示(約 160 文字)
【請求項2】
請求項1に記載のセンサにおいて、
前記チャネル領域は、一層のグラフェンにより形成されている、
ことを特徴とする、センサ。
【請求項3】
請求項1に記載のセンサにおいて、
前記チャネル領域は、乱層積層グラフェンにより形成されている、
ことを特徴とする、センサ。
発明の詳細な説明
【技術分野】
【0001】
本開示は、センサに関する。
続きを表示(約 1,400 文字)
【背景技術】
【0002】
従来から、グラフェンをチャネルに用いた電界効果トランジスタが提案されている。例えば、特許文献1には、チャネル領域のグラフェン層が宙吊り状態とされた電界効果トランジスタが開示されている。
【先行技術文献】
【特許文献】
【0003】
特開2013-004718号公報
【発明の概要】
【発明が解決しようとする課題】
【0004】
特許文献1に記載の技術では、グラフェン層を形成した後に、洗浄のために溶液処理を行なうと、スティッキングによってグラフェン層が基板に張り付いてしまい、グラフェン層の宙吊り状態を維持できないおそれがあることを、本願発明者らは見出した。このため、チャネル領域のグラフェンが基板に張り付くことを抑制できる技術が求められている。
【課題を解決するための手段】
【0005】
本開示は、以下の形態として実現することができる。
【0006】
(1)本開示の一形態によれば、センサが提供される。このセンサは、標的物質を検出し、基板と、グラフェンにより形成され、前記基板との間に空間を介して設けられたチャネル領域と、前記チャネル領域の一端に接続されたソース電極と、前記チャネル領域の他端に接続されたドレイン電極と、前記チャネル領域に対して、前記基板とは反対側に形成されるとともに、前記チャネル領域との間に空間を介して形成されたゲート電極と、を有するセンサであって、前記ゲート電極の面であって、前記チャネル領域と向かい合う面に設けられた捕捉膜と、を備えることを特徴とする。この形態のセンサによれば、ゲート電極が、チャネル領域に対して、基板とは反対側に形成されるとともにチャネル領域との間に空間を介して形成されているので、基板に張り付いたグラフェンを、ゲート電極に電圧を印加することによって引き寄せることができる。この結果として、チャネル領域のグラフェンが基板に張り付くことを抑制できる。
【0007】
(2)上記(1)に記載のセンサにおいて、前記チャネル領域は、一層のグラフェンにより形成されていてもよい。この形態のセンサによれば、チャネル領域が一層のグラフェンにより形成されているので、キャリア移動度の低下を抑制できる。
【0008】
(3)上記(1)に記載のセンサにおいて、前記チャネル領域は、乱層積層グラフェンにより形成されていてもよい。この形態のセンサによれば、チャネル領域が乱層積層のグラフェンにより形成されているので、周辺雰囲気に存在するガスや異物がグラフェンに付着することによるキャリア移動度の低下を抑制できる。
【0009】
なお、本開示は、種々の形態で実現することが可能であり、例えば、センサの製造方法、センサを用いた標的物質のモニタリング方法等の形態で実現することができる。
【図面の簡単な説明】
【0010】
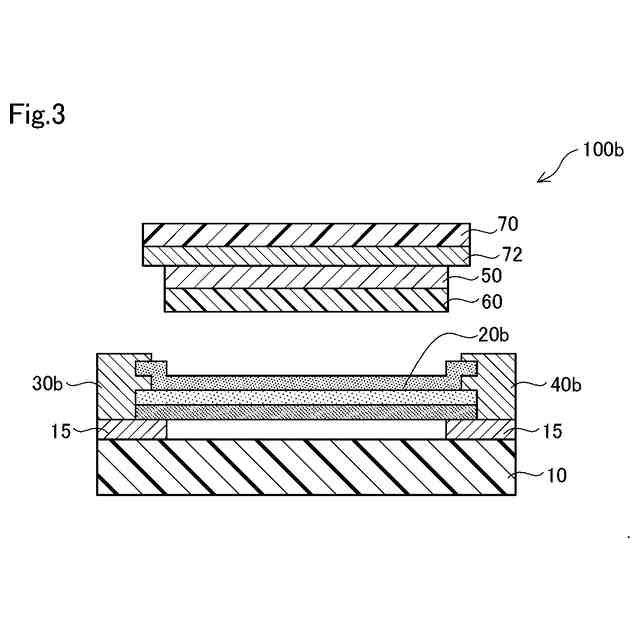
センサの概略構成を模式的に示す断面図である。
第2実施形態のセンサの概略構成を模式的に示す説明図である。
第3実施形態のセンサの概略構成を模式的に示す説明図である。
【発明を実施するための形態】
(【0011】以降は省略されています)
この特許をJ-PlatPat(特許庁公式サイト)で参照する
関連特許
日本特殊陶業株式会社
電極
1か月前
日本特殊陶業株式会社
電極
1か月前
日本特殊陶業株式会社
電極
1か月前
日本特殊陶業株式会社
電極
1か月前
日本特殊陶業株式会社
センサ
1か月前
日本特殊陶業株式会社
センサ
22日前
日本特殊陶業株式会社
センサ
1か月前
日本特殊陶業株式会社
センサ
1か月前
日本特殊陶業株式会社
センサ
1か月前
日本特殊陶業株式会社
センサ
1か月前
日本特殊陶業株式会社
保持装置
1か月前
日本特殊陶業株式会社
保持装置
1か月前
日本特殊陶業株式会社
保持部材
29日前
日本特殊陶業株式会社
加熱装置
29日前
日本特殊陶業株式会社
保持装置
25日前
日本特殊陶業株式会社
圧電素子
22日前
日本特殊陶業株式会社
保持装置
1日前
日本特殊陶業株式会社
保持装置
8日前
日本特殊陶業株式会社
ガスセンサ
3日前
日本特殊陶業株式会社
圧電発音体
1か月前
日本特殊陶業株式会社
化学センサ
10日前
日本特殊陶業株式会社
電極埋設部材
9日前
日本特殊陶業株式会社
スパークプラグ
29日前
日本特殊陶業株式会社
セラミック部品
1か月前
日本特殊陶業株式会社
スパークプラグ
8日前
日本特殊陶業株式会社
ホットモジュール
1か月前
日本特殊陶業株式会社
ホットモジュール
1か月前
日本特殊陶業株式会社
無鉛圧電磁器組成物
22日前
日本特殊陶業株式会社
セルスタックシステム
8日前
日本特殊陶業株式会社
ガスセンサの製造方法
1か月前
日本特殊陶業株式会社
圧電セラミック積層体
1か月前
日本特殊陶業株式会社
アンモニアの合成装置
18日前
日本特殊陶業株式会社
アンモニアの合成装置
18日前
日本特殊陶業株式会社
検知装置および検知方法
8日前
日本特殊陶業株式会社
電極および蓄電デバイス
9日前
日本特殊陶業株式会社
電極および蓄電デバイス
9日前
続きを見る
他の特許を見る