TOP
|
特許
|
意匠
|
商標
特許ウォッチ
Twitter
他の特許を見る
公開番号
2025153084
公報種別
公開特許公報(A)
公開日
2025-10-10
出願番号
2024055368
出願日
2024-03-29
発明の名称
センサ
出願人
日本特殊陶業株式会社
代理人
個人
,
個人
主分類
G01N
27/04 20060101AFI20251002BHJP(測定;試験)
要約
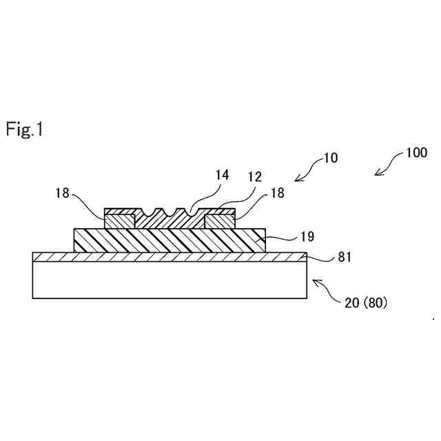
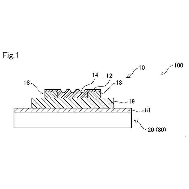
【課題】分子インプリントポリマーに捕捉された標的物質を脱離させる技術を提供する。
【解決手段】標的物質を検出するセンサは、標的物質が入り込む空間を有し、空間に入り込んだ標的物質を捕捉する分子インプリントポリマーを含む膜を有する検出部と、分子インプリントポリマーに捕捉された標的物質を、分子インプリントポリマーから脱離させるための脱離機構と、を備え、脱離機構は、膜を振動させる、ことを特徴とする。
【選択図】図1
特許請求の範囲
【請求項1】
標的物質を検出するセンサであって、
前記標的物質が入り込む空間を有し、前記空間に入り込んだ前記標的物質を捕捉する分子インプリントポリマーを含む膜を有する検出部と、
前記分子インプリントポリマーに捕捉された前記標的物質を、前記分子インプリントポリマーから脱離させるための脱離機構と、
を備え、
前記脱離機構は、前記膜を振動させる、
ことを特徴とする、センサ。
続きを表示(約 390 文字)
【請求項2】
請求項1に記載のセンサにおいて、
前記脱離機構が、圧電素子を含む、
ことを特徴とする、センサ。
【請求項3】
請求項1または請求項2に記載のセンサにおいて、
前記脱離機構が、ダイヤフラムを含む圧電MEMS素子であり、
前記膜は、前記ダイヤフラム上に形成されており、
前記ダイヤフラムの面積が、前記膜の面積よりも大きい、
ことを特徴とする、センサ。
【請求項4】
請求項1または請求項2に記載のセンサにおいて、
前記膜と前記脱離機構とが、任意の物質を介して連結されている、
ことを特徴とする、センサ。
【請求項5】
請求項1または請求項2に記載のセンサにおいて、
電界効果トランジスタ型センサである、
ことを特徴とする、センサ。
発明の詳細な説明
【技術分野】
【0001】
本開示は、センサに関する。
続きを表示(約 1,600 文字)
【背景技術】
【0002】
従来から、分子インプリントポリマーを利用して標的物質を検出することについて、いくつかの提案がなされている。例えば、特許文献1には、表面に分子インプリントポリマーの膜が形成された検出電極を備える電界効果トランジスタが開示されている。
【先行技術文献】
【特許文献】
【0003】
特開2023-061890号公報
【発明の概要】
【発明が解決しようとする課題】
【0004】
分子インプリントポリマーを利用したセンサを繰り返し使用するためには、分子インプリントポリマーに捕捉された標的物質を脱離させる必要がある。特許文献1では、分子インプリントポリマーの製造時に標的物質の鋳型を作製する工程において、サイクリックボルタンメトリーの手法を用い、参照電極の電位を基準として作用極と対極の間にかかる電位を走査し、化学結合が切断される電位に到達させることによって、標的物質を除去している。しかしながら、このような方法を、センサの繰り返し使用のための脱離方法として適用すると、電子のやり取りによって分子インプリントポリマーが劣化するおそれがある。このため、分子インプリントポリマーに捕捉された標的物質を脱離させることができる他の技術が求められている。
【課題を解決するための手段】
【0005】
本開示は、以下の形態として実現することができる。
【0006】
(1)本開示の一形態によれば、センサが提供される。このセンサは、標的物質を検出するセンサであって、前記標的物質が入り込む空間を有し、前記空間に入り込んだ前記標的物質を捕捉する分子インプリントポリマーを含む膜を有する検出部と、前記分子インプリントポリマーに捕捉された前記標的物質を、前記分子インプリントポリマーから脱離させるための脱離機構と、を備え、前記脱離機構は、前記膜を振動させる、ことを特徴とする。この形態のセンサによれば、膜を振動させる脱離機構を備えるので、振動によって、捕捉された標的物質と分子インプリントポリマーとの相互作用を超えるエネルギーを与えることができる結果、分子インプリントポリマーに捕捉された標的物質を脱離させることができる。
【0007】
(2)上記(1)に記載のセンサにおいて、前記脱離機構が、圧電素子を含んでいてもよい。この形態のセンサによれば、圧電素子によって膜を振動させるので、磁歪素子を含む振動発生装置と比較して、大型化することを抑制できる。
【0008】
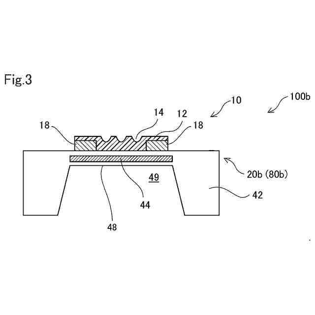
(3)上記(1)または上記(2)に記載のセンサにおいて、前記脱離機構が、ダイヤフラムを含む圧電MEMS素子であり、前記膜は、前記ダイヤフラム上に形成されており、前記ダイヤフラムの面積が、前記膜の面積よりも大きくてもよい。この形態のセンサによれば、膜がダイヤフラム上に形成されており、ダイヤフラムの面積が膜の面積よりも大きいので、脱離機構による振動を膜に効率的に伝達することができ、この結果として、分子インプリントポリマーに捕捉された標的物質を効率的に脱離させることができる。
【0009】
(4)上記(1)から上記(3)までのいずれか一項に記載のセンサにおいて、前記膜と前記脱離機構とが、任意の物質を介して連結されていてもよい。この形態のセンサによれば、膜と脱離機構とが任意の物質を介して連結されているので、脱離機構による振動を膜に効率的に伝達することができる。
【0010】
(5)上記(1)から上記(4)までのいずれか一項に記載のセンサにおいて、電界効果トランジスタ型センサであってもよい。この形態のセンサによれば、電界効果トランジスタ型センサであるので、検出感度の低下を抑制できる。
(【0011】以降は省略されています)
この特許をJ-PlatPat(特許庁公式サイト)で参照する
関連特許
日本特殊陶業株式会社
賦形体
2日前
日本特殊陶業株式会社
センサ
28日前
日本特殊陶業株式会社
加熱装置
1か月前
日本特殊陶業株式会社
保持装置
7日前
日本特殊陶業株式会社
保持装置
1か月前
日本特殊陶業株式会社
保持装置
14日前
日本特殊陶業株式会社
圧電素子
28日前
日本特殊陶業株式会社
ガスセンサ
9日前
日本特殊陶業株式会社
化学センサ
16日前
日本特殊陶業株式会社
電極埋設部材
15日前
日本特殊陶業株式会社
スパークプラグ
14日前
日本特殊陶業株式会社
無鉛圧電磁器組成物
28日前
日本特殊陶業株式会社
アンモニアの合成装置
24日前
日本特殊陶業株式会社
セルスタックシステム
14日前
日本特殊陶業株式会社
アンモニアの合成装置
24日前
日本特殊陶業株式会社
電極および蓄電デバイス
15日前
日本特殊陶業株式会社
検知装置および検知方法
14日前
日本特殊陶業株式会社
電極および蓄電デバイス
15日前
日本特殊陶業株式会社
アンモニアの合成システム
24日前
日本特殊陶業株式会社
磁性コイル、および無線給電用デバイス
14日前
日本特殊陶業株式会社
無線給電用コイル、および無線給電用デバイス
1日前
日本特殊陶業株式会社
酸素発生反応用触媒、電極、および電気化学デバイス
7日前
日本特殊陶業株式会社
センサ素子、ガスセンサ、およびセンサ素子の製造方法
15日前
日本特殊陶業株式会社
インターカレーションのための溶液、インターカレーション方法、電極の製造方法、電極および電気化学素子
24日前
日本特殊陶業株式会社
電気化学セル、固体酸化物形電解セル、セルスタック、ホットモジュール、およびガス製造装置
28日前
日本精機株式会社
検出装置
16日前
個人
採尿及び採便具
22日前
個人
アクセサリー型テスター
1か月前
個人
計量機能付き容器
11日前
個人
高精度同時多点測定装置
1か月前
甲神電機株式会社
電流検出装置
16日前
株式会社ミツトヨ
測定器
28日前
株式会社カクマル
境界杭
1日前
アズビル株式会社
電磁流量計
1か月前
大成建設株式会社
風洞実験装置
11日前
日本特殊陶業株式会社
ガスセンサ
9日前
続きを見る
他の特許を見る