TOP
|
特許
|
意匠
|
商標
特許ウォッチ
Twitter
他の特許を見る
公開番号
2025162704
公報種別
公開特許公報(A)
公開日
2025-10-28
出願番号
2024066074
出願日
2024-04-16
発明の名称
アンモニアの合成装置
出願人
日本特殊陶業株式会社
代理人
弁理士法人真明センチュリー
主分類
H05H
1/24 20060101AFI20251021BHJP(他に分類されない電気技術)
要約
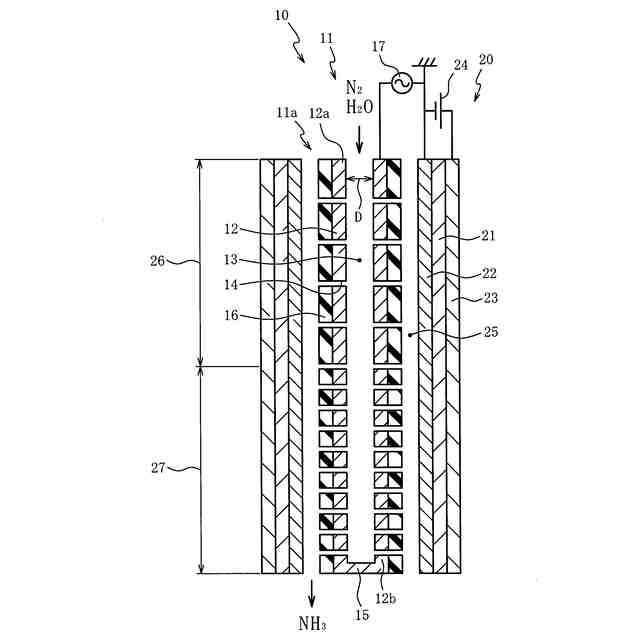
【課題】安定してアンモニアを生成できる合成装置を提供する。
【解決手段】合成装置は、筒状の電解質と、電解質の内側に配置されたカソードと、電解質の外側に配置されたアノードと、を備える電気化学セルと、カソードと間隔をあけて電気化学セルの内側に配置された電極を含む筒状の電極部材を含み、電極とカソードとの間にプラズマを発生するプラズマ発生装置と、を備え、原料ガスは電極部材の内側の第1の空間に供給され、電気化学セルは電極部材とカソードとの間の第2の空間に水素を発生し、第1の空間と第2の空間とをつなぐ孔が電極に複数設けられ、カソードはプラズマ発生装置のアース電極を兼ねる。
【選択図】図1
特許請求の範囲
【請求項1】
窒素を含む原料ガスを励起してアンモニアを合成する合成装置であって、
筒状の電解質と、前記電解質の内側に配置されたカソードと、前記電解質の外側に配置されたアノードと、を備える電気化学セルと、
前記カソードと間隔をあけて前記電気化学セルの内側に配置された電極を含む筒状の電極部材を含み、前記電極と前記カソードとの間にプラズマを発生するプラズマ発生装置と、を備え、
前記原料ガスは、前記電極部材の内側の第1の空間に供給され、
前記電気化学セルは、前記電極部材と前記カソードとの間の第2の空間に水素を発生し、
前記電極部材に前記第1の空間と前記第2の空間とをつなぐ孔が複数設けられ、
前記カソードは、前記プラズマ発生装置のアース電極を兼ねる合成装置。
続きを表示(約 490 文字)
【請求項2】
前記孔のうち最も大きな孔の大きさは、前記電極の内径の1/6以下である請求項1記載の合成装置。
【請求項3】
前記電極部材のうち前記電気化学セルと重なる部分に設けられた前記孔の、前記電極部材の単位面積当たりの数は、前記原料ガスの下流側の部分が、前記原料ガスの上流側の部分よりも多い請求項1又は2に記載の合成装置。
【請求項4】
前記電極部材のうち前記電気化学セルと重なる部分に設けられた前記孔の面積の総和は、前記原料ガスの下流側の部分が、前記原料ガスの上流側の部分よりも大きい請求項1又は2に記載の合成装置。
【請求項5】
前記第1の空間のうち前記電気化学セルと重なる部分における前記原料ガスの分圧は、前記原料ガスの下流側の部分が、前記原料ガスの上流側の部分よりも高い請求項1又は2に記載の合成装置。
【請求項6】
前記第1の空間のうち前記電気化学セルと重なる部分における前記原料ガスの下流側の流量を、前記原料ガスの上流側の流量よりも少なくする制限部をさらに備える請求項1又は2に記載の合成装置。
発明の詳細な説明
【技術分野】
【0001】
本発明は窒素と水素との反応によりアンモニアを合成する合成装置に関する。
続きを表示(約 1,100 文字)
【背景技術】
【0002】
プラズマ発生装置を用いて励起した窒素と、水の電気分解で発生した水素と、の反応によってアンモニアを合成する先行技術は特許文献1に開示されている。特許文献2や非特許文献1にはプロトン伝導性の電解質を含む電気化学セルとプラズマとを併用したアンモニア合成に関する先行技術が開示されている。
【先行技術文献】
【特許文献】
【0003】
特開2017-164736号公報
中国実用新案第217148587号明細書
【非特許文献】
【0004】
ACS Energy Lett. 2021, 6, 2, 313-319
【発明の概要】
【発明が解決しようとする課題】
【0005】
先行技術においてアンモニアを合成する反応が局所的に起こるとアンモニアの生成量が不安定化する。
【0006】
本発明は問題点を解決するためになされたものであり、安定してアンモニアを生成できる合成装置の提供を目的とする。
【課題を解決するための手段】
【0007】
この目的を達成するための第1の態様は、窒素を含む原料ガスを励起してアンモニアを合成する合成装置であって、筒状の電解質と、電解質の内側に配置されたカソードと、電解質の外側に配置されたアノードと、を備える電気化学セルと、カソードと間隔をあけて電気化学セルの内側に配置された電極を含む筒状の電極部材を含み、電極とカソードとの間にプラズマを発生するプラズマ発生装置と、を備え、原料ガスは電極部材の内側の第1の空間に供給され、電気化学セルは電極部材とカソードとの間の第2の空間に水素を発生し、第1の空間と第2の空間とをつなぐ孔が電極部材に複数設けられ、カソードはプラズマ発生装置のアース電極を兼ねる。
【0008】
第2の態様は、第1の態様において、孔のうち最も大きな孔の大きさは電極の内径の1/6以下である。
【0009】
第3の態様は、第1又は第2の態様において、電極部材のうち電気化学セルと重なる部分に設けられた孔の、電極部材の単位面積当たりの数は、原料ガスの下流側の部分が、原料ガスの上流側の部分よりも多い。
【0010】
第4の態様は、第1から第3の態様のいずれかにおいて、電極部材のうち電気化学セルと重なる部分に設けられた孔の面積の総和は、原料ガスの下流側の部分が、原料ガスの上流側の部分よりも大きい。
(【0011】以降は省略されています)
この特許をJ-PlatPat(特許庁公式サイト)で参照する
関連特許
日本特殊陶業株式会社
センサ
1か月前
日本特殊陶業株式会社
賦形体
3日前
日本特殊陶業株式会社
センサ
1か月前
日本特殊陶業株式会社
センサ
29日前
日本特殊陶業株式会社
保持装置
8日前
日本特殊陶業株式会社
圧電素子
29日前
日本特殊陶業株式会社
保持装置
15日前
日本特殊陶業株式会社
保持装置
1か月前
日本特殊陶業株式会社
加熱装置
1か月前
日本特殊陶業株式会社
保持部材
1か月前
日本特殊陶業株式会社
ガスセンサ
10日前
日本特殊陶業株式会社
圧電発音体
1か月前
日本特殊陶業株式会社
化学センサ
17日前
日本特殊陶業株式会社
電極埋設部材
16日前
日本特殊陶業株式会社
スパークプラグ
15日前
日本特殊陶業株式会社
スパークプラグ
1か月前
日本特殊陶業株式会社
無鉛圧電磁器組成物
29日前
日本特殊陶業株式会社
アンモニアの合成装置
25日前
日本特殊陶業株式会社
アンモニアの合成装置
25日前
日本特殊陶業株式会社
セルスタックシステム
15日前
日本特殊陶業株式会社
電極および蓄電デバイス
16日前
日本特殊陶業株式会社
検知装置および検知方法
15日前
日本特殊陶業株式会社
電極および蓄電デバイス
16日前
日本特殊陶業株式会社
アンモニアの合成システム
25日前
日本特殊陶業株式会社
回路基板、およびパワーデバイス
1か月前
日本特殊陶業株式会社
回路基板、およびパワーデバイス
1か月前
日本特殊陶業株式会社
磁性コイル、および無線給電用デバイス
15日前
日本特殊陶業株式会社
無線給電用コイル、および無線給電用デバイス
2日前
日本特殊陶業株式会社
電気化学反応用触媒、電極、および電気化学デバイス
1か月前
日本特殊陶業株式会社
酸素発生反応用触媒、電極、および電気化学デバイス
8日前
日本特殊陶業株式会社
センサ素子、ガスセンサ、およびセンサ素子の製造方法
16日前
日本特殊陶業株式会社
インターカレーションのための溶液、インターカレーション方法、電極の製造方法、電極および電気化学素子
25日前
日本特殊陶業株式会社
電気化学セル、固体酸化物形電解セル、セルスタック、ホットモジュール、およびガス製造装置
29日前
個人
電子部品の実装方法
1か月前
愛知電機株式会社
装柱金具
1か月前
個人
非衝突型ガウス加速器
3か月前
続きを見る
他の特許を見る