TOP
|
特許
|
意匠
|
商標
特許ウォッチ
Twitter
他の特許を見る
公開番号
2025158669
公報種別
公開特許公報(A)
公開日
2025-10-17
出願番号
2024061446
出願日
2024-04-05
発明の名称
スパークプラグ
出願人
日本特殊陶業株式会社
代理人
弁理士法人真明センチュリー
主分類
H01T
13/08 20060101AFI20251009BHJP(基本的電気素子)
要約
【課題】ねじ部にガスケットが引っ掛らないようにできるスパークプラグを提供する。
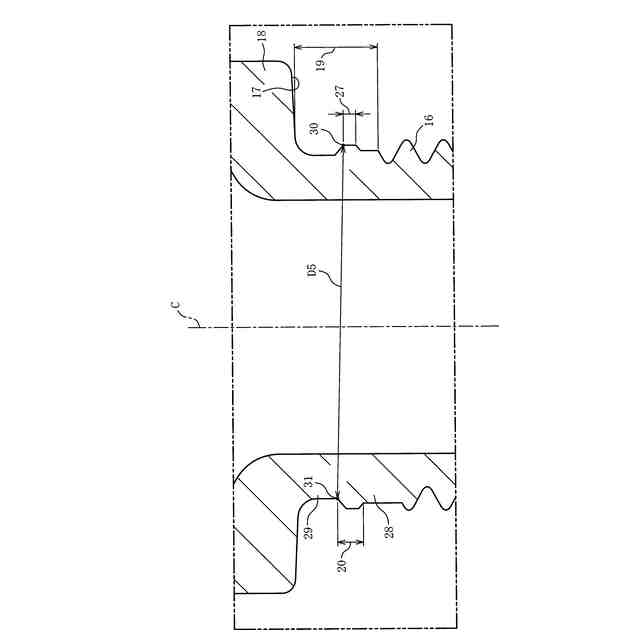
【解決手段】スパークプラグは、絶縁体の外周に配置され先端から後端側へ中心線に沿って延びる主体金具と、主体金具の外周に配置されるガスケットと、を備え、主体金具は、中心線を中心とするおねじからなるねじ部と、ねじ部の後端側に設けられた座面を含む頭部と、頭部とねじ部とに挟まれた首部と、を含み、首部は、径方向の外側に張り出す鍔部を含み、ガスケットは、頭部と鍔部との間に配置され、鍔部の外径は、ねじ部の外径よりも小さく、ガスケットの内径の最小値よりも大きい。
【選択図】図1
特許請求の範囲
【請求項1】
絶縁体の外周に配置され先端から後端側へ中心線に沿って延びる主体金具と、
前記主体金具の外周に配置されるガスケットと、を備え、
前記主体金具は、前記中心線を中心とするおねじからなるねじ部と、
前記ねじ部の後端側に設けられた座面を含む頭部と、
前記頭部と前記ねじ部とに挟まれた首部と、を含むスパークプラグであって、
前記首部は、径方向の外側に張り出す鍔部を含み、
前記ガスケットは、前記頭部と前記鍔部との間に配置され、
前記鍔部の外径は、前記ねじ部の外径よりも小さく、前記ガスケットの内径の最小値よりも大きいスパークプラグ。
続きを表示(約 440 文字)
【請求項2】
前記ガスケットは、前記中心線の周りに連続している環部と、
前記環部から前記環部の径方向の内側に突出する複数の凸部と、を備え、
寸法が大きい順に並べると、前記環部の内径、前記ねじ部の外径、前記鍔部の外径、前記凸部の内径である請求項1記載のスパークプラグ。
【請求項3】
前記中心線を含む前記主体金具の断面において、
前記鍔部の外径が最も大きい部分のうち最も後端側の第1の点を設定し、
前記首部のうち前記鍔部より後端側の部分に位置し、かつ、前記中心線を挟んで前記第1の点の反対側のうち前記第1の点に最も近い位置に第2の点を設定したときに、
前記第2の点と前記第1の点との間の距離は、前記凸部の内径よりも大きい請求項2記載のスパークプラグ。
【請求項4】
前記ねじ部の長さは、前記主体金具の前記先端と前記座面との間の距離の1/2以上である請求項1から3のいずれかに記載のスパークプラグ。
発明の詳細な説明
【技術分野】
【0001】
本発明は主体金具の外周に配置されるガスケットを含むスパークプラグに関する。
続きを表示(約 1,300 文字)
【背景技術】
【0002】
スパークプラグのガスケットは、スパークプラグをエンジンに取り付けたときに主体金具の座面とエンジンとの間に挟まれ、ガスの漏れを防ぐ。特許文献1に開示された先行技術は、エンジンのプラグホールのめねじに結合するねじ部と、座面を含む頭部と、頭部とねじ部との間に挟まれた首部と、を含む主体金具と、首部の外周に配置されたガスケットと、を含み、首部の外径はねじ部の外径よりも大きい。
【先行技術文献】
【特許文献】
【0003】
特開2008-4267号公報
【発明の概要】
【発明が解決しようとする課題】
【0004】
先行技術においてねじ部にガスケットが引っ掛り、ねじ部をエンジンに締め付けたときに引っ掛りが取れないと、スパークプラグの座面とエンジンとの間にできた隙間からガスが漏れるという問題点がある。
【0005】
本発明はこの問題点の解決のためになされたものであり、ねじ部にガスケットが引っ掛らないようにできるスパークプラグの提供を目的とする。
【課題を解決するための手段】
【0006】
この目的を達成するための本発明の第1の態様は、絶縁体の外周に配置され先端から後端側へ中心線に沿って延びる主体金具と、主体金具の外周に配置されるガスケットと、を備え、主体金具は、中心線を中心とするおねじからなるねじ部と、ねじ部の後端側に設けられた座面を含む頭部と、頭部とねじ部とに挟まれた首部と、を含み、首部は、径方向の外側に張り出す鍔部を含み、ガスケットは、頭部と鍔部との間に配置され、鍔部の外径は、ねじ部の外径よりも小さく、ガスケットの内径の最小値よりも大きい。
【0007】
第2の態様は、第1の態様において、ガスケットは、中心線の周りに連続している環部と、環部から環部の径方向の内側に突出する複数の凸部と、を備え、寸法が大きい順に並べると、環部の内径、ねじ部の外径、鍔部の外径、凸部の内径である。
【0008】
第3の態様は、第2の態様において、中心線を含む主体金具の断面において、鍔部の外径が最も大きい部分のうち最も後端側の第1の点を設定し、首部のうち鍔部より後端側の部分に位置し、かつ、中心線を挟んで第1の点の反対側のうち第1の点に最も近い位置に第2の点を設定したときに、第2の点と第1の点との間の距離は、凸部の内径よりも大きい。
【0009】
第4の態様は、第1から第3の態様のいずれかにおいて、ねじ部の長さは、主体金具の先端と座面との間の距離の1/2以上である。
【発明の効果】
【0010】
本発明によれば、主体金具の頭部とねじ部とに挟まれた首部は、径方向の外側に張り出す鍔部を含み、ガスケットは頭部と鍔部との間に配置される。鍔部の外径は、ねじ部の外径よりも小さく、ガスケットの内径の最小値よりも大きいため、ガスケットは鍔部によって移動が制限される。従ってねじ部にガスケットが引っ掛らないようにできる。
【図面の簡単な説明】
(【0011】以降は省略されています)
この特許をJ-PlatPat(特許庁公式サイト)で参照する
関連特許
日本特殊陶業株式会社
賦形体
19日前
日本特殊陶業株式会社
センサ
12日前
日本特殊陶業株式会社
加熱装置
3日前
日本特殊陶業株式会社
保持装置
1か月前
日本特殊陶業株式会社
反応装置
5日前
日本特殊陶業株式会社
保持装置
24日前
日本特殊陶業株式会社
ガスセンサ
26日前
日本特殊陶業株式会社
ガスセンサ
10日前
日本特殊陶業株式会社
化学センサ
1か月前
日本特殊陶業株式会社
ガスセンサ
4日前
日本特殊陶業株式会社
ガスセンサ
3日前
日本特殊陶業株式会社
アンテナ装置
5日前
日本特殊陶業株式会社
アンテナ装置
5日前
日本特殊陶業株式会社
FETセンサ
3日前
日本特殊陶業株式会社
電極埋設部材
1か月前
日本特殊陶業株式会社
アンテナ装置
5日前
日本特殊陶業株式会社
スパークプラグ
1か月前
日本特殊陶業株式会社
積層磁石及びモーター
3日前
日本特殊陶業株式会社
積層磁石及びモーター
3日前
日本特殊陶業株式会社
セルスタックシステム
1か月前
日本特殊陶業株式会社
積層磁石及びモーター
3日前
日本特殊陶業株式会社
積層磁石及びモーター
3日前
日本特殊陶業株式会社
積層磁石及びモーター
3日前
日本特殊陶業株式会社
積層磁石及びモーター
3日前
日本特殊陶業株式会社
コンデンサモジュール
3日前
日本特殊陶業株式会社
超音波トランスデューサ
10日前
日本特殊陶業株式会社
電極および蓄電デバイス
1か月前
日本特殊陶業株式会社
電極および蓄電デバイス
1か月前
日本特殊陶業株式会社
超音波トランスデューサ
10日前
日本特殊陶業株式会社
検知装置および検知方法
1か月前
日本特殊陶業株式会社
貯蔵装置および水素の製造方法
3日前
日本特殊陶業株式会社
非接触給電用のコイルユニット
4日前
日本特殊陶業株式会社
磁性コイル、および無線給電用デバイス
1か月前
日本特殊陶業株式会社
無線給電用コイル、および無線給電用デバイス
18日前
日本特殊陶業株式会社
多孔性担体、触媒体、および多孔性担体の製造方法
12日前
日本特殊陶業株式会社
酸素発生反応用触媒、電極、および電気化学デバイス
24日前
続きを見る
他の特許を見る