TOP
|
特許
|
意匠
|
商標
特許ウォッチ
Twitter
他の特許を見る
公開番号
2025156972
公報種別
公開特許公報(A)
公開日
2025-10-15
出願番号
2024059763
出願日
2024-04-02
発明の名称
回路基板、およびパワーデバイス
出願人
日本特殊陶業株式会社
代理人
弁理士法人プロスペック特許事務所
主分類
H01L
23/13 20060101AFI20251007BHJP(基本的電気素子)
要約
【課題】冷熱サイクルに対する耐性を高めることができ、信頼性を向上できる回路基板及びパワーデバイスを提供する。
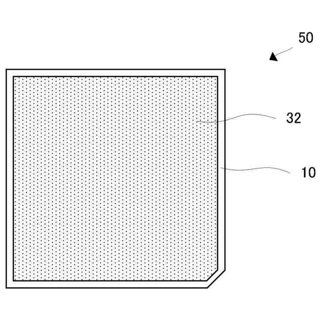
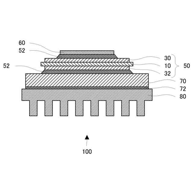
【解決手段】セラミックス基板10と、前記セラミックス基板10の一方の主面12に形成された接合層20と、前記接合層20を介して前記セラミックス基板10に接合された金属からなる導体層30と、を備え、前記セラミックス基板10は、前記接合層20との界面側に開口し、空隙からなるマイクロクラック14を有する回路基板50。
【選択図】図1
特許請求の範囲
【請求項1】
セラミックス基板と、
前記セラミックス基板の一方の主面に形成された接合層と、
前記接合層を介して前記セラミックス基板に接合された金属からなる導体層と、を備え、
前記セラミックス基板は、前記接合層との界面側に開口し、空隙からなるマイクロクラックを有することを特徴とする、回路基板。
続きを表示(約 480 文字)
【請求項2】
前記マイクロクラックは、長さが1μ以上3μm以下であるものを含み、1μ以上3μm以下である前記マイクロクラックの前記界面に垂直な方向に対する角度の平均値は0°以上80°以下であることを特徴とする、請求項1に記載の回路基板。
【請求項3】
前記接合層は、チタンを主成分とすることを特徴とする、請求項1又は請求項2に記載の回路基板。
【請求項4】
前記セラミックス基板の前記一方の主面に対向する他方の主面に形成されたチタンを含む第2の接合層と、
前記第2の接合層を介して前記セラミックス基板に接合された銅を含む第2の導体層と、を更に備え、
前記接合層はチタンを含み、
前記導体層は銅を含み、
前記回路基板の前記一方の主面に垂直な方向の熱伝導率は、150W/mK以上であることを特徴とする請求項1又は請求項2に記載の回路基板。
【請求項5】
請求項1又は請求項2に記載の回路基板と、
前記導体層に搭載されたパワー半導体と、を備えることを特徴とするパワーデバイス。
発明の詳細な説明
【技術分野】
【0001】
本発明は、回路基板、およびパワーデバイスに関する。
続きを表示(約 1,700 文字)
【背景技術】
【0002】
窒化ケイ素は高い熱伝導率と強度を有する事から、EV(Electric Vehicle)やHV(Hybrid Vehicle)に搭載されるインバーター用パワーモジュールの絶縁性放熱基板として注目されている。従来、絶縁性の放熱基板材料としては窒化アルミニウムが多く用いられてきたが、EVなどの大電流用パワーモジュールの場合、250℃程度まで高温化し、接合された銅などの金属との熱膨張差から基板に大きな熱応力が発生し、強度の低い窒化アルミニウムはクラックや割れが発生してしまっていた。その為、熱伝導は窒化アルミニウムには劣るものの、一般的な絶縁性セラミックスの中では高熱伝導であり、更に高い強度を有する窒化ケイ素の採用が進んでいる。窒化ケイ素放熱基板と導体層との接合は、一般的には金属を含むろう材を介在させたろう付け法により行われている。
【0003】
特許文献1には、銅又は銅合金からなる銅部材と、セラミックス部材とを具備し、前記銅部材と前記セラミックス部材とが接合され、前記セラミックス部材と前記銅部材との接合界面において、前記セラミックス部材側には活性金属化合物からなる活性金属化合物層が形成されており、前記セラミックス部材には、前記接合界面から前記セラミックス部材の内部側に進展するマイクロクラックが存在し、前記マイクロクラックの少なくとも一部に前記活性金属化合物が充填されていることを特徴とする銅/セラミックス接合体が開示されている。
【先行技術文献】
【特許文献】
【0004】
特開2023-086688号公報
【発明の概要】
【発明が解決しようとする課題】
【0005】
特許文献1は、マイクロクラックの少なくとも一部に活性金属化合物が充填されていることで、マイクロクラックを起点としたセラミックス割れの発生を抑制でき、冷熱サイクル負荷時のセラミックス部材の割れの発生を抑制することができ、また、マイクロクラックに充填された活性金属化合物のアンカー効果により、セラミックス部材と銅部材との接合強度を向上させることができる、と記載されている。しかしながら、特許文献1に記載された銅/セラミックス接合体は、接合材由来のAg-Cu合金層が厚いため、セラミックス基板と回路層との間の熱障壁となる虞があった。また、より厳しい冷熱サイクル条件下では、セラミックス部材とマイクロクラックに充填された活性金属化合物との熱膨張係数の差によってマイクロクラック自体が伸展し、冷熱サイクルに対する耐性が十分ではない場合があった。
【0006】
このようなことから、パワーデバイスの回路基板としてセラミック製の放熱基板と導体層とを接合した回路基板を使用する場合、冷熱サイクルに対する耐性を高めた回路基板が要望されていた。
【0007】
本発明は、このような事情に鑑みてなされたものであり、冷熱サイクルに対する耐性を高めることができ、信頼性を向上できる回路基板及びパワーデバイスを提供することを目的とする。
【課題を解決するための手段】
【0008】
(1)上記の目的を達成するため、本発明の回路基板は、以下の手段を講じた。すなわち、本発明の適用例の回路基板は、セラミックス基板と、前記セラミックス基板の一方の主面に形成された接合層と、前記接合層を介して前記セラミックス基板に接合された金属からなる導体層と、を備え、前記セラミックス基板は、前記接合層との界面側に開口し、空隙からなるマイクロクラックを有する。
【0009】
(2)また、上記(1)の適用例の回路基板において、前記マイクロクラックは、長さが1μm以上3μm以下であるものを含み、1μm以上3μm以下である前記マイクロクラックの前記界面に垂直な方向に対する角度の平均値は0°以上80°以下である。
【0010】
(3)また、上記(1)または(2)の適用例の回路基板において、前記接合層は、チタンを主成分とする。
(【0011】以降は省略されています)
この特許をJ-PlatPat(特許庁公式サイト)で参照する
関連特許
日本特殊陶業株式会社
センサ
28日前
日本特殊陶業株式会社
センサ
28日前
日本特殊陶業株式会社
センサ
28日前
日本特殊陶業株式会社
センサ
28日前
日本特殊陶業株式会社
センサ
28日前
日本特殊陶業株式会社
センサ
14日前
日本特殊陶業株式会社
保持装置
17日前
日本特殊陶業株式会社
圧電素子
14日前
日本特殊陶業株式会社
保持装置
今日
日本特殊陶業株式会社
保持部材
21日前
日本特殊陶業株式会社
加熱装置
21日前
日本特殊陶業株式会社
化学センサ
2日前
日本特殊陶業株式会社
圧電発音体
28日前
日本特殊陶業株式会社
電極埋設部材
1日前
日本特殊陶業株式会社
セラミック部品
29日前
日本特殊陶業株式会社
スパークプラグ
21日前
日本特殊陶業株式会社
スパークプラグ
今日
日本特殊陶業株式会社
ホットモジュール
29日前
日本特殊陶業株式会社
無鉛圧電磁器組成物
14日前
日本特殊陶業株式会社
アンモニアの合成装置
10日前
日本特殊陶業株式会社
アンモニアの合成装置
10日前
日本特殊陶業株式会社
圧電セラミック積層体
28日前
日本特殊陶業株式会社
セルスタックシステム
今日
日本特殊陶業株式会社
検知装置および検知方法
今日
日本特殊陶業株式会社
電極および蓄電デバイス
1日前
日本特殊陶業株式会社
電極および蓄電デバイス
1日前
日本特殊陶業株式会社
アンモニアの合成システム
10日前
日本特殊陶業株式会社
回路基板、およびパワーデバイス
23日前
日本特殊陶業株式会社
回路基板、およびパワーデバイス
23日前
日本特殊陶業株式会社
磁性コイル、および無線給電用デバイス
今日
日本特殊陶業株式会社
セラミック組成物、およびセラミック部品
29日前
日本特殊陶業株式会社
電気化学反応用触媒、電極、および電気化学デバイス
21日前
日本特殊陶業株式会社
センサ素子、ガスセンサ、およびセンサ素子の製造方法
1日前
日本特殊陶業株式会社
電気化学セル、固体酸化物形電解セル、セルスタック、ホットモジュール、および水素製造装置
28日前
日本特殊陶業株式会社
インターカレーションのための溶液、インターカレーション方法、電極の製造方法、電極および電気化学素子
10日前
日本特殊陶業株式会社
電気化学セル、固体酸化物形電解セル、セルスタック、ホットモジュール、およびガス製造装置
14日前
続きを見る
他の特許を見る