TOP
|
特許
|
意匠
|
商標
特許ウォッチ
Twitter
他の特許を見る
公開番号
2025161988
公報種別
公開特許公報(A)
公開日
2025-10-24
出願番号
2025142216,2025538431
出願日
2025-08-28,2025-03-06
発明の名称
電気化学セル、固体酸化物形電解セル、セルスタック、ホットモジュール、およびガス製造装置
出願人
日本特殊陶業株式会社
代理人
弁理士法人プロスペック特許事務所
主分類
C25B
11/089 20210101AFI20251017BHJP(電気分解または電気泳動方法;そのための装置)
要約
【課題】電気化学セル(電解セル)の耐久性を向上させる。
【解決手段】電気化学セル(電解セル)は、固体電解質層と、固体電解質層の表面側に積層配置された空気極と、固体電解質層の裏面側に積層配置された燃料極と、を有し、燃料極は、Ni合金と導電性固体酸化物とを含有する機能層を有し、機能層に含有される前記Ni合金の平均粒径は、0.77μm以上1.00μm以下である。
【選択図】図4
特許請求の範囲
【請求項1】
固体電解質層と、
前記固体電解質層の表面側に積層配置された空気極と、
前記固体電解質層の裏面側に積層配置された燃料極と、
を有し、
前記燃料極は、Ni合金と導電性固体酸化物とを含有する機能層を有し、
前記機能層に含有される前記Ni合金の平均粒径は、0.77μm以上1.00μm以下である、
電気化学セル。
続きを表示(約 630 文字)
【請求項2】
請求項1に記載の電気化学セルにおいて、
前記Ni合金は、NiFe合金である、
電気化学セル。
【請求項3】
請求項1に記載の電気化学セルにおいて、
前記Ni合金の平均粒径は、前記導電性固体酸化物の平均粒径よりも小さい、
電気化学セル。
【請求項4】
請求項1に記載の電気化学セルにおいて、
前記機能層に含有される気孔の平均径に対する前記導電性固体酸化物の平均粒径の比である気孔径比は、1.5以上2.6以下である、
電気化学セル。
【請求項5】
請求項1から請求項4のいずれか1項に記載の電気化学セルからなる、
固体酸化物形電解セル。
【請求項6】
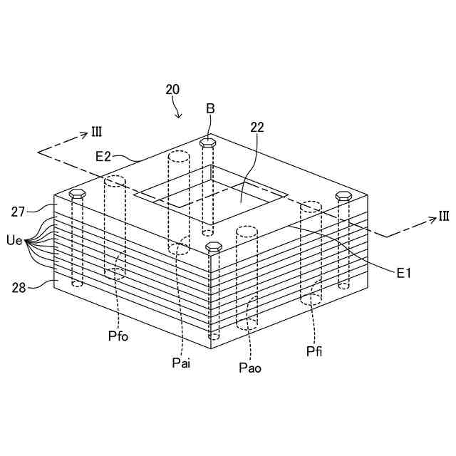
請求項5に記載の固体酸化物形電解セルが複数積層されてなる、
セルスタック。
【請求項7】
請求項6に記載のセルスタックと、
前記セルスタックに供給される水蒸気を生成する気化器と、
前記セルスタックに供給されるガスと熱交換を行う熱交換器と、
前記セルスタックを加熱するためのヒータと、
前記セルスタック、前記気化器、前記熱交換器および前記ヒータがその内部に配置される断熱材と、
を備える、
ホットモジュール。
【請求項8】
請求項7に記載のホットモジュールを備える、
ガス製造装置。
発明の詳細な説明
【技術分野】
【0001】
本発明は、電気化学セル、固体酸化物形電解セル、セルスタック、ホットモジュール、およびガス製造装置に関する。
続きを表示(約 1,600 文字)
【背景技術】
【0002】
従来、電解質として固体酸化物が用いられた固体酸化物形の電気化学セルが知られている(特許文献1参照)。固体酸化物形の電気化学セルは、高温環境下において高効率で電気化学反応を行うことを特徴とし、固体酸化物形電解セル(SOEC:Solid Oxide Electrolysis Cell)、または固体酸化物形燃料電池(SOFC:Solid Oxide Fuel Cell)として利用することができる。固体酸化物形電解セルは、電気エネルギーにより水蒸気を水素と酸素とに分解する電気分解装置である。固体酸化物形燃料電池は、水素と酸素との化学反応により電気エネルギーを発生させる発電装置である。
【先行技術文献】
【特許文献】
【0003】
特開2015-92459号公報
【発明の概要】
【発明が解決しようとする課題】
【0004】
電気化学セルは、固体電解質層と、固体電解質層の一方面側に積層配置した燃料極層と、固体電解質層の他方面側に積層配置した空気極層と、を備えて構成することができる。燃料極層は、電極触媒としてのNi(ニッケル)およびイオン伝導性を有する酸化物(例えばYSZ(イットリア安定化ジルコニア))を含むように構成することができる。
【0005】
燃料極層にNiが含まれる電気化学セルを厳しい動作環境(高温度、高湿度、高電流)の下で長時間動作させた場合、燃料極層内でのNiの移動、凝集が引き起こされる。燃料極層内でNiが移動または凝集した場合、燃料極層の内部抵抗が増加し、また、反応場としての三相界面(燃料ガス、Ni、電解質(YSZ)の境界)が減少する。これにより、電気化学セルの電気的特性が低下し、所望の性能を得ることができない。従って、長時間動作させた場合であっても所望の性能を維持することができるような、耐久性の向上した電気化学セルが望まれる。
【0006】
本開示は、上記した課題を解決することを目的とする。すなわち本開示の目的の一つは、電気化学セルの耐久性を向上させることである。
【課題を解決するための手段】
【0007】
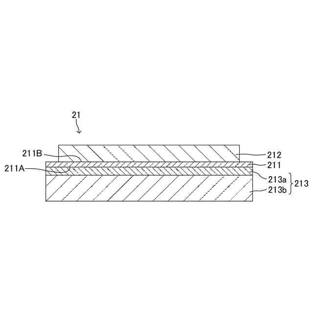
本開示に係る電気化学セルは、
固体電解質層と、
前記固体電解質層の表面側に積層配置された空気極と、
前記固体電解質層の裏面側に積層配置された燃料極と、
を有し、
前記燃料極は、Ni合金と導電性固体酸化物とを含有する機能層を有し、
前記機能層に含有される前記Ni合金の平均粒径は、0.77μm以上1.00μm以下である。
【0008】
本開示に係る電気化学セルの機能層はNi合金と導電性固体酸化物とを含有する。そして、Niと結合することによりNi合金を形成する金属元素が、Niの移動および凝集を抑制する。ただし、Ni合金の平均粒径が0.77μm未満であると、前記金属元素によるNiの移動および凝集を抑制する効果が低い。一方、Ni合金の平均粒径が1.0μm超であると、前記金属元素による燃料極層の成形時(焼結時)において燃料極層の内部の緻密化が促進されるため、燃料極層におけるガスの拡散性が低下し、その結果初期性能が低下する。機能層に含有される前記Ni合金の平均粒径が0.77μm以上1.00μm以下であると、電気化学セルの初期性能の低下を抑制しつつ、耐久性を向上させることができる。
【0009】
なお、燃料極層にNi以外の金属元素が含有される場合、機能層にはNiと前記金属との合金の粒子のほかに、単体のNiの粒子が存在しうる。このため、本開示において、Ni合金の平均粒径は、「Ni合金と単体のNiの平均粒径」であってもよい。
【0010】
前記Ni合金は、NiFe合金である、という構成が適用できる。
(【0011】以降は省略されています)
この特許をJ-PlatPat(特許庁公式サイト)で参照する
関連特許
日本特殊陶業株式会社
センサ
23日前
日本特殊陶業株式会社
センサ
1か月前
日本特殊陶業株式会社
センサ
1か月前
日本特殊陶業株式会社
センサ
1か月前
日本特殊陶業株式会社
センサ
1か月前
日本特殊陶業株式会社
センサ
1か月前
日本特殊陶業株式会社
保持装置
2日前
日本特殊陶業株式会社
保持部材
1か月前
日本特殊陶業株式会社
加熱装置
1か月前
日本特殊陶業株式会社
保持装置
26日前
日本特殊陶業株式会社
圧電素子
23日前
日本特殊陶業株式会社
保持装置
9日前
日本特殊陶業株式会社
圧電発音体
1か月前
日本特殊陶業株式会社
ガスセンサ
4日前
日本特殊陶業株式会社
化学センサ
11日前
日本特殊陶業株式会社
電極埋設部材
10日前
日本特殊陶業株式会社
セラミック部品
1か月前
日本特殊陶業株式会社
スパークプラグ
9日前
日本特殊陶業株式会社
スパークプラグ
1か月前
日本特殊陶業株式会社
無鉛圧電磁器組成物
23日前
日本特殊陶業株式会社
セルスタックシステム
9日前
日本特殊陶業株式会社
アンモニアの合成装置
19日前
日本特殊陶業株式会社
アンモニアの合成装置
19日前
日本特殊陶業株式会社
圧電セラミック積層体
1か月前
日本特殊陶業株式会社
検知装置および検知方法
9日前
日本特殊陶業株式会社
電極および蓄電デバイス
10日前
日本特殊陶業株式会社
電極および蓄電デバイス
10日前
日本特殊陶業株式会社
アンモニアの合成システム
19日前
日本特殊陶業株式会社
回路基板、およびパワーデバイス
1か月前
日本特殊陶業株式会社
回路基板、およびパワーデバイス
1か月前
日本特殊陶業株式会社
磁性コイル、および無線給電用デバイス
9日前
日本特殊陶業株式会社
セラミック組成物、およびセラミック部品
1か月前
日本特殊陶業株式会社
電気化学反応用触媒、電極、および電気化学デバイス
1か月前
日本特殊陶業株式会社
酸素発生反応用触媒、電極、および電気化学デバイス
2日前
日本特殊陶業株式会社
センサ素子、ガスセンサ、およびセンサ素子の製造方法
10日前
日本特殊陶業株式会社
電気化学セル、固体酸化物形電解セル、セルスタック、ホットモジュール、および水素製造装置
1か月前
続きを見る
他の特許を見る