TOP
|
特許
|
意匠
|
商標
特許ウォッチ
Twitter
他の特許を見る
公開番号
2025167329
公報種別
公開特許公報(A)
公開日
2025-11-07
出願番号
2024071837
出願日
2024-04-25
発明の名称
セルスタックシステム
出願人
日本特殊陶業株式会社
代理人
弁理士法人プロスペック特許事務所
主分類
C25B
9/00 20210101AFI20251030BHJP(電気分解または電気泳動方法;そのための装置)
要約
【課題】 偏流が生じたとしても燃料枯れの発生を抑制しつつ、各セルスタックの電解効率又は発電効率を改善する。
【解決手段】 セルスタックシステムは、複数のセルスタックと供給管21と供給ガス流量取得器30と温度検出器と各セルスタックに供給される分配ガスの流量を供給ガスの流量及び全セルスタックの温度に関連付けて予め測定又は演算した情報を含む第1テーブルと各セルスタックの電流-電圧特性をセルスタックの温度及び分配ガスの流量に関連付けて予め測定又は演算した情報を含む第2テーブルを備える。各セルスタックは、複数のグループ毎に電源又は負荷を含む回路に電気的に直列に接続されており、運転中に取得された供給ガスの流量及び全セルスタックの温度を用いて第1テーブルを参照して分配ガスの流量を読み出し、各セルスタックの温度と分配ガスの流量を用いて第2テーブルを参照して各グループの回路に流す電流値を決定する。
【選択図】 図1
特許請求の範囲
【請求項1】
複数のセルスタックであって、そのそれぞれが、固体電解質層と、前記固体電解質層の表面側に積層配置された空気極と、前記固体電解質層の裏面側に積層配置された燃料極と、を含む固体酸化物形の電気化学単セルを複数含む、複数のセルスタックと、
供給ガスが流通する供給管であって、前記供給管に並列に接続された各前記セルスタックの前記燃料極に前記供給ガスを分配して分配ガスとして供給可能な供給管と、
前記供給ガスの流量を取得する供給ガス流量取得器と、
各前記セルスタックの温度を検出する温度検出器と、
各前記セルスタックに供給される前記分配ガスの流量を、前記供給ガスの流量と、全ての前記セルスタックの温度と、に関連付けて予め測定又は演算した情報を含む第1テーブルと、
各前記セルスタックの電流-電圧特性を、対応するセルスタックの温度及び前記分配ガスの流量に関連付けて予め測定又は演算した情報を含む第2テーブルと、
を備え、
各前記セルスタックは、1又は複数の前記セルスタックを含む複数のグループ毎に、電源又は負荷を含む回路に電気的に直列に接続されており、
運転中に前記供給ガス流量取得器及び前記温度検出器からそれぞれ取得された前記供給ガスの流量及び前記全ての前記セルスタックの温度を用いて、前記第1テーブルを参照して各前記セルスタックに供給される前記分配ガスの流量を読み出し、
前記取得された各前記セルスタックの温度と、前記読み出された前記分配ガスの流量と、を用いて、前記第2テーブルを参照して各前記グループの前記回路に流す電流値を決定する、
セルスタックシステム。
続きを表示(約 680 文字)
【請求項2】
請求項1に記載のセルスタックシステムにおいて、
更に、前記供給ガス流量取得器、前記温度検出器、並びに、前記電源又は前記負荷と電気的に接続された制御装置を備え、
前記制御装置は、
前記第1テーブル及び前記第2テーブルが格納されている記憶部を有し、
前記第1テーブルを参照して前記分配ガスの流量を読み出して、前記第2テーブルを参照して各前記グループの前記電流値を決定し、前記決定された前記電流値に基づいて前記電源又は前記負荷を制御する、ように構成されている、
セルスタックシステム。
【請求項3】
請求項2に記載のセルスタックシステムであって、
前記制御装置は、
各前記グループ内の前記セルスタックのそれぞれについて、前記取得された前記セルスタックの温度と、前記読み出された前記分配ガスの流量と、を用いて、前記第2テーブルを参照して前記電流値の候補である電流値候補を読み出し、これらの電流値候補の最小値を前記電流値として決定するように構成されている、
セルスタックシステム。
【請求項4】
請求項1乃至請求項3の何れか一項に記載のセルスタックシステムであって、
各前記電気化学単セルを固体酸化物形電解単セルとして使用する運転モードでは、各前記電気化学単セルは、水素を生成する電解単セル、水素及び一酸化炭素を含む合成ガスを生成する電解単セル、又は、一酸化炭素を生成する電解単セルの何れかとして使用される、
セルスタックシステム。
発明の詳細な説明
【技術分野】
【0001】
本発明は、固体酸化物形の電気化学単セルを複数含むセルスタックを複数備えるセルスタックシステムに関する。
続きを表示(約 4,100 文字)
【背景技術】
【0002】
従来から、複数のセルスタックを備えるセルスタックシステムが知られている。セルスタックを構成する固体酸化物形の複数の電気化学単セルは、高温環境下において高効率で電気化学反応を行うことを特徴としており、固体酸化物形電解セル(SOEC:Solid Oxide Electrolysis Cell)と、固体酸化物形燃料電池(SOFC:Solid Oxide Fuel Cell)と、に大別される(以下、複数の電気化学単セルを「電気化学セル」とも称する。)。SOECは、電気エネルギーにより燃料ガスを分解する機能を有しており、SOFCは、燃料ガスと酸化剤ガスとの化合により電気エネルギーを発生させる機能を有している。電気化学セルがSOECとして使用される場合(以下、「SOECモード」とも称する。)、セルスタックシステムは電気分解装置として機能し、電気化学セルがSOFCとして使用される場合(以下、「SOFCモード」とも称する。)、セルスタックシステムは発電装置として機能する。
【0003】
セルスタックシステムでは、各セルスタックが、ガスの供給管に対して並列に接続されている。これにより、供給管に導入されたガス(供給ガス)は、複数の分岐管を経由して、対応するセルスタックに分配供給される。
【0004】
各セルスタックに供給される分配ガスの流量は、セルスタックの接続位置(厳密には、セルスタックが分岐管を経由して供給管に接続されている位置)が供給管の導入口から離間するにつれて減少する傾向がある。これは、接続位置が導入口から離間するほど供給管の圧力損失の影響が大きくなるためである。このように、複数のセルスタックに供給される分配ガスに偏りが生じる現象は「偏流」と呼ばれている。偏流が生じているセルスタックシステムでは、SOECモードにおいて各セルスタックに同量の電流を印加すると、分配ガスの流量が少ないセルスタックについては、当該流量に対して過剰な電流が流れることになり、当該セルスタックが破損する可能性がある。同様に、SOFCモードにおいて各セルスタックから同量の電力を取り出そうとすると、分配ガスの流量が少ないセルスタックについては、当該流量に対して過大な発電が促されて過剰な電流が流れることになり、当該セルスタックが破損する可能性がある。何れのモードにおいても、このような現象は「燃料枯れ」と呼ばれている。燃料枯れの発生を抑制するためには、分配ガスの流量が最も少ないセルスタックに合わせて印加電流値又は電力量を調整することが考えられる。しかしながら、この方法では、分配ガスの流量が比較的に多いセルスタックについては、当該流量に見合った電気分解又は発電が行われない(即ち、電解効率又は発電効率が低い)ため、セルスタックシステム全体としての性能を最大限に発揮することができないという問題がある。
【0005】
このため、偏流を解消して各セルスタックに分配ガスを均等に供給することが検討されている。例えば、非特許文献1には、分岐管に圧損調整用部品(典型的には、オリフィス)を設けて分配ガスの流量を均一化する旨が記載されている。
【先行技術文献】
【非特許文献】
【0006】
高木義信、他7名、“固体酸化物形燃料電池による産業用発電装置の開発”、Hitz技報、2015年9月、vol.76、No.1、p.11-15
【発明の概要】
【0007】
しかしながら、各セルスタックに供給される分配ガスの流量比率は、供給管の圧力損失だけではなく、「供給管に導入される供給ガスの流量」及び「セルスタックシステムに含まれる全てのセルスタックの温度分布」にも依存する。このため、圧損調整用部品を導入したとしても、供給ガスの流量が変化したり、セルスタックの温度分布が変化したりする場合には分配ガスが均等に供給されない可能性がある。ここで、セルスタックシステムの運転モードには、SOECモードのみで継続して運転するモードと、SOFCモードのみで継続して運転するモードと、SOECモードとSOFCモードとを適宜切り替えながらリバーシブルに運転するモードと、の3種類が存在するが、何れの運転モードにおいても、供給ガスの流量が変化したり、セルスタックの温度分布が変化したりする場合がある。特に、3つ目のリバーシブルに運転するモードでは、供給ガスの流量及びセルスタックの温度分布は、SOECモードとSOFCモードとで顕著に異なる。このため、非特許文献1の技術では偏流を適切に解消することは困難である。偏流が生じたとしても燃料枯れの発生を抑制でき、且つ、各セルスタックの電解効率又は発電効率を改善することが可能なセルスタックシステムの開発が望まれている。
【0008】
本発明は、上述した問題に対処するためになされたものである。即ち、本発明の目的の一つは、偏流が生じたとしても燃料枯れの発生を抑制でき、且つ、各セルスタックの電解効率又は発電効率を改善することが可能なセルスタックシステムを提供することにある。
【0009】
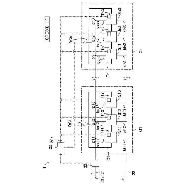
本発明に係るセルスタックシステムは、
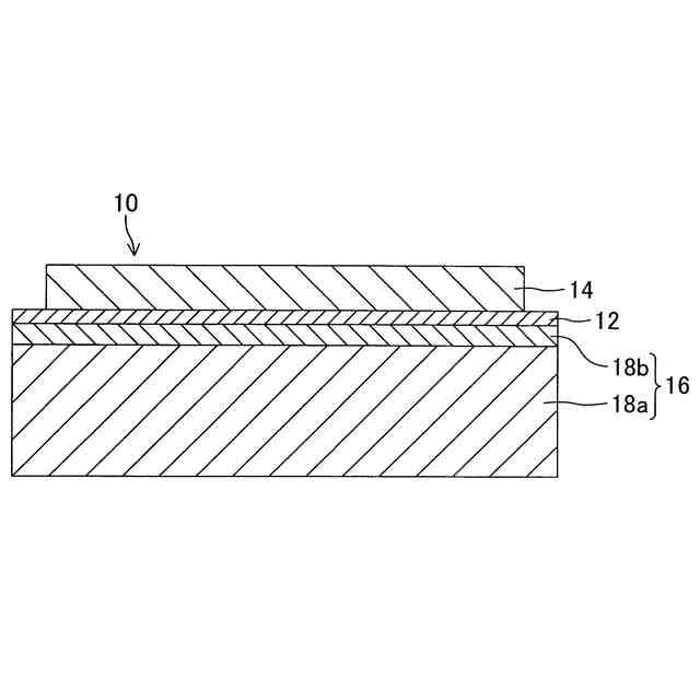
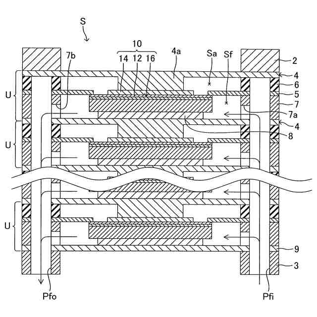
複数のセルスタック(S)であって、そのそれぞれが、固体電解質層(12)と、前記固体電解質層の表面側に積層配置された空気極(14)と、前記固体電解質層の裏面側に積層配置された燃料極(16)と、を含む固体酸化物形の電気化学単セル(10)を複数含む、複数のセルスタック(S)と、
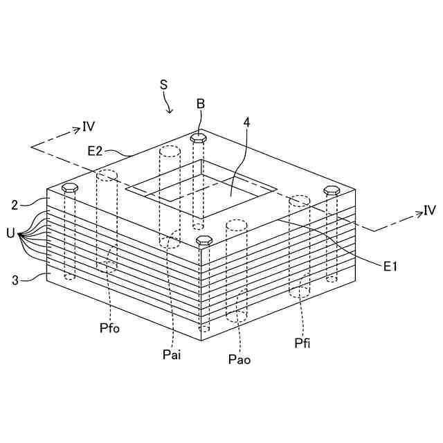
供給ガスが流通する供給管(21)であって、前記供給管に並列に接続された各前記セルスタックの前記燃料極に前記供給ガスを分配して分配ガスとして供給可能な供給管(21)と、
前記供給ガスの流量を取得する供給ガス流量取得器(30)と、
各前記セルスタックの温度を検出する温度検出器(T)と、
各前記セルスタックに供給される前記分配ガスの流量を、前記供給ガスの流量と、全ての前記セルスタックの温度と、に関連付けて予め測定又は演算した情報を含む第1テーブルと、
各前記セルスタックの電流-電圧特性を、対応するセルスタックの温度及び前記分配ガスの流量に関連付けて予め測定又は演算した情報を含む第2テーブルと、
を備える。
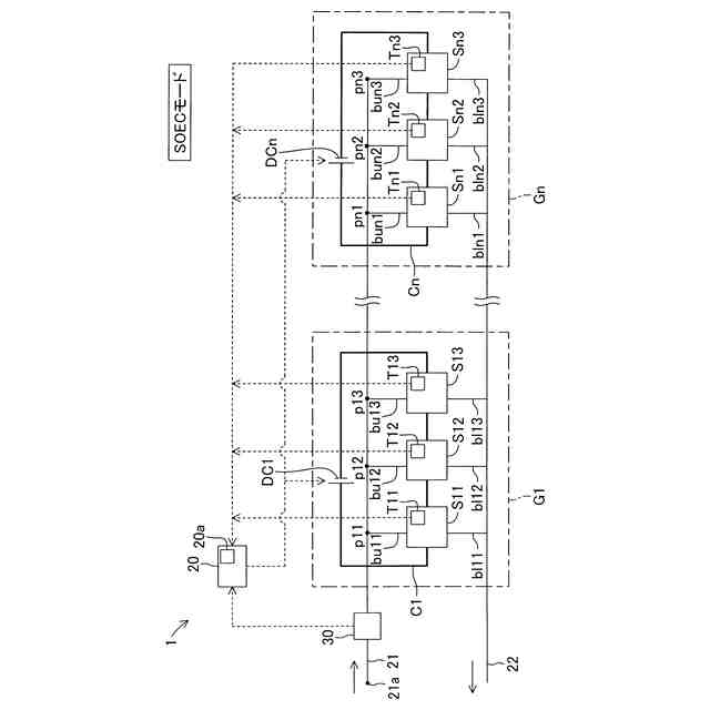
各前記セルスタックは、1又は複数の前記セルスタックを含む複数のグループ(G)毎に、電源(DC)又は負荷(I)を含む回路(C)に電気的に直列に接続されており、
運転中に前記供給ガス流量取得器及び前記温度検出器からそれぞれ取得された前記供給ガスの流量及び前記全ての前記セルスタックの温度を用いて、前記第1テーブルを参照して各前記セルスタックに供給される前記分配ガスの流量を読み出し、
前記取得された各前記セルスタックの温度と、前記読み出された前記分配ガスの流量と、を用いて、前記第2テーブルを参照して各前記グループの前記回路に流す電流値を決定する、
ように構成されている。
【0010】
このセルスタックシステムでは、全てのセルスタックが1つの回路に電気的に直列に接続されるのではなく、複数のグループ毎に回路に電気的に直列に接続される。1つのグループは、1又は複数(ここでいう「複数」とは、システム内の全てのセルスタック数未満の数を表す)のセルスタックを含む。回路は、SOECモードでは電源を含み、SOFCモードでは負荷を含むように構成されている。各グループの回路に流す電流値は、第1テーブル及び第2テーブルを参照することにより決定される。具体的には、このシステムは、供給ガスの流量を取得する供給ガス流量取得器と、各セルスタックの温度を検出する温度検出器とを備えており、運転中における供給ガスの流量と各セルスタックの温度とをリアルタイムで取得できるようになっている。第1テーブルは、各セルスタックに供給される分配ガスの流量を、供給ガスの流量と、全てのセルスタックの温度(別言すれば、セルスタックの温度分布)と、に関連付けて予め測定又は演算した情報を含む。このため、運転中における供給ガスの流量と全てのセルスタックの温度とを取得し、これらの値を用いて第1テーブルを参照することにより、各セルスタックに供給される分配ガスの流量を読み出す(取得する)ことができる。第2テーブルは、各セルスタックの電流-電圧特性を、対応するセルスタックの温度及び分配ガスの流量に関連付けて予め測定又は演算した情報を含む。このため、任意の或るセルスタックについて、当該セルスタックの温度を取得し、且つ、第1テーブルから当該セルスタックに供給される分配ガスの流量を読み出し、これらの値を用いて第2テーブルを参照することにより、当該セルスタックの温度及び分配ガスの流量に応じた電流-電圧特性を把握する(取得する)ことができる。1つのグループに複数のセルスタックが含まれている場合、当該グループの回路に流す電流値は、当該グループ内の各セルスタックについて取得された電流-電圧特性に基づいて決定され得る。この構成によれば、回路に流す電流値をグループ毎に最適化できる。即ち、グループ内の全てのセルスタックで燃料枯れが発生しない限度において最大限の電流を回路に流すことができる。従って、本発明に係るセルスタックシステムによれば、偏流が生じたとしても燃料枯れの発生を抑制でき、且つ、各セルスタックの電解効率又は発電効率を改善することが可能となる。加えて、供給ガスの流量及び/又はセルスタックの温度分布が変化した場合は、変化後の値を用いて第1テーブル及び第2テーブルを参照することにより、変化後の環境に最適な値に電流値を更新することができる。
(【0011】以降は省略されています)
この特許をJ-PlatPat(特許庁公式サイト)で参照する
関連特許
日本特殊陶業株式会社
賦形体
19日前
日本特殊陶業株式会社
センサ
12日前
日本特殊陶業株式会社
センサ
1か月前
日本特殊陶業株式会社
保持装置
1か月前
日本特殊陶業株式会社
保持装置
24日前
日本特殊陶業株式会社
反応装置
5日前
日本特殊陶業株式会社
加熱装置
3日前
日本特殊陶業株式会社
圧電素子
1か月前
日本特殊陶業株式会社
保持装置
1か月前
日本特殊陶業株式会社
加熱装置
1か月前
日本特殊陶業株式会社
化学センサ
1か月前
日本特殊陶業株式会社
ガスセンサ
3日前
日本特殊陶業株式会社
ガスセンサ
4日前
日本特殊陶業株式会社
ガスセンサ
10日前
日本特殊陶業株式会社
ガスセンサ
26日前
日本特殊陶業株式会社
電極埋設部材
1か月前
日本特殊陶業株式会社
アンテナ装置
5日前
日本特殊陶業株式会社
アンテナ装置
5日前
日本特殊陶業株式会社
アンテナ装置
5日前
日本特殊陶業株式会社
FETセンサ
3日前
日本特殊陶業株式会社
スパークプラグ
1か月前
日本特殊陶業株式会社
スパークプラグ
1か月前
日本特殊陶業株式会社
無鉛圧電磁器組成物
1か月前
日本特殊陶業株式会社
アンモニアの合成装置
1か月前
日本特殊陶業株式会社
積層磁石及びモーター
3日前
日本特殊陶業株式会社
積層磁石及びモーター
3日前
日本特殊陶業株式会社
アンモニアの合成装置
1か月前
日本特殊陶業株式会社
積層磁石及びモーター
3日前
日本特殊陶業株式会社
積層磁石及びモーター
3日前
日本特殊陶業株式会社
積層磁石及びモーター
3日前
日本特殊陶業株式会社
セルスタックシステム
1か月前
日本特殊陶業株式会社
コンデンサモジュール
3日前
日本特殊陶業株式会社
積層磁石及びモーター
3日前
日本特殊陶業株式会社
検知装置および検知方法
1か月前
日本特殊陶業株式会社
超音波トランスデューサ
10日前
日本特殊陶業株式会社
電極および蓄電デバイス
1か月前
続きを見る
他の特許を見る