TOP
|
特許
|
意匠
|
商標
特許ウォッチ
Twitter
他の特許を見る
10個以上の画像は省略されています。
公開番号
2025153171
公報種別
公開特許公報(A)
公開日
2025-10-10
出願番号
2024055501
出願日
2024-03-29
発明の名称
圧電発音体
出願人
日本特殊陶業株式会社
代理人
弁理士法人暁合同特許事務所
主分類
H04R
17/00 20060101AFI20251002BHJP(電気通信技術)
要約
【課題】高い音圧で広い周波数帯域を再生する。
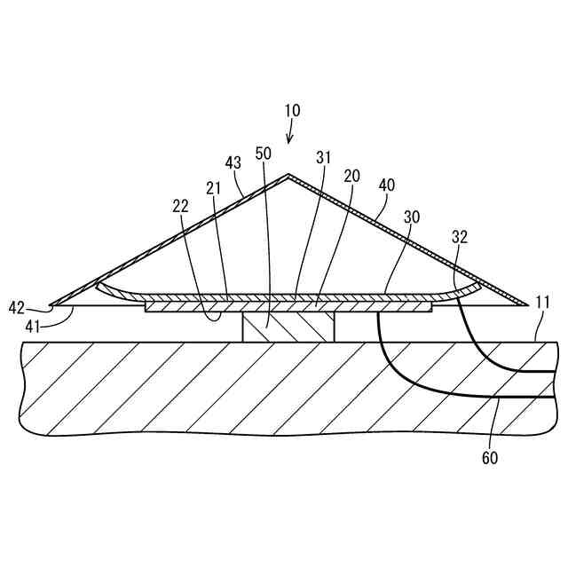
【解決手段】本開示の圧電発音体10は、一面と他面を有する板状の圧電セラミック20と、圧電セラミック20の一面に接着された内周部31、および内周部31よりも外周側に位置する外周部32を有する金属板30と、金属板30を圧電セラミック20とは反対側から覆う覆い部43を有し、覆い部43のうち金属板30側に開口する開口41の開口縁部42が外周部32に向けてのび、覆い部43の一部が金属板30と接着された振動板40と、圧電セラミック20の他面を固定する固定部50と、を備える。このような構成によると、金属板30の外周部32で振動板40を駆動することができる。金属板30の屈曲および径方向の変化により振動板40を駆動するため、広い帯域の音を高い音圧で発音することができる。また、圧電発音体10自体の特性の他に、振動板40の材質や形状によって、任意の音響特性を得ることができる。
【選択図】図2
特許請求の範囲
【請求項1】
一面と他面を有する板状の圧電セラミックと、
前記圧電セラミックの前記一面に接着された内周部、および前記内周部よりも外周側に位置する外周部を有する金属板と、
前記金属板を前記圧電セラミックとは反対側から覆う覆い部を有し、前記覆い部のうち前記金属板側に開口する開口の開口縁部が前記外周部に向けてのび、前記覆い部の一部が前記金属板と接着された振動板と、
前記圧電セラミックの前記他面を固定する固定部と、を備える、圧電発音体。
続きを表示(約 330 文字)
【請求項2】
前記固定部は、前記圧電セラミックの前記他面の中央部を固定する、請求項1に記載の圧電発音体。
【請求項3】
前記振動板は、円錐形状である、請求項1または請求項2に記載の圧電発音体。
【請求項4】
前記振動板は、円弧状のドーム型である、請求項1または請求項2に記載の圧電発音体。
【請求項5】
前記振動板は、半球状のドーム型である、請求項1または請求項2に記載の圧電発音体。
【請求項6】
前記振動板は、球状のドーム型である、請求項1または請求項2に記載の圧電発音体。
【請求項7】
前記振動板は、円筒状の箱型である、請求項1または請求項2に記載の圧電発音体。
発明の詳細な説明
【技術分野】
【0001】
本開示は、圧電発音体に関する。
続きを表示(約 1,700 文字)
【背景技術】
【0002】
従来、圧電素子を用いた圧電スピーカ装置として、例えば特開2003-304598号公報(下記特許文献1)に記載の圧電スピーカ装置が知られている。このような圧電スピーカ装置の中でも高音域特化型のスピーカ装置として、例えば特開2003-299194号公報(下記特許文献2)に記載の超高域再生用スピーカが知られている。この超高域再生用スピーカは、圧電セラミックと金属基板を接合した略円盤状の圧電セラミック振動子と、この圧電セラミック振動子に取り付けられたドーム型振動板と、前記圧電セラミック振動子の外周部を固定するパネルと、を有している。パネルの開口部は実質的にドーム部のみを外部に露出している。パネルは、圧電セラミック振動子の外周部の前面を覆っており、そこからの音を遮っている。
【先行技術文献】
【特許文献】
【0003】
特開2003-304598号公報
特開2003-299194号公報
【発明の概要】
【発明が解決しようとする課題】
【0004】
上記の超高域再生用スピーカは超高域を再生するのに適しているが、振動板の外周部がパネルに固定されているため、ストロークが取れず、高い音圧で広い周波数帯域を再生できない。
【課題を解決するための手段】
【0005】
本開示の圧電発音体は、一面と他面を有する板状の圧電セラミックと、前記圧電セラミックの前記一面に接着された内周部、および前記内周部よりも外周側に位置する外周部を有する金属板と、前記金属板を前記圧電セラミックとは反対側から覆う覆い部を有し、前記覆い部のうち前記金属板側に開口する開口の開口縁部が前記外周部に向けてのび、前記覆い部の一部が前記金属板と接着された振動板と、前記圧電セラミックの前記他面を固定する固定部と、を備える、圧電発音体である。
【発明の効果】
【0006】
本開示によれば、高い音圧で広い周波数帯域を再生できる。
【図面の簡単な説明】
【0007】
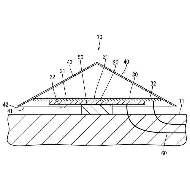
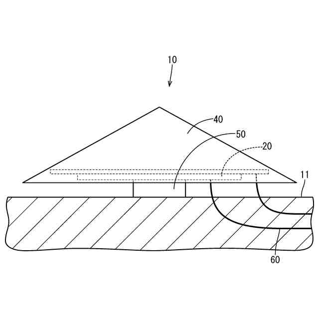
図1は、実施形態1の圧電発音体の正面図である。
図2は、実施形態1の圧電発音体の内部構造を示す断面図である。
図3は、金属板の外周部が上方に撓んだ様子を示す断面図である。
図4は、金属板の外周部が下方に撓んだ様子を示す断面図である。
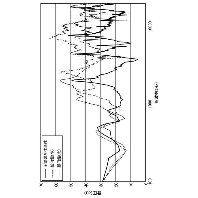
図5は、圧電発音体の周波数特性を示すグラフである。
図6は、実施形態2の圧電発音体の正面図である。
図7は、実施形態3の圧電発音体の正面図である。
図8は、実施形態4の圧電発音体の正面図である。
図9は、実施形態5の圧電発音体の正面図である。
【発明を実施するための形態】
【0008】
[本開示の実施形態の説明]
最初に本開示の実施形態を列挙して説明する。
(1)本開示の圧電発音体は、一面と他面を有する板状の圧電セラミックと、前記圧電セラミックの前記一面に接着された内周部、および前記内周部よりも外周側に位置する外周部を有する金属板と、前記金属板を前記圧電セラミックとは反対側から覆う覆い部を有し、前記覆い部のうち前記金属板側に開口する開口の開口縁部が前記外周部に向けてのび、前記覆い部の一部が前記金属板と接着された振動板と、前記圧電セラミックの前記他面を固定する固定部と、を備える。
【0009】
このような構成によると、金属板の外周部で振動板を駆動することができる。金属板の屈曲および径方向の変化により振動板を駆動するため、広い帯域の音を高い音圧で発音することができる。また、圧電発音体自体の特性の他に、振動板の材質や形状によって、任意の音響特性を得ることができる。
【0010】
(2)前記固定部は、前記圧電セラミックの前記他面の中央部を固定することが好ましい。
圧電セラミックの他面の中央部を固定することで、金属板の外周部が振幅し、振動板全体が駆動しやすくなる。
(【0011】以降は省略されています)
この特許をJ-PlatPat(特許庁公式サイト)で参照する
関連特許
日本特殊陶業株式会社
センサ
26日前
日本特殊陶業株式会社
センサ
26日前
日本特殊陶業株式会社
センサ
26日前
日本特殊陶業株式会社
センサ
26日前
日本特殊陶業株式会社
センサ
26日前
日本特殊陶業株式会社
センサ
12日前
日本特殊陶業株式会社
保持部材
19日前
日本特殊陶業株式会社
圧電素子
12日前
日本特殊陶業株式会社
保持装置
15日前
日本特殊陶業株式会社
加熱装置
19日前
日本特殊陶業株式会社
圧電発音体
26日前
日本特殊陶業株式会社
化学センサ
今日
日本特殊陶業株式会社
スパークプラグ
19日前
日本特殊陶業株式会社
セラミック部品
27日前
日本特殊陶業株式会社
ホットモジュール
27日前
日本特殊陶業株式会社
ホットモジュール
27日前
日本特殊陶業株式会社
無鉛圧電磁器組成物
12日前
日本特殊陶業株式会社
圧電セラミック積層体
26日前
日本特殊陶業株式会社
ガスセンサの製造方法
28日前
日本特殊陶業株式会社
アンモニアの合成装置
8日前
日本特殊陶業株式会社
アンモニアの合成装置
8日前
日本特殊陶業株式会社
アンモニアの合成システム
8日前
日本特殊陶業株式会社
金属有機構造体、および賦形体
29日前
日本特殊陶業株式会社
回路基板、およびパワーデバイス
21日前
日本特殊陶業株式会社
回路基板、およびパワーデバイス
21日前
日本特殊陶業株式会社
固体酸化物形電解セルおよびその利用
27日前
日本特殊陶業株式会社
固体酸化物形電解セルおよびその利用
27日前
日本特殊陶業株式会社
固体酸化物形電解セルおよびその利用
27日前
日本特殊陶業株式会社
固体酸化物形電解セルおよびその利用
27日前
日本特殊陶業株式会社
固体酸化物形電解セルおよびその利用
27日前
日本特殊陶業株式会社
固体酸化物形電解セルおよびその利用
27日前
日本特殊陶業株式会社
固体酸化物形電解セルおよびその利用
27日前
日本特殊陶業株式会社
固体酸化物形電解セルおよびその利用
27日前
日本特殊陶業株式会社
固体酸化物形電解セルおよびその利用
27日前
日本特殊陶業株式会社
基板保持部材及びセラミックスサセプタ
29日前
日本特殊陶業株式会社
基板保持部材及びセラミックスサセプタ
29日前
続きを見る
他の特許を見る