TOP
|
特許
|
意匠
|
商標
特許ウォッチ
Twitter
他の特許を見る
10個以上の画像は省略されています。
公開番号
2025169555
公報種別
公開特許公報(A)
公開日
2025-11-14
出願番号
2024074350
出願日
2024-05-01
発明の名称
保持装置
出願人
日本特殊陶業株式会社
代理人
弁理士法人暁合同特許事務所
主分類
H01L
21/683 20060101AFI20251107BHJP(基本的電気素子)
要約
【課題】必要な硬度を保持しつつ、ガス流量を向上させた多孔質体を備える保持装置を提供する。
【解決手段】保持装置は、ウェハを保持する第1表面を含み、セラミックスを主成分とする板状部材と、板状部材の内部に形成されたガス流路とを有する保持基板を備える。基板側ガス流路は、その一部に、セラミックスを主成分とし、多数の気孔を含む、ガス透過性の多孔質体70が配置された箇所からなる多孔領域を有している。多孔質体70は、気孔71として、柱状に延びて形成された柱状気孔71Aを含む。
【選択図】図7
特許請求の範囲
【請求項1】
対象物を保持する第1表面を含み、セラミックスを主成分とする板状部材と、前記板状部材の内部に形成されたガス流路とを有する保持基板を備える保持装置であって、
前記ガス流路は、その一部に、セラミックスを主成分とし、多数の気孔を含む、ガス透過性の多孔質体が配置された箇所からなる多孔領域を有し、
前記多孔質体は、前記気孔として、柱状に延びて形成された柱状気孔を含む、保持装置。
続きを表示(約 300 文字)
【請求項2】
前記多孔質体は、前記気孔として、球状に形成された多数の球状気孔を含む、請求項1に記載の保持装置。
【請求項3】
前記柱状気孔の幅が5μm以上20μm以下であり、
前記柱状気孔の長さを前記柱状気孔の前記幅で除した値で表されるアスペクト比が5以上である、請求項1又は2に記載の保持装置。
【請求項4】
前記球状気孔の径が25μm以上55μm以下である、請求項2に記載の保持装置。
【請求項5】
前記多孔質体に含まれる前記気孔の体積全体に占める前記柱状気孔の体積割合が40%以上60%以下である、請求項2に記載の保持装置。
発明の詳細な説明
【技術分野】
【0001】
本開示は、保持装置に関する。
続きを表示(約 1,900 文字)
【背景技術】
【0002】
半導体を製造する際にウェハを保持する保持装置の一例として、特許文献1に記載の静電チャックが知られている。この種の静電チャックは、アルミナ等の絶縁性のセラミックスを主体としたチャック本体を備えており、そのチャック本体の表面上でウェハが静電引力により保持される。静電引力は、セラミックス基板の内部に設けられたチャック電極に電圧が印加されることで発生する。
【0003】
この種の静電チャックでは、プラズマエッチング等のプラズマ処理において、セラミックス基板とウェハとの間に、ヘリウムガス等の熱伝導性ガスを供給して、ウェハから熱を取り除くことが行われている。そのため、静電チャックのチャック本体の内部には、外部から供給された熱伝導ガスを、ウェハに向かって流すための管路が、チャック本体の裏面からウェハが載せられる表面まで延びるように形成されている。
【0004】
プラズマ処理時には、チャック本体を支持する台座に高周波電力が印加されることによって、ウェハにバイアス電圧が生じる。この場合、ウェハと台座との間の電位差が大きくなり、直線状に延びる管路内でアーク放電が発生し、そのアーク放電によってチャック本体に保持されたウェハが損傷することがある。このようなアーク放電の発生を抑制するため、管路の内部に多孔質体が配される。特許文献1に記載の静電チャックにおいて、多孔質体は、アルミナ等の絶縁性のセラミックス材料によって構成される。多孔質体の内部には、熱伝導性ガスを通過させる通気経路が網目状に形成されている。この通気経路は、多孔質体の焼成による製造時に、合成樹脂製のビーズや炭素粉末等の造孔材が酸化消失した痕である気孔によって形成される。つまり、多孔質体内において、複数の気孔が網目状に繋がることで、通気経路が形成される。
【先行技術文献】
【特許文献】
【0005】
特許第4959905号公報
【発明の概要】
【発明が解決しようとする課題】
【0006】
多孔質体の熱伝導性ガスの透過性を高めるためには、多孔質体の気孔率を上昇させる必要がある。しかしながら、従来の手法では、多孔質体の気孔率を上昇させるほど、多孔質体の硬度が低下しやすくなる。多孔質体の取り扱いの観点からは、多孔質体が一定の硬度を有していることが好ましい。
【0007】
本開示は上記のような事情に基づいて完成されたものであって、必要な硬度を保持しつつ、ガス流量を向上させた多孔質体を備える保持装置を提供することを目的とする。
【課題を解決するための手段】
【0008】
本開示の保持装置は、対象物を保持する第1表面を含み、セラミックスを主成分とする板状部材と、前記板状部材の内部に形成されたガス流路とを有する保持基板を備える保持装置であって、前記ガス流路は、その一部に、セラミックスを主成分とし、多数の気孔を含む、ガス透過性の多孔質体が配置された箇所からなる多孔領域を有し、前記多孔質体は、前記気孔として、柱状に延びて形成された柱状気孔を含む。
【発明の効果】
【0009】
本開示によれば、必要な硬度を保持しつつ、ガス流量を向上させた多孔質体を備える保持装置を提供することができる。
【図面の簡単な説明】
【0010】
図1は、第1実施形態に係る保持装置の概略構成を模式的に表した説明図である。
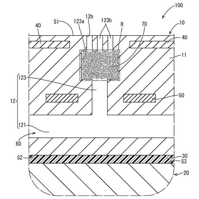
図2は、第1実施形態に係る保持装置の内部構造を模式的に表した断面図である
図3は、基板側ガス流路の一部を拡大した保持装置の断面図である。
図4は、多孔質体の内部構造の一部を模式的に表した説明図である。
図5は、多孔質体の未焼結成形物における第1造孔材及び第2造孔材のそれぞれの体積割合と、多孔質体に含まれる気孔の体積全体に占める柱状気孔の体積割合とをまとめた説明図である。
図6は、第1造孔材の幅、長さ及びアスペクト比を説明する説明図である。
図7は、実施例の試料に係る多孔質体の切断面を撮影して得られたSEM画像である。
図8は、実施例及び比較例についてのHe透過量-圧力線図である。
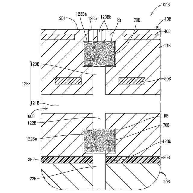
図9は、第2実施形態に係る保持装置の基板側ガス流路の一部を拡大した保持装置の断面図である。
【発明を実施するための形態】
(【0011】以降は省略されています)
この特許をJ-PlatPat(特許庁公式サイト)で参照する
関連特許
日本特殊陶業株式会社
賦形体
18日前
日本特殊陶業株式会社
センサ
1か月前
日本特殊陶業株式会社
センサ
11日前
日本特殊陶業株式会社
加熱装置
2日前
日本特殊陶業株式会社
保持装置
1か月前
日本特殊陶業株式会社
保持装置
23日前
日本特殊陶業株式会社
反応装置
4日前
日本特殊陶業株式会社
ガスセンサ
25日前
日本特殊陶業株式会社
化学センサ
1か月前
日本特殊陶業株式会社
ガスセンサ
3日前
日本特殊陶業株式会社
ガスセンサ
9日前
日本特殊陶業株式会社
ガスセンサ
2日前
日本特殊陶業株式会社
電極埋設部材
1か月前
日本特殊陶業株式会社
アンテナ装置
4日前
日本特殊陶業株式会社
FETセンサ
2日前
日本特殊陶業株式会社
アンテナ装置
4日前
日本特殊陶業株式会社
アンテナ装置
4日前
日本特殊陶業株式会社
スパークプラグ
1か月前
日本特殊陶業株式会社
積層磁石及びモーター
2日前
日本特殊陶業株式会社
コンデンサモジュール
2日前
日本特殊陶業株式会社
セルスタックシステム
1か月前
日本特殊陶業株式会社
積層磁石及びモーター
2日前
日本特殊陶業株式会社
積層磁石及びモーター
2日前
日本特殊陶業株式会社
積層磁石及びモーター
2日前
日本特殊陶業株式会社
積層磁石及びモーター
2日前
日本特殊陶業株式会社
積層磁石及びモーター
2日前
日本特殊陶業株式会社
アンモニアの合成装置
1か月前
日本特殊陶業株式会社
アンモニアの合成装置
1か月前
日本特殊陶業株式会社
超音波トランスデューサ
9日前
日本特殊陶業株式会社
検知装置および検知方法
1か月前
日本特殊陶業株式会社
超音波トランスデューサ
9日前
日本特殊陶業株式会社
電極および蓄電デバイス
1か月前
日本特殊陶業株式会社
電極および蓄電デバイス
1か月前
日本特殊陶業株式会社
アンモニアの合成システム
1か月前
日本特殊陶業株式会社
貯蔵装置および水素の製造方法
2日前
日本特殊陶業株式会社
非接触給電用のコイルユニット
3日前
続きを見る
他の特許を見る