TOP
|
特許
|
意匠
|
商標
特許ウォッチ
Twitter
他の特許を見る
10個以上の画像は省略されています。
公開番号
2025167237
公報種別
公開特許公報(A)
公開日
2025-11-07
出願番号
2024071659
出願日
2024-04-25
発明の名称
画像読取装置
出願人
キヤノン電子株式会社
代理人
主分類
H04N
1/04 20060101AFI20251030BHJP(電気通信技術)
要約
【課題】紙質や紙厚の違いによる影響を受けずに、表裏の読取値の差分の補正を行う画像読取装置を提供する。
【解決手段】画像読取装置200は、原稿を搬送路に搬送する搬送部86と、搬送部86によって搬送された原稿の表面を読み取る表面画像読取部14と、表面画像読取部14と搬送路を挟んで反対側に配置され原稿の裏面を読み取る裏面画像読取部15と、表面画像読取部14で原稿の第1面を読み取って得られた第1読取画像と裏面画像読取部15で原稿の第1面を読み取って得られた第2読取画像とにおける同一の領域である特定領域を特定する領域選択部、第1読取画像と第2読取画像の特定領域における濃度のピークを算出するピーク算出部及び第1読取画像と第2読取画像の濃度のピークが同一の値となるように補正するための補正値を濃度のピークを用いて生成する濃度補正値生成部を含む画像処理部78と、を有する。
【選択図】図3
特許請求の範囲
【請求項1】
原稿を搬送路に搬送する搬送部と、
前記搬送部によって搬送された原稿の表面を読み取る表面画像読取部と、
前記表面画像読取部と前記搬送路を挟んで反対側に配置され前記原稿の裏面を読み取る裏面画像読取部と、を備え、
前記表面画像読取部で前記原稿の第1面を読み取って得られた第1読取画像と前記裏面画像読取部で前記原稿の前記第1面を読み取って得られた第2読取画像とにおける同一の領域である特定領域を特定する領域選択部と、
前記第1読取画像と前記第2読取画像の前記特定領域における濃度のピークを算出するピーク算出部と、
前記第1読取画像と前記第2読取画像の濃度のピークが同一の値となるように補正するための補正値を濃度のピークを用いて生成する濃度補正値生成部と、を有することを特徴とする画像読取装置。
続きを表示(約 520 文字)
【請求項2】
前記第1読取画像と前記第2読取画像の前記特定領域における濃度ヒストグラムをそれぞれ算出するヒストグラム算出部とを有し、前記濃度ヒストグラムからピークを算出することを特徴とする請求項1に記載の画像読取装置。
【請求項3】
前記濃度補正値生成部は、前記第1読取画像および第2読取画像の濃度のうち、第1の濃度範囲における画素数の多い濃度値と第2の濃度範囲における画素数の多い濃度値に基づいて前記表面画像読取部または前記裏面画像読取部への入力値に対する出力値が同一の値となるように補正することを特徴とする請求項1に記載の画像処理装置。
【請求項4】
前記濃度補正値生成部は、前記領域選択部で選択した前記第1読取画像および前記第2読取画像の全体領域または選択領域のいずれかに対して補正値を生成することを特徴とする請求項1に記載の画像読取装置。
【請求項5】
前記濃度補正値生成部は、前記第1読取画像の濃度のピークと前記第2読取画像の濃度のピークとの濃度値の差分が所定の値よりも大きい場合、前記補正値の生成を行わず濃度の差分が大きい旨を報知することを特徴とする請求項1に記載の画像読取装置。
発明の詳細な説明
【技術分野】
【0001】
本発明は、デジタル複写機、ファクシミリ装置、スキャナ等の画像読み取り装置に関し、特に、原稿の両面を同時に一度の搬送で読み取る両面同時読み取り構成を持った画像読取装置に関する。
続きを表示(約 2,000 文字)
【背景技術】
【0002】
近年では、原稿の表面及び裏面をそれぞれ個別に読み取ることが可能な読取機構を搭載し、一度の原稿搬送で原稿の表面及び裏面を読み取ることが可能な読取装置がある。しかし、この種の読取装置は、原稿の表面を読み取った際に得られる読取値と、原稿の裏面を読み取った際に得られる読取値とが各々異なってしまう問題がある。原因としては、読取センサの感度差、光学系の光学差や、読取センサを構成する部材の経年劣化などが挙げられる。さらに、この種の読取装置では様々な材質や厚さの原稿を搬送可能なものがあり、このような材質や厚さによる影響も考えられる。
【0003】
特許文献1には、表面の読取値と裏面の読取値との差を、あらかじめ用意された濃度基準原稿を読み取って得られた読取データに基づいてゲイン補正値およびオフセット補正値によって低減する技術について開示されている。
【先行技術文献】
【特許文献】
【0004】
特許第4785690号公報
【発明の概要】
【発明が解決しようとする課題】
【0005】
しかしながら、原稿の紙質や紙厚が異なる場合、搬送路内での搬送原稿から読取センサまでの距離が表裏で異なる。そのため、特許文献1の技術では、あらかじめ用意された濃度基準原稿を用いるため、実際に使用者が搬送させたい原稿の紙質や紙厚が異なる場合に表面の読取値と裏面の読取値との差を完全に補正することができない。実際に使用者が使用する原稿に合わせて原稿の表面画像及び裏面画像の読取値を合わせることが可能な仕組みの開発が必要視されることになる。
【課題を解決するための手段】
【0006】
上記を鑑みて、本発明に係る画像処理装置は、
原稿を搬送路に搬送する搬送部と、
前記搬送部によって搬送された原稿の表面を読み取る表面画像読取部と、
前記表面画像読取部と前記搬送路を挟んで反対側に配置され前記原稿の裏面を読み取る裏面画像読取部と、を備え、
前記表面画像読取部で前記原稿の第1面を読み取って得られた第1読取画像と前記裏面画像読取部で前記原稿の前記第1面を読み取って得られた第2読取画像とにおける同一の領域である特定領域を特定する領域選択部と、
前記第1読取画像と前記第2読取画像の前記特定領域における濃度のピークを算出するピーク算出部と、
前記第1読取画像と前記第2読取画像の濃度のピークが同一の値となるように補正するための補正値を濃度のピークを用いて生成する濃度補正値生成部と、を有することを特徴とする。
【発明の効果】
【0007】
本発明の画像読取装置によれば、補正値生成のための基準原稿をあらかじめ準備することなく、紙質や紙厚の違いによる影響を受けずに、表裏の読取値の差分の補正を行うことができる。
【図面の簡単な説明】
【0008】
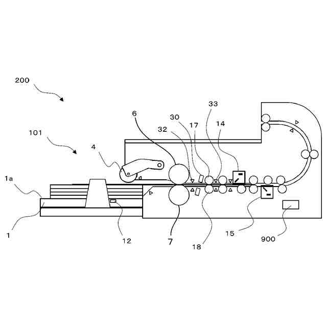
本発明の一実施形態に係る画像読取装置の構成を概略的に示す部分断面図。
画像読取装置の主要部の構成を概略的に示す模式図。
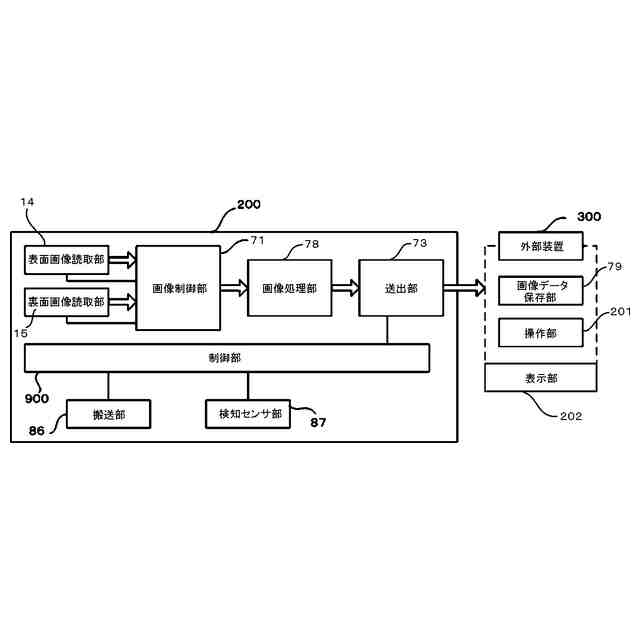
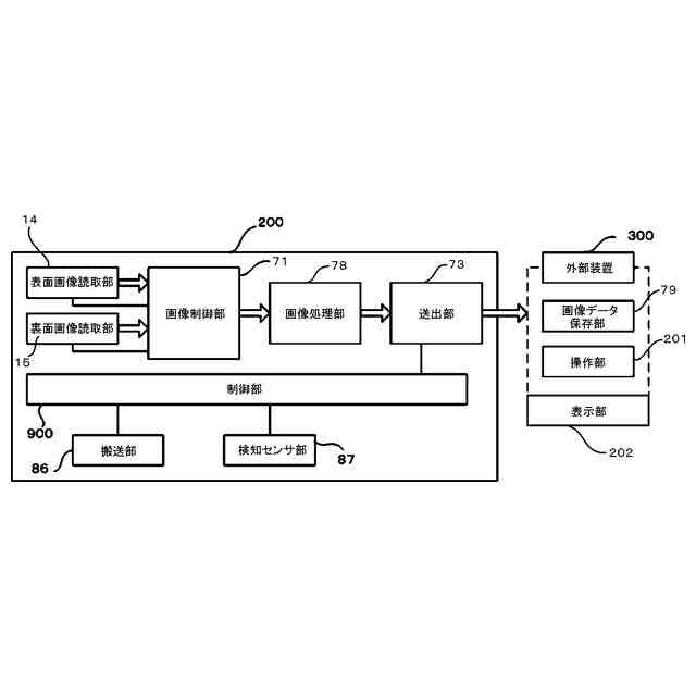
本発明の一実施形態に係る画像読取装置のブロック図。
本発明の一実施形態に係る画像処理部のブロック図。
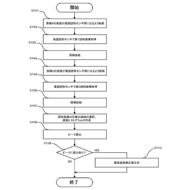
本発明の第1の実施形態に係る表裏画像読取部の濃度調整処理のフローチャート。
本発明の一実施形態に係る読取原稿の一例。
本発明の第1の実施形態に係る表裏画像読取部で読み取った読取画像の濃度ヒストグラム。
本発明の第1の実施形態に係る入出力濃度特性のグラフ。
本発明の第2の実施形態に係る表裏画像読取部の濃度調整処理のフローチャート。
本発明の第2の実施形態に係る表裏画像読取部で読み取った読取画像の濃度ヒストグラム。
本発明の第2の実施形態に係る表裏画像読取部で読み取った読取画像の濃度ヒストグラム。
本発明の第2の実施形態に係る表裏画像読取部で読み取った読取画像の濃度ヒストグラム。
本発明の第2の実施形態に係る入出力濃度特性のグラフ。
【発明を実施するための形態】
【0009】
以下に、添付図面を参照して本発明を実施するための形態について詳細に説明する。以下の実施の形態は、本発明を実施するための一例であり、本発明は以下の実施の形態に限定されるものではない。本発明の趣旨を逸脱しない範囲において本発明が使用される装置の構成や各種条件によって適宜修正又は変更されるべきものである。
【0010】
<第1の実施形態>
まず、本発明の第1の実施形態に係る画像読取装置について説明する。
(【0011】以降は省略されています)
この特許をJ-PlatPat(特許庁公式サイト)で参照する
関連特許
キヤノン電子株式会社
モータ
22日前
キヤノン電子株式会社
加工装置
22日前
キヤノン電子株式会社
画像読取装置
22日前
キヤノン電子株式会社
原稿搬送装置
23日前
キヤノン電子株式会社
シート搬送装置
22日前
キヤノン電子株式会社
固定装置及び加工装置
22日前
キヤノン電子株式会社
物体検出システム、物体検出方法およびプログラム
22日前
キヤノン電子株式会社
画像処理システム、読取装置、及び画像処理システムの制御方法
22日前
個人
イヤーピース
22日前
個人
イヤーマフ
1か月前
個人
監視カメラシステム
1か月前
個人
スイッチシステム
1か月前
キーコム株式会社
光伝送線路
1か月前
サクサ株式会社
中継装置
1か月前
個人
スキャン式車載用撮像装置
1か月前
WHISMR合同会社
収音装置
2か月前
サクサ株式会社
中継装置
1か月前
アイホン株式会社
電気機器
2か月前
キヤノン株式会社
撮像装置
3か月前
キヤノン株式会社
撮像装置
1日前
個人
映像表示装置、及びARグラス
1か月前
株式会社リコー
画像形成装置
2か月前
サクサ株式会社
無線システム
1か月前
株式会社リコー
画像形成装置
1か月前
キヤノン電子株式会社
画像読取装置
22日前
個人
ワイヤレスイヤホン対応耳掛け
2か月前
サクサ株式会社
無線通信装置
1か月前
キヤノン電子株式会社
画像読取装置
1か月前
サクサ株式会社
無線通信装置
1か月前
株式会社リコー
画像形成装置
3か月前
キヤノン電子株式会社
画像読取装置
1か月前
株式会社リコー
画像形成装置
3か月前
キヤノン電子株式会社
画像読取装置
2か月前
ヤマハ株式会社
放音制御装置
1か月前
個人
発信機及び発信方法
1か月前
株式会社ニコン
撮像装置
4か月前
続きを見る
他の特許を見る