TOP
|
特許
|
意匠
|
商標
特許ウォッチ
Twitter
他の特許を見る
10個以上の画像は省略されています。
公開番号
2025167473
公報種別
公開特許公報(A)
公開日
2025-11-07
出願番号
2024072108
出願日
2024-04-26
発明の名称
画像処理システム、読取装置、及び画像処理システムの制御方法
出願人
キヤノン電子株式会社
代理人
弁理士法人ひのき国際特許事務所
主分類
H04N
1/00 20060101AFI20251030BHJP(電気通信技術)
要約
【課題】従来、スキャナから出力される原稿の読み取り画像データは、ユーザー等による設定に応じて色味調整等が行われた画像データであることが多く、機械学習用の入力データとして用いるには適さない可能性があり、機械学習の精度に影響を及ぼす可能性があった。
【解決手段】スキャナ装置100で読み取られ第2画像処理部380で処理される前の画像データ(リニアRGB画像)を、リニアRGB画像取得部360により取得してPC200に出力し、PC200では、スキャナ装置100から取得した画像データ(リニアRGB画像)を機械学習用のデータとして用いて機械学習を行う。
【選択図】図8
特許請求の範囲
【請求項1】
原稿又は被写体を読み取りデバイスにより読取ってカラー画像を構成する色成分ごとの画像データを生成する生成手段と、
前記画像データに対してユーザー設定可能な設定値に応じて変更する処理を行う変更処理手段と、
前記変更処理手段で処理される前の画像データを取得する取得手段と、
前記変更処理手段で処理された画像データと前記取得手段により取得された画像データの少なくともいずれかを出力する出力手段と、を有する読取装置と、
前記取得手段により取得されて出力された画像データを学習用のデータとして用いて機械学習を行う学習手段を有する情報処理装置と、
を有することを特徴とする画像処理システム。
続きを表示(約 1,700 文字)
【請求項2】
前記読取装置は、前記生成手段が生成した画像データに対して前記読み取りデバイスの特性に応じた画像処理を実行する画像処理手段を有し、
前記変更処理手段は、前記画像処理手段で処理された画像データに対して処理を行い、
前記取得手段は、前記画像処理手段で処理された画像データであって前記変更処理手段で処理される前の画像データを取得することを特徴とする請求項1に記載の画像処理システム。
【請求項3】
前記読取装置は、
前記画像処理手段として、
前記生成手段が生成した画像データに対して前記読み取りデバイスの特性に応じた処理を実行する第1処理手段と、
前記生成手段が生成した画像データに対して前記第1処理手段とは異なる前記読み取りデバイスの特性に応じた処理を行う第2処理手段と、を有し、
前記変更処理手段は、前記第1処理手段で処理された第1画像データに対して処理を行い、
前記取得手段は、前記第2処理手段で処理された第2画像データを取得することを特徴とする請求項1に記載の画像処理システム。
【請求項4】
前記情報処理装置は、前記学習手段で学習した学習済みモデルを用いて推論を行う推論手段を有し、
前記推論手段は、前記取得手段により取得されて出力された画像データを入力データとして用いることを特徴とする請求項1から3のいずれか一項に記載の画像処理システム。
【請求項5】
前記学習用のデータは、前記取得手段により取得された画像データと、該画像データに対する前記推論の結果であるラベルを含む教師データであることを特徴とする請求項4に記載の画像処理システム。
【請求項6】
前記情報処理装置は、
前記学習手段に対して、前記ラベルを指定する指定手段を有することを特徴とする請求項5に記載の画像処理システム。
【請求項7】
前記情報処理装置は、
前記読取装置で読み取る原稿又は被写体の種類の情報を含む読み取り設定の情報をユーザーが設定するための設定手段と、
前記設定手段により設定された読み取り設定の情報を前記読取装置に送信する送信手段と、を有し、
前記ラベルは、前記読み取り設定の情報に含まれる前記原稿又は被写体の種類の情報に応じたデータであることを特徴とする請求項5に記載の画像処理システム。
【請求項8】
前記画像処理手段が行う処理には、ノイズ除去処理が含まれることを特徴とする請求項2又は3に記載の画像処理システム。
【請求項9】
原稿又は被写体を読み取りデバイスにより読取ってカラー画像を構成する色成分ごとの画像データを生成する生成手段と、
前記生成手段が生成した画像データに対して前記読み取りデバイスの特性に応じた処理を実行する画像処理手段と、
前記画像処理手段により処理された画像データに対してユーザー設定可能な設定値に応じた変更処理を行う変更処理手段と、
前記変更処理手段で処理された画像データと、前記画像処理手段により処理された画像データであって前記変更処理手段で処理される前の画像データのいずれかを選択的に出力する、または両方を出力する出力手段と、
を有することを特徴とする読取装置。
【請求項10】
原稿又は被写体を読み取りデバイスにより読取ってカラー画像を構成する色成分ごとの画像データを生成する生成手段と、前記画像データに対してユーザー設定可能な設定値に応じて変更する処理を行う変更処理手段と、を有する読取装置と、情報処理装置とを有する画像処理システムの制御方法であって、
前記読取装置で実行される、前記変更処理手段で処理される前の画像データを取得する取得工程と、
前記情報処理装置で実行される、前記取得工程により取得されて出力された画像データを学習用のデータとして用いて機械学習を行う学習工程と、
を有することを特徴とする画像処理システムの制御方法。
発明の詳細な説明
【技術分野】
【0001】
本発明は、画像処理システム、読取装置、及び画像処理システムの制御方法に関する。
続きを表示(約 2,000 文字)
【背景技術】
【0002】
機械学習モデルを用いた画像認識(分類等)は、性能の向上とともに広く利用されるようになっている。
特許文献1は、読取画像情報を入力データとして学習を行い、原稿の頁情報を確認し、その結果に基づいて頁欠損の有無を判定している。
【先行技術文献】
【特許文献】
【0003】
特開2021-57710号公報
【発明の概要】
【発明が解決しようとする課題】
【0004】
画像読取装置から出力される原稿の読み取り画像データは、ユーザー等による画像処理設定(初期設定を含む)に応じて画像処理された画像データであることが多い。例えば、コントラストの変更やカラードロップアウト処理など色味が調整された画像データであることが多い。なお、ユーザーが意図的に画像処理設定を行っていない場合であっても、多くの場合、初期設定として例えば人の目で見て自然に感じるような設定がなされていたり、データサイズを抑えるための画像処理等が設定されている場合も多い。そのため、このような画像データはユーザーが所望するような画像にはなっているが、機械学習用の入力データ(学習データ)として用いるには適さない可能性があり、機械学習の精度に影響を及ぼす可能性があった。
【0005】
本発明は、上記の課題を解決するためになされたものである。本発明は、原稿等から読み取った画像データを入力データとして行う機械学習の精度を向上させることができる仕組みを提供することを目的とする。
【課題を解決するための手段】
【0006】
本発明は、原稿又は被写体を読み取りデバイスにより読取ってカラー画像を構成する色成分ごとの画像データを生成する生成手段と、前記画像データに対してユーザー設定可能な設定値に応じて変更する処理を行う変更処理手段と、前記変更処理手段で処理される前の画像データを取得する取得手段と、前記変更処理手段で処理された画像データと前記取得手段により取得された画像データの少なくともいずれかを出力する出力手段と、を有する読取装置と、前記取得手段により取得されて出力された画像データを学習用のデータとして用いて機械学習を行う学習手段を有する情報処理装置と、を有することを特徴とする。
【発明の効果】
【0007】
本発明によれば、原稿等から読み取った画像データを入力データとして行う機械学習の精度を向上させることができる。
【図面の簡単な説明】
【0008】
本実施形態に係る画像処理システムの一例を示す図。
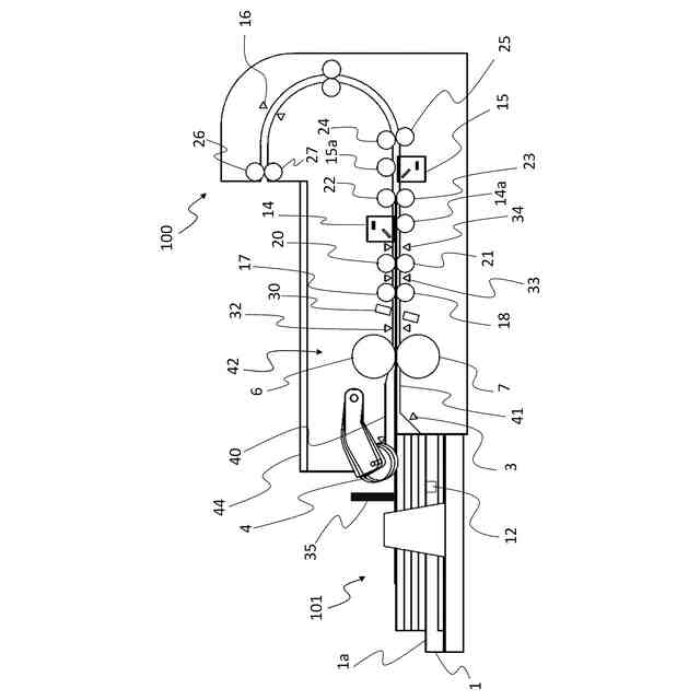
スキャナの一実施形態を示すシートフィードスキャナの構成例を示す図。
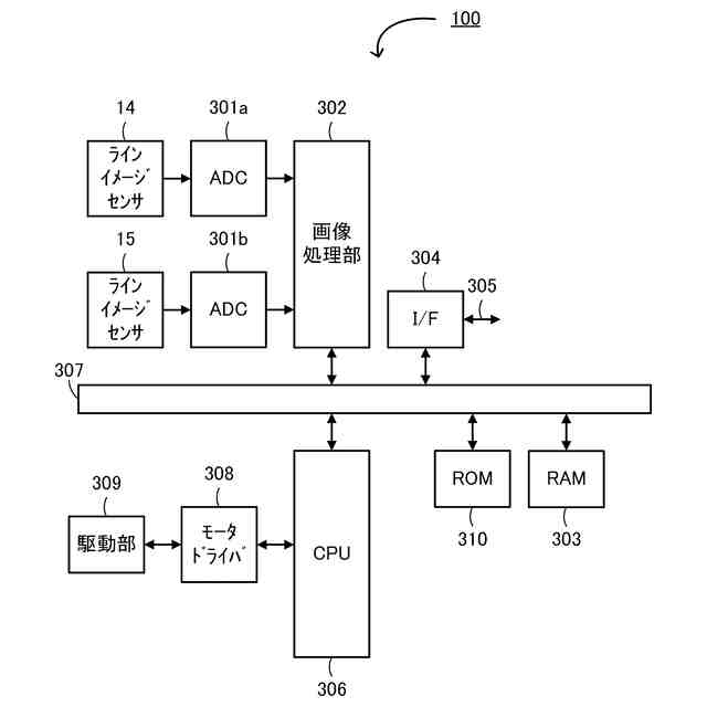
スキャナの制御構成の一例を示すブロック図。
PCの構成の一例を示すブロック図。
PCで動作する機械学習の構成の一例を示すブロック図。
PCで動作するアプリケーションとスキャナドライバの構成の一例を示す図。
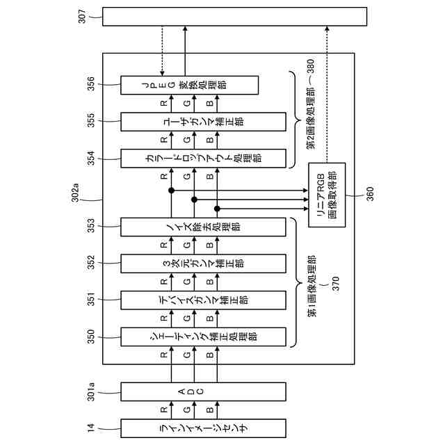
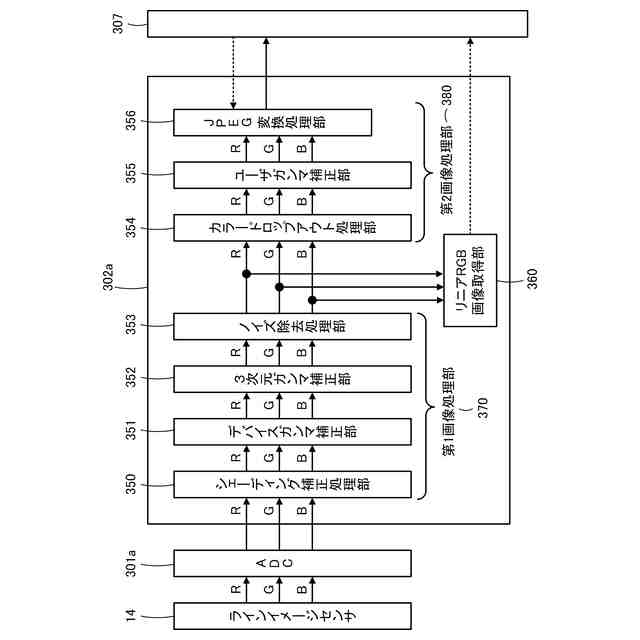
スキャナの画像処理部の構成の一例を示すブロック図。
スキャナの画像処理部の詳細構成の一例を示す図。
ユーザーガンマ設定画面の一例を示す図。
学習モデルおよび学習済みモデルを利用する際の入出力の構成の一例を示す概念図。
【発明を実施するための形態】
【0009】
以下、発明を実施するための形態について図面を用いて説明する。
以下、画像読取装置と、この画像読取装置に接続可能な情報処理装置とを備える画像処理システムについて説明する。
【0010】
〔第1実施形態〕
図1は、本発明の一実施形態に係る画像処理システムの一例を示す図である。
図1において、スキャナ100は、原稿から画像データを読み取る画像読取装置である。スキャナ100は、パーソナルコンピュータ(PC)200と通信可能に接続されている。スキャナ100とPC200とは、例えばUSB(Universal Serial Bus)などの通信インターフェースを介して接続されていてもよいし、ネットワークを介して接続される構成でもよい。なお、通信インターフェースは、有線でも、ワイヤレスUSB、Bluetooth(登録商標)やNFC(Near Field Communication)などの無線インターフェースであってもよい。また、ネットワークは、有線、無線のいずれでもよい。
PC200は、スキャナ100を制御する情報処理装置である。なお、PC200は、パーソナルコンピュータに限定されるものではなく、タブレット端末やスマートフォン等でもよい。
(【0011】以降は省略されています)
この特許をJ-PlatPat(特許庁公式サイト)で参照する
関連特許
キヤノン電子株式会社
モータ
22日前
キヤノン電子株式会社
加工装置
22日前
キヤノン電子株式会社
画像読取装置
22日前
キヤノン電子株式会社
原稿搬送装置
23日前
キヤノン電子株式会社
シート搬送装置
22日前
キヤノン電子株式会社
固定装置及び加工装置
22日前
キヤノン電子株式会社
物体検出システム、物体検出方法およびプログラム
22日前
キヤノン電子株式会社
シート給送装置、シート給送装置の制御方法、及びプログラム
25日前
キヤノン電子株式会社
画像処理システム、読取装置、及び画像処理システムの制御方法
22日前
個人
イヤーピース
22日前
個人
イヤーマフ
1か月前
個人
監視カメラシステム
1か月前
キーコム株式会社
光伝送線路
1か月前
個人
スイッチシステム
1か月前
サクサ株式会社
中継装置
1か月前
個人
スキャン式車載用撮像装置
1か月前
サクサ株式会社
中継装置
1か月前
WHISMR合同会社
収音装置
2か月前
キヤノン株式会社
撮像装置
3か月前
キヤノン株式会社
撮像装置
1日前
アイホン株式会社
電気機器
2か月前
キヤノン電子株式会社
画像読取装置
2か月前
サクサ株式会社
無線システム
1か月前
サクサ株式会社
無線通信装置
1か月前
個人
映像表示装置、及びARグラス
1か月前
キヤノン電子株式会社
画像読取装置
1か月前
ヤマハ株式会社
放音制御装置
1か月前
サクサ株式会社
無線通信装置
1か月前
キヤノン電子株式会社
画像読取装置
22日前
個人
ワイヤレスイヤホン対応耳掛け
2か月前
株式会社リコー
画像形成装置
1か月前
株式会社リコー
画像形成装置
2か月前
株式会社リコー
画像形成装置
3か月前
キヤノン電子株式会社
画像読取装置
1か月前
日本電気株式会社
海底分岐装置
1か月前
キヤノン株式会社
画像処理装置
25日前
続きを見る
他の特許を見る