TOP
|
特許
|
意匠
|
商標
特許ウォッチ
Twitter
他の特許を見る
10個以上の画像は省略されています。
公開番号
2025158901
公報種別
公開特許公報(A)
公開日
2025-10-17
出願番号
2024186010
出願日
2024-10-22
発明の名称
加熱装置
出願人
日本特殊陶業株式会社
代理人
弁理士法人プロスペック特許事務所
主分類
H05B
3/14 20060101AFI20251009BHJP(他に分類されない電気技術)
要約
【課題】 セラミックヒータを備える加熱装置の作動中にイオンマイグレーションが発生することを抑制すること。
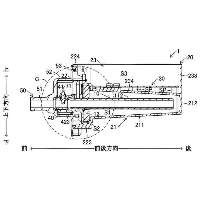
【解決手段】 加熱装置1は、筒状のセラミック基体とセラミック基体に埋設された線状の抵抗発熱体とを有し、抵抗発熱体の一端に接続された第一電極パッド13および抵抗発熱体の他端に接続された第二電極パッド14が表面に形成される基部111、および、抵抗発熱体により加熱される加熱部112が形成されたセラミックヒータ10と、第一電極パッド13に接続される第一導電部材61と、第二電極パッド14に接続される第二導電部材62と、セラミックヒータ10を収容するハウジング20と、を備える。ハウジング20には、加熱部112を収容する第一空間S1と、基部111を収容する第二空間S2と、が形成される。そして、第二空間S2内に封止部材が充填される。
【選択図】 図3
特許請求の範囲
【請求項1】
筒状のセラミック基体と前記セラミック基体に埋設された抵抗発熱体とを有し、前記抵抗発熱体の一端に接続された第一電極および前記抵抗発熱体の他端に接続された第二電極が表面に形成される基部および前記抵抗発熱体により加熱される加熱部が形成されたセラミックヒータと、
前記第一電極に接続される第一導電部材と、
前記第二電極に接続される第二導電部材と、
前記セラミックヒータを収容するハウジングと、
を備える加熱装置であって、
前記ハウジングには、前記加熱部を収容する第一空間と、前記基部を収容する第二空間と、が形成され、
前記第二空間内に封止部材が充填される、
加熱装置。
続きを表示(約 1,800 文字)
【請求項2】
請求項1に記載の加熱装置であって、
前記セラミックヒータを前記ハウジングに固定するための固定部材を備え、
前記固定部材は、前記第二空間内に配設されるとともに、前記基部、前記第一導電部材、および前記第二導電部材を取り囲むように構成された囲繞部を備え、
前記封止部材が前記囲繞部の内部空間である囲繞空間に充填される、
加熱装置。
【請求項3】
請求項2に記載の加熱装置であって、
前記セラミックヒータは、前記基部と前記加熱部が軸方向に連続して形成された円筒部と、前記基部と前記加熱部との境界位置から前記円筒部の径外方に延在するフランジ部を備え、
前記ハウジングの前記第一空間と前記第二空間との間には、前記第一空間と前記第二空間とを連通し且つ前記フランジ部の外径よりも小さい直径を有する円孔が形成された段差壁部が形成され、
前記フランジ部が前記段差壁部に当接することにより、前記第一空間と前記第二空間が区画される、
加熱装置。
【請求項4】
請求項3に記載の加熱装置であって、
前記セラミックヒータは、前記円筒部の軸方向が第一方向に沿うように前記ハウジング内に配設されており、
前記囲繞部は、前記第一方向に直交する第二方向に互いに離間し前記基部の両側方を覆うように対向配置した一対の対向片と、前記一対の対向片の前記第一方向における一方の端部どうしを接続する接続片と、前記第一方向および前記第二方向に直交する第三方向における前記一対の対向片の一方の端部および前記接続片の一方の端部に囲まれる開口を閉塞する底片と、を有し、
前記囲繞空間は、前記一対の対向片、前記接続片、および前記底片により囲まれた空間により形成される、
加熱装置。
【請求項5】
請求項4に記載の加熱装置であって、
前記固定部材は、前記一対の対向片の前記第一方向における他方の端部および前記底片の前記第一方向における他方の端部から前記第一方向に直交する方向に拡がるように形成された抑え部を有し、
前記抑え部が前記フランジ部に当接することにより、前記セラミックヒータが前記固定部材により固定される、
加熱装置。
【請求項6】
請求項5に記載の加熱装置であって、
前記固定部材は、前記接続片に開口する一端を有するとともに前記囲繞空間とは反対の方向に延びる筒状の入口通路部を有し、
前記囲繞空間に配設された前記基部が前記入口通路部の一端に接続されることにより、前記入口通路部の内部空間と前記基部の内部空間が連通する、
加熱装置。
【請求項7】
請求項3に記載の加熱装置であって、
前記ハウジングには、前記第一空間と区画された第三空間が形成され、
前記第三空間内には、前記抵抗発熱体への通電を制御するための制御基板が配設され、
前記第一導電部材および前記第二導電部材は、それぞれ、前記第一電極および前記第二電極から前記制御基板に向かって延びているとともにそれぞれの先端部が前記制御基板に接続される、
加熱装置。
【請求項8】
請求項7に記載の加熱装置であって、
前記ハウジングには、前記第一空間から媒体を流出させるための出口通路部が形成されており、
前記入口通路部内を流れる媒体の温度を検出する第一温度センサと、前記出口通路部内を流れる媒体の温度を検出する第二温度センサと、を備え、
前記第一温度センサにより検出された温度を表す信号、および、前記第二温度センサにより検出された温度を表す信号が、前記制御基板に送信される、
加熱装置。
【請求項9】
請求項3に記載の加熱装置であって、
前記封止部材は、オレフィン系樹脂、エポキシ系樹脂、シリル基含有特殊ポリマー、のいずれかを主成分とするポッティング剤である、
加熱装置。
【請求項10】
請求項1乃至9のいずれか1項に記載の加熱装置であって、
車両に搭載される装置に形成される流路を流れる媒体を加熱するために用いられる、加熱装置。
発明の詳細な説明
【技術分野】
【0001】
本開示は、加熱装置に関する。
続きを表示(約 2,100 文字)
【背景技術】
【0002】
抵抗発熱体が埋設されたセラミック基体を有するセラミックヒータは、小型且つ軽量であり、絶縁性および昇温性に優れることから、様々な用途に用いられる。特許文献1は、セラミックヒータによって液体等の媒体を加熱する加熱装置を開示する。
【先行技術文献】
【特許文献】
【0003】
特開2023-160310号公報
【発明の概要】
【0004】
セラミックヒータを備える加熱装置により媒体を加熱する場合、加熱装置の内部は媒体の加熱によって高温状態となる。また、例えば加熱装置を車両に搭載したような場合、外部環境が高湿度状態である可能性もあり、こうした場合には外部の湿度が加熱装置に入り込んで、加熱装置の内部が高湿状態となる。このような高温高湿状態の下でセラミックヒータに通電する場合、セラミックヒータに電力を供給するための一対の導電部材間にイオンマイグレーションが発生する虞がある。イオンマイグレーションが発生した場合、一対の導電部材が短絡し、それによってセラミックヒータに供給する電力を制御する制御基板等が損傷する可能性がある。
【0005】
本開示は、上記した課題を解決することを目的とする。すなわち本開示の目的の一つは、セラミックヒータを備える加熱装置の作動中にイオンマイグレーションが発生することを抑制することである。
【0006】
本開示に係る加熱装置(1)は、筒状のセラミック基体とセラミック基体に埋設された抵抗発熱体とを有し、抵抗発熱体の一端に接続された第一電極(13)および抵抗発熱体の他端に接続された第二電極(14)が表面に形成される基部(111)および抵抗発熱体により加熱される加熱部(112)が形成されたセラミックヒータ(10)と、第一電極(13)に接続される第一導電部材(61)と、第二電極(14)に接続される第二導電部材(62)と、セラミックヒータ(10)を収容するハウジング(20)と、を備える。ハウジング(20)には、加熱部(112)を収容する第一空間(S1)と、基部(111)を収容する第二空間(S2)と、が形成される。そして、第二空間(S2)内に封止部材が充填される。
【0007】
本開示に係る加熱装置によれば、ハウジングの第二空間内に封止部材が充填される。第二空間内にはセラミックヒータの基部が配設され、この基部の表面には一対の電極(第一電極および第二電極)が形成されており、一対の電極のそれぞれには一対の導電部材(第一導電部材および第二導電部材)が接続される。従って、第二空間内に配設されるセラミックヒータの基部、一対の電極(第一電極および第二電極)、一対の導電部材(第一導電部材および第二導電部材)は、第二空間内に充填される封止部材によって封止される。これにより、一対の導電部材の絶縁が確保されるとともにその周辺の湿気が除去される。よって、第二空間が高湿状態にされることが防止され、その結果、一対の導電部材間にイオンマイグレーションが発生することを抑制することができる。
【0008】
なお、一対の導電部材(第一導電部材および第二導電部材)は、一対の電極間に所定の電圧を印加するために、制御基板等の電力供給源に接続されている。電力供給源は第二空間には配設されていないため、一対の導電部材は、第二空間に配設される部分と配設されていない部分とを有することになる。したがって、一対の導電部材のうち第二空間に配設されていない部分には封止部材が充填されない。しかしながら、イオンマイグレーションの発生部位は、導電部材のうち電極の近傍に位置する部分である。電極の近傍に位置する部分は第二空間内に配設されているから、この部分に封止部材が充填されることにより、それ以外の部分に封止部材が充填されていなくても、十分にイオンマイグレーションの発生を抑制することができる。
【0009】
封止部材は、本明細書においては、空間内に配置した部材を埋め込むことによりその部材を絶縁するとともにその部材の周囲から空気を除去することができる固形部材である。封止部材は、吸湿性が低く、且つ、絶縁性を有しているのが良い。封止部材として、典型的にはポッティング剤が用いられる。封止部材としてポッティング剤を用いることにより、第二空間内に容易に封止部材を充填することができる。ただし、吸湿性の高いポッティング剤は、内部を通ってイオンマイグレーションが発生する可能性があるため、使用すべきでない。
【0010】
本開示に係る加熱装置の一態様において、加熱装置(1)は、セラミックヒータ(10)をハウジング(20)に固定するための固定部材(40)を備える。固定部材(40)は、第二空間(S2)内に配設されるとともに、基部(111)、第一導電部材(61)、および第二導電部材(62)を取り囲むように構成された囲繞部(42)を備える。そして、封止部材が囲繞部(42)の内部空間である囲繞空間(S21)に充填される。
(【0011】以降は省略されています)
この特許をJ-PlatPat(特許庁公式サイト)で参照する
関連特許
日本特殊陶業株式会社
センサ
23日前
日本特殊陶業株式会社
保持部材
1か月前
日本特殊陶業株式会社
保持装置
26日前
日本特殊陶業株式会社
加熱装置
1か月前
日本特殊陶業株式会社
圧電素子
23日前
日本特殊陶業株式会社
保持装置
2日前
日本特殊陶業株式会社
保持装置
9日前
日本特殊陶業株式会社
化学センサ
11日前
日本特殊陶業株式会社
ガスセンサ
4日前
日本特殊陶業株式会社
電極埋設部材
10日前
日本特殊陶業株式会社
スパークプラグ
1か月前
日本特殊陶業株式会社
スパークプラグ
9日前
日本特殊陶業株式会社
無鉛圧電磁器組成物
23日前
日本特殊陶業株式会社
セルスタックシステム
9日前
日本特殊陶業株式会社
アンモニアの合成装置
19日前
日本特殊陶業株式会社
アンモニアの合成装置
19日前
日本特殊陶業株式会社
検知装置および検知方法
9日前
日本特殊陶業株式会社
電極および蓄電デバイス
10日前
日本特殊陶業株式会社
電極および蓄電デバイス
10日前
日本特殊陶業株式会社
アンモニアの合成システム
19日前
日本特殊陶業株式会社
回路基板、およびパワーデバイス
1か月前
日本特殊陶業株式会社
回路基板、およびパワーデバイス
1か月前
日本特殊陶業株式会社
磁性コイル、および無線給電用デバイス
9日前
日本特殊陶業株式会社
酸素発生反応用触媒、電極、および電気化学デバイス
2日前
日本特殊陶業株式会社
電気化学反応用触媒、電極、および電気化学デバイス
1か月前
日本特殊陶業株式会社
センサ素子、ガスセンサ、およびセンサ素子の製造方法
10日前
日本特殊陶業株式会社
インターカレーションのための溶液、インターカレーション方法、電極の製造方法、電極および電気化学素子
19日前
日本特殊陶業株式会社
電気化学セル、固体酸化物形電解セル、セルスタック、ホットモジュール、およびガス製造装置
23日前
個人
電子部品の実装方法
1か月前
個人
非衝突型ガウス加速器
3か月前
個人
電気式バーナー
1か月前
日本精機株式会社
回路基板
2か月前
愛知電機株式会社
装柱金具
1か月前
日星電気株式会社
面状ヒータ
2日前
アイホン株式会社
電気機器
3か月前
キヤノン株式会社
電子機器
2か月前
続きを見る
他の特許を見る