TOP
|
特許
|
意匠
|
商標
特許ウォッチ
Twitter
他の特許を見る
10個以上の画像は省略されています。
公開番号
2025151412
公報種別
公開特許公報(A)
公開日
2025-10-09
出願番号
2024052816
出願日
2024-03-28
発明の名称
装柱金具
出願人
愛知電機株式会社
代理人
主分類
H05K
7/12 20060101AFI20251002BHJP(他に分類されない電気技術)
要約
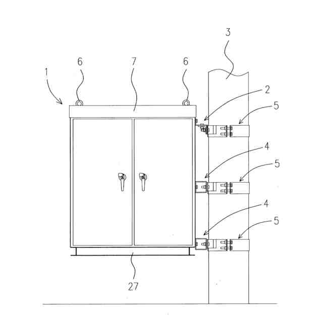
【課題】 電柱の低所位置に電気機器を容易に設置可能な装柱金具を提供する。
【解決手段】装柱バンド5と連結して電気機器1を電柱3に設置するする装柱金具1である。装柱金具2は、装柱バンド5の支持部5dを固定するベース部材12に連結されるL形部材9と、当該L形部材9と電気機器1Aに固定されることにより、電気機器1を電柱3に装柱するクランク部材8によって構成した。
【選択図】 図3
特許請求の範囲
【請求項1】
装柱バンドと連結して電気機器を電柱に支持する装柱金具であって、前記電気機器に固定されるクランク部材と、当該クランク部材に固定され、前記装柱バンドの支持部を固定するベース部材と連結するL形部材からなることを特徴とする装柱金具。
続きを表示(約 410 文字)
【請求項2】
前記クランク部材は、前記装柱バンドの支持部への連結位置を特定する位置決め機能を有することを特徴とする請求項1記載の装柱金具。
【請求項3】
装柱バンドと連結して電気機器を電柱に支持する装柱金具であって、前記電気機器に固定され、装柱バンドの支持部を固定するベース部材と連結する中空管部材からなることを特徴とする装柱金具。
【請求項4】
装柱バンドと連結して電気機器を電柱に支持する装柱金具であって、前記電気機器に固定される第1のL形部材と、当該第1のL形部材に固定され、前記装柱バンドの支持部を固定するベース部材に連結する第2のL形部材からなることを特徴とする装柱金具。
【請求項5】
装柱バンドと連結して電気機器を電柱に支持する装柱金具であって、前記電気機器に固定され、前記装柱バンドの支持部と連結するコ字形部材からなることを特徴とする装柱金具。
発明の詳細な説明
【技術分野】
【0001】
本発明は、電気機器の装柱金具に関する。
続きを表示(約 1,200 文字)
【背景技術】
【0002】
電柱の低所位置に高圧受電装置などの電気機器を設置する方法は開示されている(下記特許文献1参照)。
【先行技術文献】
【特許文献】
【0003】
実用新案登録第3237305号
【0004】
この方法によれば、電気機器を路面上に設置する場合と異なり、路面上のコンクリートベースや、コンクリートベース上に電気機器を設置する設置ベースの構築が必要がなくなる。路面上に電気機器を設置する場合、コンクリートベースには、地下溝が設置ベースの内側に開口した状態で形成されており、地下溝は地下の電線共同溝に繋がっている。そして、地下溝から電気機器の筐体の底部を介してケーブルが電気機器内部に接続される。一方、電気機器を電柱の低所位置に設置する場合は、特殊な装柱金具を用いて電気機器を電柱に支持する。そして、電柱の高所から引き降ろしたケーブルを筐体の脚部側から筐体内に引き込み、電気機器内部に接続する。
【0005】
前記特許文献1記載の装柱金具の一形態としては、電気機器の筐体の側面に固定されるL字形部材と、当該L字形部材上に取り付けられる中空矩形部材、および、当該中空矩形部材の側面に固定される位置決め部材によって概略構成され、前記中空矩形部材は、筐体に固定される。
【0006】
前記位置決め部材は、前記中空矩形部材の側面に固定される逆コ字形部材と、当該逆コ字形部材に固定されるコ字形部材と、該コ字形部材に固定される当接部材によって構成される。
【0007】
前記逆コ字形部材は中空矩形部材の長手方向の中央部に固定され、コ字形部材は逆コ字形部材の長手方向の中央部に固定される。当接部材はコ字形部材の長手方向の両端部に環状部を形成した帯状部材によって構成されている。
【0008】
また、前記中空矩形部材には、締着部材によって一対の支持棒が電柱側へ向けて固定されており、一対の支持棒の上のナットにベルト部材を引掛けつつ電柱周りに当該ベルト部材を配す。その状態で前記締着部材を締め付けることによって、高圧受電装置を電柱に揺動不能に取り付けている。
【発明の概要】
【発明が解決しようとする課題】
【0009】
前記特許文献1記載の装柱金具は、前述したように、構成部材が多く、電気機器に装柱する作業が煩雑であり、装柱作業にかかる時間も多くなってしまっていた。特に、位置決め部材は複数の構成部材からなり、装柱金具の構成をより一層複雑にしている。
【0010】
そこで、本発明は、電気機器の装柱作業を極力簡素化し、装柱作業の時間や負担を軽減することのできる装柱金具を提供するものである。
【課題を解決するための手段】
(【0011】以降は省略されています)
この特許をJ-PlatPat(特許庁公式サイト)で参照する
関連特許
愛知電機株式会社
装柱金具
1か月前
愛知電機株式会社
軸部材の外観検査装置
1か月前
愛知電機株式会社
巻線方法および巻線装置
2か月前
愛知電機株式会社
自動電圧平衡化装置および自動電圧平衡化方法
1か月前
愛知電機株式会社
自動電圧平衡化装置および自動電圧平衡化方法
1か月前
愛知電機株式会社
ステータおよびモータ
12日前
個人
電子部品の実装方法
1か月前
個人
電気式バーナー
1か月前
日本精機株式会社
回路基板
2か月前
個人
非衝突型ガウス加速器
3か月前
愛知電機株式会社
装柱金具
1か月前
日星電気株式会社
面状ヒータ
12日前
日本放送協会
基板固定装置
2か月前
個人
節電材料
3か月前
イビデン株式会社
配線基板
1か月前
キヤノン株式会社
電子機器
2か月前
アイホン株式会社
電気機器
3か月前
アイホン株式会社
電気機器
2か月前
メクテック株式会社
配線基板
3か月前
個人
静電気中和除去装置
27日前
東レ株式会社
霧化状活性液体供給装置
2か月前
FDK株式会社
基板
1か月前
サクサ株式会社
筐体の壁掛け構造
2か月前
イビデン株式会社
配線基板
2か月前
株式会社デンソー
電子装置
1か月前
イビデン株式会社
プリント配線板
2か月前
株式会社デンソー
電子装置
20日前
サクサ株式会社
開き角度規制構造
1か月前
イビデン株式会社
配線基板
3か月前
シャープ株式会社
加熱機器
1か月前
株式会社レクザム
剥離装置
1か月前
新電元工業株式会社
電子装置
2か月前
富士フイルム株式会社
積層体
1か月前
株式会社レゾナック
冷却装置
1か月前
オムロン株式会社
端子折り曲げ治具
1か月前
カシン工業株式会社
PTC発熱装置
3か月前
続きを見る
他の特許を見る