TOP
|
特許
|
意匠
|
商標
特許ウォッチ
Twitter
他の特許を見る
10個以上の画像は省略されています。
公開番号
2025140896
公報種別
公開特許公報(A)
公開日
2025-09-29
出願番号
2024040525
出願日
2024-03-14
発明の名称
端子折り曲げ治具
出願人
オムロン株式会社
代理人
個人
主分類
H05K
13/04 20060101AFI20250919BHJP(他に分類されない電気技術)
要約
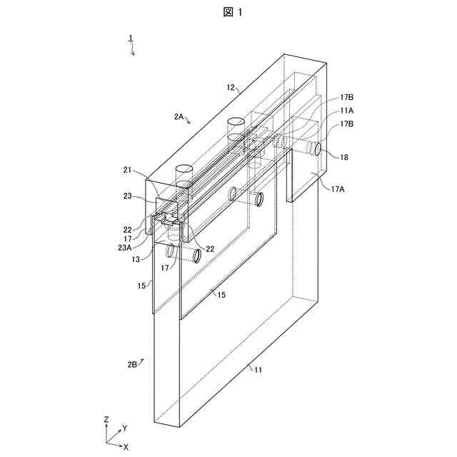
【課題】電子部品の一対の端子を直角に容易に折り曲げることができる端子折り曲げ治具を提供する。
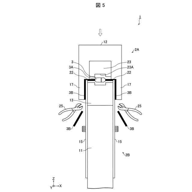
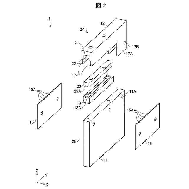
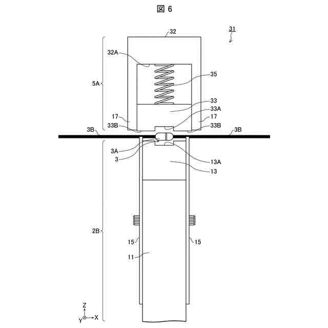
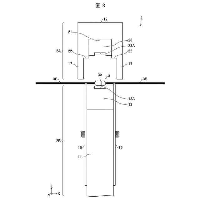
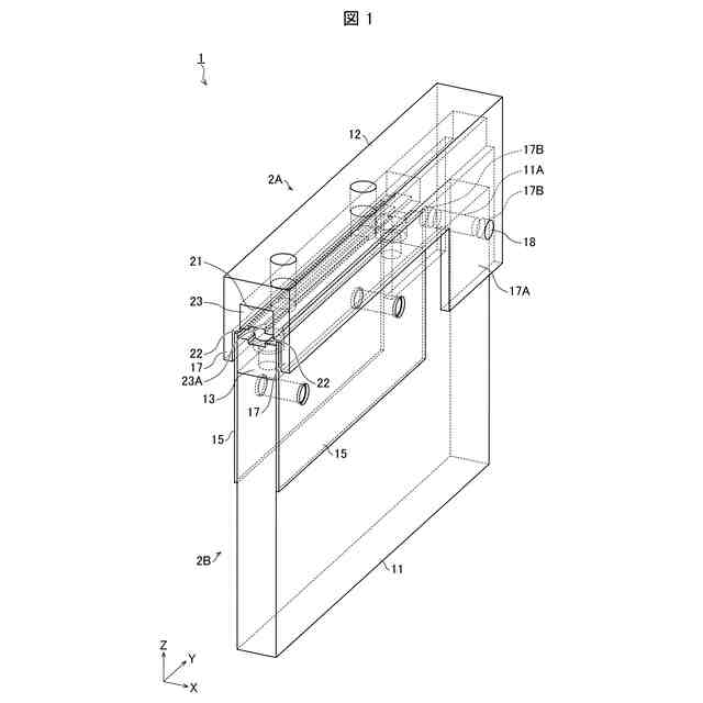
【解決手段】端子折り曲げ治具(1)は、電子部品(3)の一対の端子(3B)を載置するベース部材(2B)と、ベース部材(2B)に対して上方から接近して対向するように移動可能なカバー部材(2A)と、を備え、カバー部材(2A)は、ベース部材(2B)を覆うように移動させることで、一対の端子(3B)のうちベース部材(2B)から幅方向両外側へ突出する突出部分を下方側へ折り曲げる一対の凸部(17)を有し、一対の凸部(17)は、突出部分を折り曲げている状態において、ベース部材(2B)の幅よりも所定の幅だけ両外側へ離れた位置に配置されるように設けられている。
【選択図】図1
特許請求の範囲
【請求項1】
電子部品の本体から両側に延びる一対の端子を所定の角度で折り曲げるための端子折り曲げ治具であって、
前記電子部品の一対の前記端子を載置するベース部材と、
前記ベース部材に対して上方から接近して対向するように移動可能なカバー部材と、
を備え、
前記カバー部材は、
前記ベース部材を覆うように移動させることで、一対の前記端子のうち前記ベース部材から幅方向両外側へ突出する突出部分を下方側へ折り曲げる一対の凸部を有し、
一対の前記凸部は、前記突出部分を折り曲げている状態において、
前記ベース部材の幅よりも所定の幅だけ両外側へ離れた位置に配置されるように設けられている、端子折り曲げ治具。
続きを表示(約 1,400 文字)
【請求項2】
前記ベース部材は、一対の前記端子の所定の部位を載置する一対の端子載置部を有し、
前記カバー部材は、前記ベース部材へ接近する移動によって、一対の前記端子載置部に載置された一対の前記端子の前記所定の部位を押圧する一対の端子押圧部を有する、
請求項1に記載の端子折り曲げ治具。
【請求項3】
前記カバー部材は、前記一対の端子押圧部の間に前記本体の一部を収容するための窪み部を有し、
前記カバー部材の前記ベース部材へ接近する移動は、前記端子押圧部が、前記端子載置部に載置された前記端子の前記所定の部位、または、前記端子載置部と当接した時点で、前記本体の一部と前記窪み部の内側の天面との間に所定の隙間がある状態で停止する、
請求項2に記載の端子折り曲げ治具。
【請求項4】
前記カバー部材は、一対の前記端子押圧部を前記移動の方向に沿って付勢する第1付勢部材を有し、
一対の前記凸部の側面は、前記カバー部材が前記ベース部材に向かって移動し、前記端子押圧部が、前記端子載置部に載置された前記端子の前記所定の部位、または、前記端子載置部と当接した後に、前記第1付勢部材を介して前記カバー部材が前記ベース部材に向かってさらに接近することで、前記ベース部材の側面に対して前記ベース部材の幅よりも所定の幅だけ両外側へ離れた位置で対向する、
請求項2に記載の端子折り曲げ治具。
【請求項5】
前記ベース部材は、
一対の前記端子の所定の部位を載置する一対の端子載置部と、
前記電子部品の前記本体を載置する本体載置部と、を有し、
前記カバー部材は、
前記ベース部材へ接近する移動によって、前記ベース部材の前記本体載置部に載置された前記本体を押圧する本体押圧部を有する、
請求項1に記載の端子折り曲げ治具。
【請求項6】
前記カバー部材は、前記本体押圧部を上下方向に付勢する第2付勢部材を有し、
一対の前記凸部の側面は、前記カバー部材が前記ベース部材に向かって移動し、前記本体押圧部が前記本体載置部に載置された前記本体に当接した後に、前記第2付勢部材を介して前記カバー部材が前記ベース部材に向かってさらに接近することで、前記ベース部材の側面に対して前記ベース部材の幅よりも所定の幅だけ両外側へ離れた位置で対向する、
請求項5に記載の端子折り曲げ治具。
【請求項7】
一対の前記端子載置部は金属部材からなる、
請求項2または5に記載の端子折り曲げ治具。
【請求項8】
一対の前記端子載置部は、互いに同一の水平面上に位置する一対の端子載置面を有し、
一対の前記端子載置部は、前記ベース部材の幅方向にて、前記電子部品の前記本体の長さに等しい距離だけ離間して配置されている、
請求項2または5に記載の端子折り曲げ治具。
【請求項9】
前記一対の端子載置部は、前記端子の一部または全部を収容する少なくとも一対の凹部を有する、
請求項2または5に記載の端子折り曲げ治具。
【請求項10】
前記端子載置部および前記凸部は、前記電子部品の載置される方向に交差する方向であって前記カバー部材の前記ベース部材へ接近する移動方向に交差する方向へ延伸している、
請求項2または5に記載の端子折り曲げ治具。
(【請求項11】以降は省略されています)
発明の詳細な説明
【技術分野】
【0001】
本発明は、端子折り曲げ治具に関する。
続きを表示(約 1,600 文字)
【背景技術】
【0002】
抵抗やダイオードなどの電子部品の両側に延びる一対の端子をピンセットで曲げる方法があるが、端子を直角に曲げるのは難しい。ダイオードなどの一対の端子が直角に曲がっていない場合には、取り付け時に基板から浮いてしまうため、再度手作業による修正が必要になり手間がかかるという問題がある。そこで、種々の端子折り曲げ治具が提案されている。
【0003】
例えば、特許文献1に記載されるリード線折り曲げ用治具では、2枚の板状のアームを蝶つがい部により折れ曲がるように接続する。2枚の板状のアームは、長手方向側面に、蝶つがい部から同一寸法位置にリード線を入れるための複数の溝が設けられている。また、2枚の板の先端に、一定角度で開いた状態で固定する固定金具が設けられている。そして、リード線折り曲げ治具の2枚の板を一定角度に開いて固定し、リード線を必要な寸法の溝に入れて、両手の指でリード線を押さえて折り曲げる構成が記載されている。
【0004】
また、特許文献2に記載される電子部品着脱用治具では、板状で略長方形の本体の一端に凹所を設け、この凹所の両側より先端が板状平面と直角でL字状に折曲した突出部が形成されている。そして、電子部品の本体を凹所に載置して、電子部品の本体から両側に延びる各リード線をL字状の突出部に押し当てて、両手の指でリード線を押さえて折り曲げる構成が記載されている。
【先行技術文献】
【特許文献】
【0005】
実開昭63-114100号公報
実開昭62-192666号公報
【発明の概要】
【発明が解決しようとする課題】
【0006】
しかしながら、上述のリード線折り曲げ用治具や電子部品着脱用治具の構成では、左右外側に突出するリード線を両手の指で押さえて折り曲げる構成のため、左右のリード線を直角に折り曲げることは、容易でない。また、数多くの左右のリード線を連続して直角に折り曲げることが難しいという問題がある。また、リード線が直角に折り曲げられていないダイオードを取り付ける場合に、ダイオードに割れなどの損傷が生じるおそれがある。
【0007】
本発明は、一側面では、このような問題点を鑑みてなされたものであり、電子部品の一対の端子を直角に容易に折り曲げることができる端子折り曲げ治具を提供することを目的とする。
【課題を解決するための手段】
【0008】
本発明は、上述した課題を解決するために、以下の構成を採用する。
【0009】
すなわち、本発明の一側面に係る端子折り曲げ治具は、電子部品の本体から両側に延びる一対の端子を所定の角度で折り曲げるための端子折り曲げ治具であって、前記電子部品の一対の前記端子を載置するベース部材と、前記ベース部材に対して上方から接近して対向するように移動可能なカバー部材と、を備え、前記カバー部材は、前記ベース部材を覆うように移動させることで、一対の前記端子のうち前記ベース部材から幅方向両外側へ突出する突出部分を下方側へ折り曲げる一対の凸部を有し、一対の前記凸部は、前記突出部分を折り曲げている状態において、前記ベース部材の幅よりも所定の幅だけ両外側へ離れた位置に配置されるように設けられている。
【0010】
上記の構成によれば、カバー部材をベース部材に対して下方側へ移動させることによって、ベース部材に載置した電子部品の一対の端子のうちベース部材から幅方向両外側へ突出する突出部分を一対の凸部を介して下方側へ容易に折り曲げることができる。また、所定の幅を一対の端子の外径寸法と同程度にすることによって、一対の端子をほぼ直角に折り曲げることが可能となり、電子部品の割れなどを防止することができる。
(【0011】以降は省略されています)
この特許をJ-PlatPat(特許庁公式サイト)で参照する
関連特許
オムロン株式会社
電磁継電器
18日前
オムロン株式会社
発光エンブレム
10日前
オムロン株式会社
サーボドライバ
10日前
オムロン株式会社
パワーコンディショナ
20日前
オムロン株式会社
電力システム及び制御装置
20日前
オムロン株式会社
保護継電器及び電力制御装置
28日前
オムロン株式会社
監視装置、監視方法及びプログラム
3日前
オムロン株式会社
電力供給システム及び電力制御装置
28日前
オムロン株式会社
情報処理システムおよび情報処理方法
17日前
オムロン株式会社
制御装置、制御方法、及び制御プログラム
17日前
オムロン株式会社
画像処理装置、画像処理方法及びプログラム
17日前
オムロン株式会社
処理装置、処理方法、および処理プログラム
13日前
オムロン株式会社
管理システム、管理方法及び管理プログラム
3日前
オムロン株式会社
処理装置、処理方法、および処理プログラム
13日前
オムロン株式会社
モデル生成方法、推論プログラム及び推論装置
10日前
オムロン株式会社
監視システム、点灯制御方法、及びプログラム
28日前
オムロン株式会社
開閉装置、及び開閉装置を備える蓄電池システム
28日前
オムロン株式会社
制御装置、情報処理方法および情報処理プログラム
17日前
オムロン株式会社
物体検出装置、物体検出方法、および制御プログラム
10日前
オムロン株式会社
感震センサおよび地震検知方法、地震検知プログラム
5日前
オムロン株式会社
感震センサおよび地震検知方法、地震検知プログラム
今日
オムロン株式会社
表示制御装置、表示制御方法および表示制御プログラム
12日前
オムロン株式会社
オドメトリパラメータ較正装置、方法、及びプログラム
17日前
オムロン株式会社
走行制御装置、走行制御方法、及び走行制御プログラム
28日前
オムロン株式会社
雨滴検出装置、雨滴検出方法および雨滴検出プログラム
25日前
オムロン株式会社
混雑制御システム、混雑制御方法及び混雑制御プログラム
今日
オムロン株式会社
設計支援方法、設計支援装置、プログラム、及び記録媒体
18日前
オムロン株式会社
入出場管理システム、入出場管理方法、及び入出場管理プログラム
18日前
オムロン株式会社
信頼度マップ作成方法、自己位置決定方法、装置、及びプログラム
17日前
オムロン株式会社
機器テスト処理装置、機器テスト処理方法、機器テスト処理プログラム
20日前
オムロン株式会社
分析支援装置、分析支援方法、分析支援プログラムおよび分析支援端末
17日前
オムロン株式会社
チケット管理システム、チケット管理方法、及びチケット管理プログラム
18日前
オムロン株式会社
酸素飽和度判定装置、酸素飽和度判定方法及び酸素飽和度判定プログラム
28日前
オムロン株式会社
外観検査システム、外観検査装置、外観検査装置の制御方法及びプログラム
18日前
オムロン株式会社
チケット管理システム、チケット管理装置、チケット管理方法、及びプログラム
20日前
オムロン株式会社
旅客流動混雑予測装置、旅客流動混雑予測方法及び旅客流動混雑予測プログラム
3日前
続きを見る
他の特許を見る