TOP
|
特許
|
意匠
|
商標
特許ウォッチ
Twitter
他の特許を見る
10個以上の画像は省略されています。
公開番号
2025148172
公報種別
公開特許公報(A)
公開日
2025-10-07
出願番号
2024048796
出願日
2024-03-25
発明の名称
誘導加熱コイル
出願人
富士電子工業株式会社
代理人
個人
主分類
H05B
6/36 20060101AFI20250930BHJP(他に分類されない電気技術)
要約
【課題】ワークに対する位置決めが容易な誘導加熱コイルを提供することを目的とするものである。
【解決手段】誘導加熱に供されるコイル本体33と、当該コイル本体33を保持するハウジング28と、複数のスペーサ36、37、38を有し、スペーサは、ハウジングの正面側領域に設けられた正面側スペーサ36と、ハウジング28の裏面側領域に設けられた裏面側スペーサ37と、正面側領域と裏面側領域の間の領域に設けられた中間スペーサ38を有することを特徴とする誘導加熱コイル。
【選択図】図3
特許請求の範囲
【請求項1】
誘導加熱に供されるコイル本体と、当該コイル本体を保持するハウジングと、複数のスペーサを有し、
前記スペーサは、ハウジングの正面側領域に設けられた正面側スペーサと、ハウジングの裏面側領域に設けられた裏面側スペーサと、前記正面側領域と前記裏面側領域の間の領域に設けられた中間スペーサを有することを特徴とする誘導加熱コイル。
続きを表示(約 1,300 文字)
【請求項2】
円柱部に環状の溝が設けられたワークを誘導加熱するものであり、
前記正面側スペーサと前記裏面側スペーサの一方と、中間スペーサとが前記溝の内壁に当接可能であることを特徴とする請求項1に記載の誘導加熱コイル。
【請求項3】
円柱部に環状の溝が設けられたワークであって、前記溝内と、溝外の前記円柱部に被熱処理領域を有するワークを熱処理するコイル本体を備えた誘導加熱コイルであり、
前記溝の一方の内壁に当接可能なスペーサと、前記溝の他方の内壁に当接可能なスペーサと、前記円柱部の表面に当接可能なスペーサを備えたことを特徴とする誘導加熱コイル。
【請求項4】
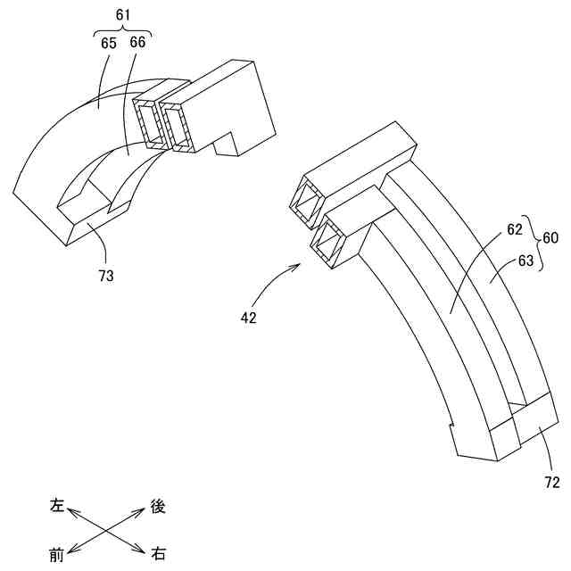
前記コイル本体は、溝の内面側に挿入される半開放形状の溝内挿入部と、前記円柱部に近接する補助加熱部を有することを特徴とする請求項1乃至3のいずかに記載の誘導加熱コイル。
【請求項5】
前記溝内挿入部と前記補助加熱部は、一本の導電体で形成されていることを特徴とする請求項4に記載の誘導加熱コイル。
【請求項6】
円柱部に環状の溝が設けられたワークであって、前記溝内と、溝外の前記円柱部に被熱処理領域を有するワークを熱処理するコイル本体を備えた誘導加熱コイルであり、
給電領域があり、当該給電領域に一対の給電部材を有し、
前記溝内挿入部は、右溝内挿入片と左溝内挿入片を有し、
前記右溝内挿入片は、第一右溝内挿入片と、第二右溝内挿入片が略平行に配され、当該二つの溝内挿入片の外側同士が右接続導電部で接続されたものであり、
前記左溝内挿入片は、第一左溝内挿入片と、第二左溝内挿入片が略平行に配され、当該二つの溝内挿入片の外側同士が左接続導電部で接続されたものであり、
前記補助加熱部は、第一右補助加熱片と、第二右補助加熱片を有し、
前記右補助加熱片は、第一右補助加熱片と、第二右補助加熱片が略平行に配され、当該二つの補助加熱片の外側同士が右接続導電部で接続されたものであり、
前記左補助加熱片は、第一左補助加熱片と、第二左補助加熱片が略平行に配され、当該二つの補助加熱片の外側同士が左接続導電部で接続されたものであり、
前記第一右溝内挿入片、第二右溝内挿入片、第一左溝内挿入片、第二左溝内挿入片、第一右補助加熱片、第二右補助加熱片、第一左補助加熱片、又は第二左補助加熱片のいずれかの一端側に給電部が接続され、
前記第一右溝内挿入片又は第二右溝内挿入片が前記第一右補助加熱片又は第二右補助加熱片と渡り導電部で接続され、
前記第一左溝内挿入片又は第二左溝内挿入片が前記第一左補助加熱片又は第二左補助加熱片と渡り導電部で接続され、
前記第一右溝内挿入片、第二右溝内挿入片、第一左溝内挿入片、第二左溝内挿入片、第一右補助加熱片、第二右補助加熱片、第一左補助加熱片、又は第二左補助加熱片であって、前記給電部と接続された以外のいずれかの他端側に他方の給電部が接続されていることを特徴とする請求項1に記載の誘導加熱コイル。
発明の詳細な説明
【技術分野】
【0001】
本発明は、誘導加熱コイルに関するものである。本発明は、複数の箇所を同時に熱処理する誘導加熱コイルに関するものである。
本発明は、例えば円柱部に環状の溝が設けられたワークを溝とその他の円柱部を一つのコイルで同時に熱処理する誘導加熱コイルに関するものである。
続きを表示(約 1,900 文字)
【背景技術】
【0002】
誘導加熱コイルは、導体で作られたコイル本体を有し、当該コイル本体をワークに近接した状態でコイル本体に通電し、当該コイル本体が発する磁界によってワークを誘導加熱するものである。
そのためコイル本体が所定の被熱処理領域に近接する様に位置決めする必要がある。例えばワークが軸である場合には、ワークたる軸の所定の位置にコイル本体が留まるように、コイル本体をワークの軸方向に位置決めする必要がある。
従来技術においては、例えばシリンダー等で誘導加熱コイルを一方に押し付けることによって誘導加熱コイルの位置決めを行っていた。
【0003】
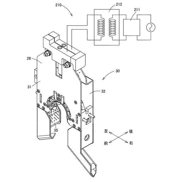
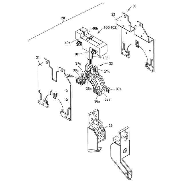
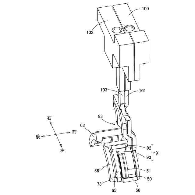
ところで、誘導加熱では、コイル本体がワークと直接接することは禁忌であり、コイル本体とワークの接触を防ぐ目的からスペーサが設けられる。即ち、誘導加熱コイルはコイル本体を収容するハウジングを有し、当該ハウジングにスペーサが設けられる。
従来技術の誘導加熱コイルでは、スペーサはハウジングの正面側領域と裏面側領域に設けられていた。
【先行技術文献】
【特許文献】
【0004】
特開2020-27732号公報
特開2017-45677号公報
【発明の概要】
【発明が解決しようとする課題】
【0005】
ワークには被熱処理領域が複数あるものがある。例えば、溝と溝以外の部分を有する円柱状のワークには、溝内と溝から離れた部位を焼き入れする必要がある場合がある。
従来、この種のワークに対しては、別々のコイルで、当該溝の焼入と溝以外の部分の焼入れを、個別に行っていた。即ち溝とそれ以外の領域の二か所に被熱処理領域がある場合、溝の被熱処理領域と、他の被熱処理領域を個別に熱処理していた。
これに対して本発明者らは、一つの誘導加熱コイルで溝とそれ以外の領域を同時に熱処理することを考えた。この場合は、複数個所を一つの誘導加熱コイルで同時に熱処理するので、ワークとコイル本体との位置決めは従来に増して重要である。
【0006】
そのため一つの誘導加熱コイルで複数個所を同時に高周波焼き入れする場合であっても、コイル本体の位置が変わらないように誘導加熱コイルを押さえて焼き入れを行う必要があった。この場合でも、シリンダーなどをコイルに押し当てる必要があり、設備を複雑化せざるをえなかった。
例えば、溝と溝以外の部分の二か所にスペーサを用いてみたが、十分にワークを押さえきれずに、コイル本体とワークの位置が安定せず、品質の安定した焼き入れを行うことができなかった。
なお特許文献1には、ワークの長手方向で、溝と溝以外の部分とにスペーサ二個をワークの円周に沿って90度毎に3箇所設けている。そして、ワークが左側スペーサと右側スペーサとの間で若干揺動するが、ワークの誘導加熱にはほとんど影響しないとの記載がある。しかし、この揺動による焼き入れ品質のバラツキが課題となっていた。
【0007】
本発明は、ワークに対する位置決めが容易な誘導加熱コイルを提供することを目的とするものである。
【課題を解決するための手段】
【0008】
上記した課題を解決するための態様は、誘導加熱に供されるコイル本体と、当該コイル本体を保持するハウジングと、複数のスペーサを有し、前記スペーサは、ハウジングの正面側領域に設けられた正面側スペーサと、ハウジングの裏面側領域に設けられた裏面側スペーサと、前記正面側領域と前記裏面側領域の間の領域に設けられた中間スペーサを有する誘導加熱コイルである。
【0009】
本態様の誘導加熱コイルでは、スペーサが、ハウジングの正面側領域と、裏面側領域と中間領域の3か所に設けられている。
本態様の誘導加熱コイルは、ワークの軸方向の3か所にスペーサがあることから、3か所のスペーサがワークに当接することで誘導加熱コイルの位置決めを行うことができる。それにより、ワークの被熱処理領域に誘導加熱コイルが留まり、ワークの加熱状態が安定し、品質の安定した焼き入れをすることができる。
【0010】
上記した態様において、円柱部に環状の溝が設けられたワークを誘導加熱するものであり、前記正面側スペーサと前記裏面側スペーサの一方と、中間スペーサとが前記溝の内壁に当接可能であることが望ましい。
(【0011】以降は省略されています)
この特許をJ-PlatPat(特許庁公式サイト)で参照する
関連特許
個人
電気式バーナー
1か月前
日星電気株式会社
面状ヒータ
15日前
個人
静電気中和除去装置
1か月前
株式会社デンソー
電子装置
1日前
シャープ株式会社
加熱機器
1か月前
株式会社デンソー
電子装置
23日前
日産自動車株式会社
電子機器
9日前
豊田合成株式会社
制御ユニット
1日前
TDK株式会社
接合構造
1日前
株式会社デンソー
電子制御装置
22日前
マクセルイズミ株式会社
誘導加熱調理装置
1か月前
矢崎総業株式会社
箱状体
25日前
マクセルイズミ株式会社
誘導加熱調理装置
1か月前
矢崎総業株式会社
箱状体
25日前
象印マホービン株式会社
電子レンジ
1か月前
株式会社羽野製作所
プリント配線板
9日前
矢崎総業株式会社
箱状体
25日前
株式会社SUBARU
電波吸収体の製造方法
15日前
東レ株式会社
電子部品の製造方法および樹脂組成物
24日前
株式会社遠藤照明
電源、照明装置及び照明システム
1か月前
矢崎総業株式会社
バスバ配置構造
1か月前
矢崎総業株式会社
バスバ配置構造
1か月前
日本電気株式会社
ラインカード及びイジェクタ
1か月前
矢崎総業株式会社
ワイヤーハーネス
25日前
株式会社東芝
電子装置
1か月前
日本放送協会
接続用配線基板
1か月前
三菱電機株式会社
電気機器
9日前
京セラ株式会社
配線基板
1か月前
京セラ株式会社
配線基板
1か月前
イビデン株式会社
コア基板及びその製造方法
1か月前
大日本印刷株式会社
除電装置
1か月前
キヤノン株式会社
電子機器
22日前
アドバンテック株式会社
基板収容ケース
1か月前
矢崎総業株式会社
バスバー
1か月前
株式会社FUJI
テープガイド
15日前
日東電工株式会社
配線回路基板
22日前
続きを見る
他の特許を見る