TOP
|
特許
|
意匠
|
商標
特許ウォッチ
Twitter
他の特許を見る
公開番号
2025148173
公報種別
公開特許公報(A)
公開日
2025-10-07
出願番号
2024048797
出願日
2024-03-25
発明の名称
誘電加熱コイル体及び熱処理方法
出願人
富士電子工業株式会社
代理人
個人
主分類
H05B
6/40 20060101AFI20250930BHJP(他に分類されない電気技術)
要約
【課題】本来硬度を必要とする領域を、加熱されることによる焼きなましが起こらないよう、その領域を過度に加熱されないようにする、誘電加熱コイル体及び熱処理方法を提供する。
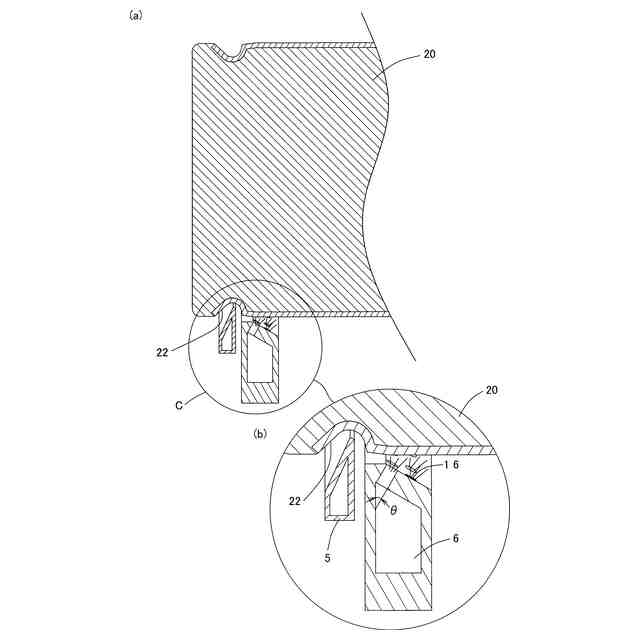
【解決手段】加熱部位Aと当該加熱部位Aに隣接する加熱忌避部位Bが存在するワーク20を熱処理する誘導加熱コイル体3である。コイル本体5と冷却水噴射装置6を有し、コイル本体5は、加熱部位Aに近接して加熱部位Aを昇温可能である。本誘導加熱コイル体3は、コイル本体5に通電して加熱部位Aを昇温しつつ、冷却水噴射装置6でワーク20の下方から加熱忌避部位Bに向かって冷却水を噴射することが可能である。
【選択図】図6
特許請求の範囲
【請求項1】
加熱部位と当該加熱部位に隣接する加熱忌避部位が存在するワークを熱処理する誘導加熱コイル体であって、
コイル本体と冷却水噴射手段を有し、前記コイル本体は、前記加熱部位に近接して前記加熱部位を昇温可能であり、
前記冷却水噴射手段は、前記ワークの下方から前記加熱忌避部に向かって冷却水を噴射することが可能であり、
前記コイル本体に通電して前記加熱部位を昇温しつつ、前記冷却水噴射手段で前記ワークの下方から前記加熱忌避部に向かって冷却水を噴射することが可能であることを特徴とする誘導加熱コイル体。
続きを表示(約 720 文字)
【請求項2】
前記加熱部位は凹状であることを特徴とする請求項1に記載の誘導加熱コイル体。
【請求項3】
前記コイル本体は、前記加熱部位の下面に近接する機能領域を有し、主として前記ワークを下方から誘導加熱することを特徴とする請求項1又は2に記載の誘導加熱コイル体。
【請求項4】
前記コイル本体は、環状であって、前記加熱部位の下面に近接する機能領域と、給電部と前記機能領域をつなぐ給電領域を有し、前記給電領域の内接円は、前記機能領域の内接円よりも大きいことを特徴とする請求項3に記載の誘導加熱コイル体。
【請求項5】
前記冷却水噴射手段は、前記加熱忌避部に向かって斜め方向に冷却水を噴射することを特徴とする請求項4に記載の誘導加熱コイル体。
【請求項6】
コイル本体と冷却水噴射手段が一体化されていることを特徴とする請求項5に記載の誘導加熱コイル体。
【請求項7】
焼き入れ処理されたワークを回転しつつ当該ワークの一部を再加熱して当該一部を焼きなまし処理する熱処理方法において、
前記焼きなましを行う領域を誘導加熱しつつ、当該焼きなましを行う領域に隣接する領域に下方側から冷却水を噴射することを特徴とする熱処理方法。
【請求項8】
焼き入れ処理されたワークを回転しつつ当該ワークの一部を再加熱して当該一部を焼きなまし処理する熱処理方法において、
請求項1に記載の誘導加熱コイル体を使用して、前記焼きなましを行う領域を誘導加熱しつつ、当該焼きなましを行う領域に隣接する領域に下方側から冷却水を噴射することを特徴とする熱処理方法。
発明の詳細な説明
【技術分野】
【0001】
本発明は、加熱部位と当該加熱部位に隣接する加熱忌避部位が存在するワークを熱処理する誘導加熱コイル体及び熱処理方法であって、誘導加熱コイル体がコイル本体と冷却水噴射手段を有し、ワークを加熱処理する誘導加熱コイル体及び加熱処理方法に関するものである。
続きを表示(約 1,200 文字)
【背景技術】
【0002】
ワークを高周波焼き入れをした後で焼きなまし工程を行う場合がある。ところが、従来は、焼きなましをした領域と隣接する領域にも熱が伝わってしまうので、隣接領域が焼なましされてしまっていた。つまり、その隣接領域が本来硬度を維持する必要がある領域であるにも関わらず、硬度が下がってしまうことがあった。
【先行技術文献】
【特許文献】
【0003】
特開2001-131638号公報
【発明の概要】
【発明が解決しようとする課題】
【0004】
本発明は、本来硬度を必要とする領域が、加熱されることによる焼きなましが起こらないよう、その領域が過度に加熱されないようにすることができる、誘電加熱コイル体及び熱処理方法を提供する。
【課題を解決するための手段】
【0005】
上記した課題を解決するための態様は、加熱部位と当該加熱部位に隣接する加熱忌避部位が存在するワークを熱処理する誘導加熱コイル体であって、コイル本体と冷却水噴射手段を有し、前記コイル本体は、前記加熱部位に近接して前記加熱部位を昇温可能であり、前記冷却水噴射手段は、前記ワークの下方から前記加熱忌避部に向かって冷却水を噴射することが可能であり、前記コイル本体に通電して前記加熱部を昇温しつつ、前記冷却水噴射手段で前記ワークの下方から前記加熱忌避部に向かって冷却水を噴射することが可能である誘導加熱コイル体である。
【0006】
本態様によると、コイル本体が加熱部位に近接して加熱部位を昇温可能であり、冷却水噴射手段は、ワークの下方から加熱忌避部に向かって冷却水を噴射することが可能である。加熱部位を加熱することによって硬化しながら、加熱忌避部位は冷却水が噴射されることにより、加熱されないので、加熱忌避部位は焼きなましをされず、硬度を維持することができる。
【0007】
上記した態様において、前記加熱部位は凹状である誘導加熱コイル体が望ましい。
【0008】
本態様によると、加熱部位が凹状であることから、加熱部位が焼きなましをされることによって軟化し、凹部を溝等に加工することができる。
【0009】
上記した各態様において、前記コイル本体は、前記加熱部位の下面に近接する機能領域を有し、主として前記ワークを下方から誘導加熱する誘導加熱コイル体が好ましい。
【0010】
本態様によると、コイル本体が、加熱部位の下面に近接する機能領域を有し、主としてワークを下方から誘導加熱することから、コイル本体が加熱部位の下面に近接し、コイル本体に冷却水がかからない位置に設置することが可能で、さらに、ワークをコイル本体の機能領域に容易に設置することができる。
(【0011】以降は省略されています)
この特許をJ-PlatPat(特許庁公式サイト)で参照する
関連特許
個人
電気式バーナー
1か月前
日本精機株式会社
回路基板
今日
日星電気株式会社
面状ヒータ
25日前
個人
静電気中和除去装置
1か月前
株式会社デンソー
電子装置
1か月前
株式会社デンソー
電子装置
11日前
サクサ株式会社
開き角度規制構造
2か月前
株式会社レクザム
剥離装置
2か月前
シャープ株式会社
加熱機器
1か月前
日産自動車株式会社
電子基板
今日
日産自動車株式会社
電子機器
19日前
日本精機株式会社
車両表示装置用回路基板
4日前
豊田合成株式会社
制御ユニット
11日前
株式会社デンソー
電子制御装置
1か月前
TDK株式会社
接合構造
11日前
株式会社羽野製作所
プリント配線板
19日前
象印マホービン株式会社
電磁調理器
6日前
矢崎総業株式会社
箱状体
1か月前
マクセルイズミ株式会社
誘導加熱調理装置
1か月前
マクセルイズミ株式会社
誘導加熱調理装置
1か月前
矢崎総業株式会社
箱状体
1か月前
象印マホービン株式会社
電磁調理器
6日前
象印マホービン株式会社
電磁調理器
6日前
象印マホービン株式会社
電子レンジ
1か月前
矢崎総業株式会社
箱状体
1か月前
象印マホービン株式会社
電磁調理器
6日前
東レ株式会社
電子部品の製造方法および樹脂組成物
1か月前
株式会社SUBARU
電波吸収体の製造方法
25日前
株式会社遠藤照明
電源、照明装置及び照明システム
1か月前
コイト電工株式会社
情報処理装置
2か月前
日本電気株式会社
ラインカード及びイジェクタ
1か月前
矢崎総業株式会社
バスバ配置構造
1か月前
矢崎総業株式会社
バスバ配置構造
1か月前
Astemo株式会社
電子制御装置
2か月前
日本放送協会
接続用配線基板
1か月前
株式会社東芝
電子装置
1か月前
続きを見る
他の特許を見る