TOP
|
特許
|
意匠
|
商標
特許ウォッチ
Twitter
他の特許を見る
10個以上の画像は省略されています。
公開番号
2025175373
公報種別
公開特許公報(A)
公開日
2025-12-03
出願番号
2024081432
出願日
2024-05-20
発明の名称
電磁調理器
出願人
象印マホービン株式会社
代理人
個人
,
個人
主分類
H05B
6/12 20060101AFI20251126BHJP(他に分類されない電気技術)
要約
【課題】電磁調理器を薄型化する。
【解決手段】電磁調理器1は、上開口17を有するケーシング2と、ケーシング2内に配置される加熱コイル4と、ケーシング2の上開口17を塞ぎ、加熱コイル4の上方に配置されるトッププレート3と、ケーシング2に設けられ、上開口17の外側に配置されたプラグ受け支持部20と、加熱コイル4に供給するための電力が入力され、プラグ受け支持部20に支持されて平面視においてトッププレート3と重ならないように配置されるプラグ受け5と、を備える。
【選択図】図1
特許請求の範囲
【請求項1】
上開口を有するケーシングと、
前記ケーシング内に配置される加熱コイルと、
前記ケーシングの上開口を塞ぎ、前記加熱コイルの上方に配置されるトッププレートと、
前記ケーシングに設けられ、前記上開口の外側に配置されたプラグ受け支持部と、
前記加熱コイルに供給するための電力が入力され、前記プラグ受け支持部に支持されて平面視において前記トッププレートと重ならないように配置されるプラグ受けと、
を備える、電磁調理器。
続きを表示(約 500 文字)
【請求項2】
前記プラグ受けの上面が、平面視において露出している、
請求項1に記載の電磁調理器。
【請求項3】
前記プラグ受け支持部の上面が、前記プラグ受けの上面よりも低い、
請求項1に記載の電磁調理器。
【請求項4】
前記プラグ受け支持部の上面が、前記トッププレートの上面よりも低い、
請求項1に記載の電磁調理器。
【請求項5】
前記プラグ受け支持部と前記トッププレートとの間に、上溝が設けられ、前記上溝の端部は前記上溝の延在方向に開放されている、
請求項1に記載の電磁調理器。
【請求項6】
前記プラグ受けに、前記ケーシング内に収容され、前記プラグ受けと前記プラグ受け支持部との間のクリアランスの下方に位置する内溝が設けられている、
請求項1に記載の電磁調理器。
【請求項7】
前記ケーシングの内部空間が、前記加熱コイル及び基板が配置される電装品空間を含み、
前記内溝の端部が、平面視で前記電装品空間の外で開放される、
請求項6に記載の電磁調理器。
発明の詳細な説明
【技術分野】
【0001】
本発明は、電磁調理器に関する。
続きを表示(約 1,300 文字)
【背景技術】
【0002】
特許文献1及び特許文献2は、いわゆる卓上型の電磁調理器を開示している。電磁調理器は、平面視で長方形状のケーシングと、ケーシングの上面に設けられるトッププレートとを備える。ケーシングの側面に、プラグ受けが取り付けられている。プラグ受けには、電源コードの端部に取り付けられたマグネットプラグが着脱可能に接続される。電源コードの他端部に取り付けられた電源プラグを商用電源に接続することにより、電源調理器に商用電力が供給される。
【先行技術文献】
【特許文献】
【0003】
特開2012-84236号公報
実開昭61-90195号公報
【発明の概要】
【発明が解決しようとする課題】
【0004】
特許文献1及び特許文献2のいずれの電磁調理器においても、トッププレートがプラグ受けを上から覆っている。電磁調理器の全高が、プラグ受けの高さの制約を受けるため、電磁調理器の薄型化が難しい。
【0005】
本発明は、電磁調理器の薄型化を課題とする。
【課題を解決するための手段】
【0006】
本発明の一態様は、上開口を有するケーシングと、前記ケーシング内に配置される加熱コイルと、前記ケーシングの上開口を塞ぎ、前記加熱コイルの上方に配置されるトッププレートと、前記ケーシングに設けられ、前記上開口の外側に配置されたプラグ受け支持部と、前記加熱コイルに供給するための電力が入力され、前記プラグ受け支持部に支持されて平面視において前記トッププレートと重ならないように配置されるプラグ受けと、を備える、電磁調理器を提供する。
【0007】
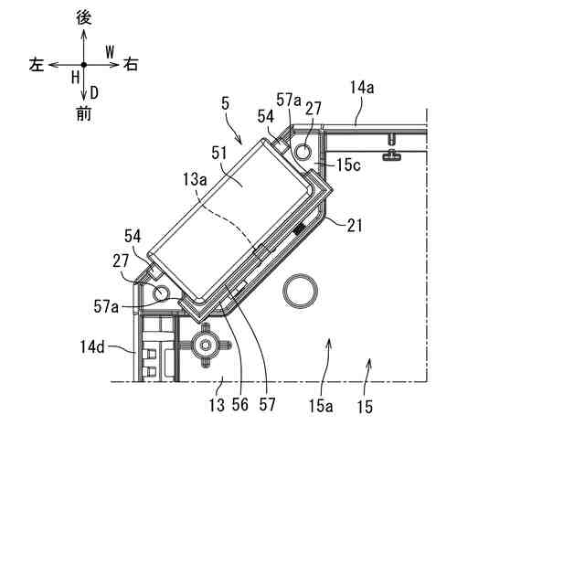
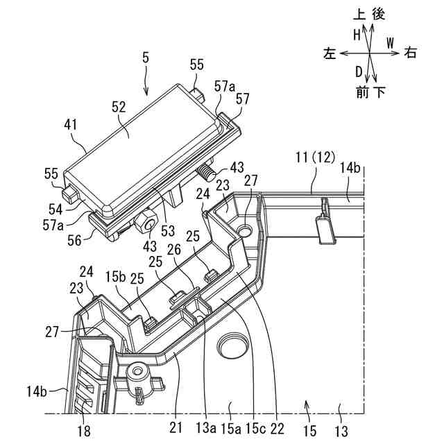
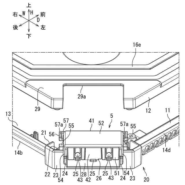
上記構成によれば、プラグ受けが、ケーシングの上開口の周縁部に配置され、平面視において上開口を塞ぐトッププレートと重ならないように配置される。トッププレートが、プラグ受けを上から覆わないため、トッププレートの上面の位置をプラグ受けの高さとは関係なく設定できる。したがって、電磁調理器の全高がプラグ受けの高さの制約を受けるのを回避でき、電磁調理器の薄型化を実現できる。
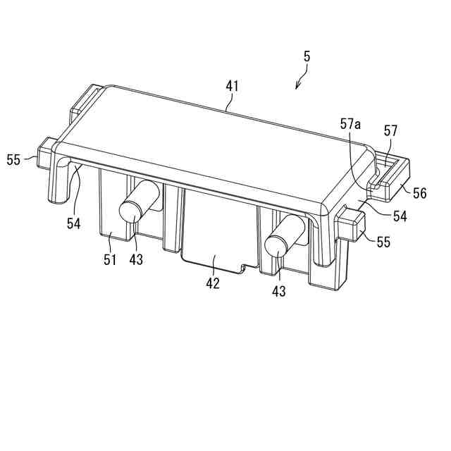
【0008】
前記プラグ受けの上面が、平面視において露出していてもよい。これにより、プラグ受けが上から何ら覆われていないため、トッププレートが配置される領域の薄型化のみならず、プラグ受けが配置されている領域においても薄型化を実現できる。
【0009】
前記プラグ受け支持部の上面が、前記プラグ受けの上面よりも低くてもよい。これにより、トッププレート上へと溢れた水が、プラグ受け支持部に流れても、加熱コイルに供給される電力が入力されるプラグ受けに流れることはない。よって安全性を確保できる。
【0010】
前記プラグ受け支持部の上面が、前記トッププレートの上面よりも低くてもよい。これにより、トッププレート上へと溢れた水をプラグ受け支持部で集めることができる。
(【0011】以降は省略されています)
この特許をJ-PlatPat(特許庁公式サイト)で参照する
関連特許
個人
電子部品の実装方法
2か月前
個人
電気式バーナー
1か月前
日本精機株式会社
回路基板
3か月前
愛知電機株式会社
装柱金具
2か月前
日星電気株式会社
面状ヒータ
24日前
アイホン株式会社
電気機器
2か月前
イビデン株式会社
配線基板
2か月前
日本放送協会
基板固定装置
2か月前
キヤノン株式会社
電子機器
2か月前
個人
静電気中和除去装置
1か月前
東レ株式会社
霧化状活性液体供給装置
3か月前
イビデン株式会社
配線基板
3か月前
サクサ株式会社
開き角度規制構造
1か月前
株式会社レクザム
剥離装置
2か月前
株式会社デンソー
電子装置
1か月前
イビデン株式会社
プリント配線板
2か月前
株式会社デンソー
電子装置
2か月前
FDK株式会社
基板
2か月前
株式会社デンソー
電子装置
10日前
シャープ株式会社
加熱機器
1か月前
サクサ株式会社
筐体の壁掛け構造
3か月前
日産自動車株式会社
電子機器
18日前
オムロン株式会社
端子折り曲げ治具
2か月前
日産自動車株式会社
電子部品
2か月前
新電元工業株式会社
電子装置
2か月前
富士フイルム株式会社
積層体
2か月前
株式会社レゾナック
冷却装置
2か月前
日本精機株式会社
車両表示装置用回路基板
3日前
日本無線株式会社
電子機器用密閉構造
3か月前
豊田合成株式会社
制御ユニット
10日前
富士電子工業株式会社
誘導加熱コイル
2か月前
富士電子工業株式会社
誘導加熱コイル
2か月前
日本特殊陶業株式会社
配線基板
3か月前
株式会社デンソー
電子制御装置
1か月前
TDK株式会社
接合構造
10日前
タイガー魔法瓶株式会社
加熱器
2か月前
続きを見る
他の特許を見る