TOP
|
特許
|
意匠
|
商標
特許ウォッチ
Twitter
他の特許を見る
公開番号
2025160938
公報種別
公開特許公報(A)
公開日
2025-10-24
出願番号
2024063677
出願日
2024-04-11
発明の名称
加熱機器
出願人
シャープ株式会社
代理人
個人
,
個人
主分類
H05B
6/62 20060101AFI20251017BHJP(他に分類されない電気技術)
要約
【課題】解凍時間を短縮することができる加熱機器を提供する。
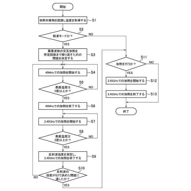
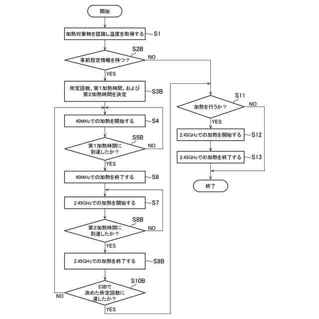
【解決手段】加熱機器は、加熱対象物を内包する筐体と、前記加熱対象物を加熱する加熱部と、前記加熱部を制御する制御部と、を備え、前記制御部は、最初に第1周波数の交番電界による前記加熱対象物の誘電加熱を実行し、次に前記第1周波数より高い第2周波数のマイクロ波による前記加熱対象物のマイクロ波加熱を実行する。
【選択図】図2
特許請求の範囲
【請求項1】
加熱対象物を内包する筐体と、
前記加熱対象物を加熱する加熱部と、
前記加熱部を制御する制御部と、を備え、
前記制御部は、最初に第1周波数の交番電界による前記加熱対象物の誘電加熱を実行し、次に前記第1周波数より高い第2周波数のマイクロ波による前記加熱対象物のマイクロ波加熱を実行する、
加熱機器。
続きを表示(約 780 文字)
【請求項2】
前記制御部は、前記誘電加熱と前記マイクロ波加熱とを交互に繰り返すように、前記加熱部を制御する、
請求項1に記載の加熱機器。
【請求項3】
前記筐体内に前記加熱対象物の画像データを取得するように設けられたカメラと、
前記加熱対象物で反射した反射波を受信するアンテナと、をさらに備え、
前記制御部は、
前記カメラにより取得された前記画像データに基づいて閾値を決定し、
前記アンテナが受信した前記反射波の強度が前記閾値以上になった場合に、前記誘電加熱と前記マイクロ波加熱とを繰り返す制御を終了する、
請求項2に記載の加熱機器。
【請求項4】
前記筐体内に前記加熱対象物の画像データを取得するように設けられたカメラをさらに備え、
前記制御部は、
前記カメラにより取得された前記画像データに基づいて前記誘電加熱と前記マイクロ波加熱との繰り返し回数を決定し、
前記誘電加熱と前記マイクロ波加熱とが前記繰り返し回数だけ繰り返された場合に、前記誘電加熱と前記マイクロ波加熱とを繰り返す制御を終了する、
請求項2に記載の加熱機器。
【請求項5】
前記筐体内に前記加熱対象物の画像データを取得するように設けられたカメラをさらに備え、
前記制御部は、
前記カメラにより取得された前記画像データに基づいて前記誘電加熱を実行する第1加熱時間および前記マイクロ波加熱を実行する第2加熱時間を決定し、
前記誘電加熱の開始から前記第1加熱時間が経過した場合に、前記誘電加熱を終了し、
前記マイクロ波加熱の開始から前記第2加熱時間が経過した場合に、前記マイクロ波を終了する、
請求項1に記載の加熱機器。
発明の詳細な説明
【技術分野】
【0001】
本開示は、加熱機器に関する。
続きを表示(約 1,200 文字)
【背景技術】
【0002】
近年、下記の特許文献1に開示されているように、加熱機器の一例として、解凍を実行できる加熱調理機の開発が行われている。特許文献1に開示されている加熱機器においては、凍っている加熱対象物を解凍する場合、マクロ波加熱と誘電加熱とが交互に行われる。
【先行技術文献】
【特許文献】
【0003】
特開平9-08246号公報
【発明の概要】
【発明が解決しようとする課題】
【0004】
上記した特許文献1においては、最初にマイクロ波加熱を行い、次に誘電加熱を行うことによって、マクロ波加熱と誘電加熱が交互に繰り返される。この技術によれば、マイクロ波加熱が、加熱処理の最初に、凍っている加熱対象物に対して実行される。この場合、凍っている加熱対象物は、マイクロ波のエネルギーを吸収するため、解凍されない。その結果、マイクロ波のエネルギーが無駄に消費されるため、加熱大賞物の解凍時間が長くなってしまう。
【0005】
本開示は、上述の問題に鑑みなされたものである。本開示の目的は、解凍時間を短縮することができる加熱機器を提供することである。
【課題を解決するための手段】
【0006】
本開示の加熱機器は、加熱対象物を内包する筐体と、前記加熱対象物を加熱する加熱部と、前記加熱部を制御する制御部と、を備え、前記制御部は、最初に第1周波数の交番電界による前記加熱対象物の誘電加熱を実行し、次に前記第1周波数より高い第2周波数のマイクロ波による前記加熱対象物のマイクロ波加熱を実行する。
【図面の簡単な説明】
【0007】
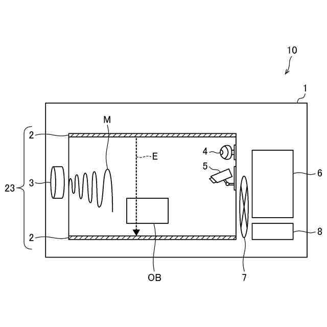
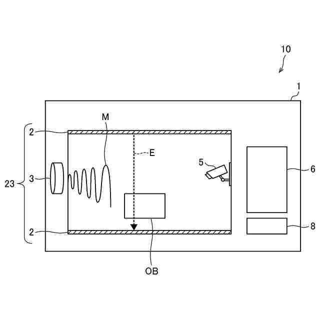
実施の形態1の加熱機器の概略構成を示す図である。
実施の形態1の加熱機器の制御部が実行する処理を説明するためのフローチャートである。
実施の形態1の加熱機器によって加熱されている加熱対象物の表層部および中心部の温度と加熱時間との関係を示すグラフである。
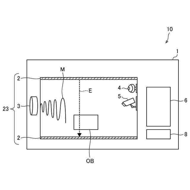
実施の形態2の加熱機器の概略構成を示す図である。
実施の形態2の加熱機器の制御部が実行する処理を説明するためのフローチャートである。
実施の形態3の加熱機器の概略構成を示す図である。
実施の形態3の加熱機器の制御部が実行する処理を説明するためのフローチャートである。
【発明を実施するための形態】
【0008】
以下、本開示の実施の形態の加熱機器を、図面を参照しながら説明する。なお、図面については、同一又は同等の要素には同一の符号を付し、重複する説明は繰り返さない。
【0009】
(実施の形態1)
図1~図3を用いて、実施の形態1の加熱機器10を説明する。
【0010】
図1は、本実施の形態の加熱機器10の概略構成を示す図である。
(【0011】以降は省略されています)
この特許をJ-PlatPat(特許庁公式サイト)で参照する
関連特許
シャープ株式会社
送風機
8日前
シャープ株式会社
加熱機器
22日前
シャープ株式会社
表示装置
8日前
シャープ株式会社
表示装置
23日前
シャープ株式会社
端末装置
24日前
シャープ株式会社
通信装置
10日前
シャープ株式会社
筐体構造
22日前
シャープ株式会社
端末装置
29日前
シャープ株式会社
表示装置
8日前
シャープ株式会社
走行装置
29日前
シャープ株式会社
表示装置
1か月前
シャープ株式会社
通信端末
1か月前
シャープ株式会社
画像形成装置
17日前
シャープ株式会社
画像形成装置
17日前
シャープ株式会社
画像形成装置
24日前
シャープ株式会社
アンテナ装置
23日前
シャープ株式会社
画像形成装置
1か月前
シャープ株式会社
画像形成装置
3日前
シャープ株式会社
イオン発生装置
29日前
シャープ株式会社
緩衝材及び梱包体
24日前
シャープ株式会社
通信装置および制御方法
1か月前
シャープ株式会社
端末装置および通信方法
1か月前
シャープ株式会社
端末装置および測定方法
19日前
シャープ株式会社
トナー及びその製造方法
1か月前
シャープ株式会社
端末装置および通信方法
9日前
シャープ株式会社
情報処理装置及び設定方法
22日前
シャープ株式会社
端末および端末の制御方法
1か月前
シャープ株式会社
決済システム及び決済方法
25日前
シャープ株式会社
動画像符号化装置、復号装置
22日前
シャープ株式会社
動画像符号化装置、復号装置
25日前
シャープ株式会社
定着装置および画像形成装置
1か月前
シャープ株式会社
給紙装置および画像形成装置
1か月前
シャープ株式会社
画像処理装置及び表示制御方法
8日前
シャープ株式会社
端末装置、および、基地局装置
24日前
シャープ株式会社
端末装置、および、基地局装置
1か月前
シャープ株式会社
給油管理装置、及び給油システム
22日前
続きを見る
他の特許を見る