TOP
|
特許
|
意匠
|
商標
特許ウォッチ
Twitter
他の特許を見る
10個以上の画像は省略されています。
公開番号
2025176725
公報種別
公開特許公報(A)
公開日
2025-12-05
出願番号
2024082982
出願日
2024-05-22
発明の名称
映像データ処理装置、表示装置及び映像データ処理方法
出願人
シャープ株式会社
代理人
個人
,
個人
主分類
G09G
5/00 20060101AFI20251128BHJP(教育;暗号方法;表示;広告;シール)
要約
【課題】照度に適した疑似輪郭除去を行うことができる映像データ処理装置、表示装置及び映像データ処理方法を提供する。
【解決手段】映像データ処理装置は、照度を検知する照度センサーと、前記照度に基づいて疑似輪郭除去強度を設定する設定部と、前記疑似輪郭除去強度で映像データに対して疑似輪郭除去を行う処理部と、を備える。
【選択図】図3
特許請求の範囲
【請求項1】
照度を検知する照度センサーと、
前記照度に基づいて疑似輪郭除去強度を設定する設定部と、
前記疑似輪郭除去強度で映像データに対して疑似輪郭除去を行う処理部と、
を備える映像データ処理装置。
続きを表示(約 1,100 文字)
【請求項2】
前記照度に基づいて前記疑似輪郭除去強度を設定することは、前記照度が第1の照度である場合に前記疑似輪郭除去強度を第1の疑似輪郭除去強度とし、前記照度が前記第1の照度より暗い第2の照度である場合に前記疑似輪郭除去強度を前記第1の疑似輪郭除去強度より強い第2の疑似輪郭除去強度とすることを含む
請求項1に記載の映像データ処理装置。
【請求項3】
前記照度に基づいて前記疑似輪郭除去強度を設定することは、前記照度に対応する対応疑似輪郭除去強度を取得し、前記対応疑似輪郭除去強度に基づいて前記疑似輪郭除去強度を設定することを含む
請求項1に記載の映像データ処理装置。
【請求項4】
前記対応疑似輪郭除去強度を取得することは、前記対応疑似輪郭除去強度を、テーブルにおいて前記照度に対応づけられた強度とすることを含む
請求項3に記載の映像データ処理装置。
【請求項5】
前記対応疑似輪郭除去強度を取得することは、前記対応疑似輪郭除去強度を、前記照度から演算される強度とすることを含む
請求項3に記載の映像データ処理装置。
【請求項6】
前記映像データにより表される映像の平均輝度を取得する取得部を備え、
前記設定部は、前記平均輝度に基づいて前記疑似輪郭除去強度を設定する
請求項1から5までのいずれかに記載の映像データ処理装置。
【請求項7】
前記平均輝度に基づいて前記疑似輪郭除去強度を設定することは、前記照度に対応する対応疑似輪郭除去強度及び前記平均輝度に対応する平均輝度ゲインを取得し、前記対応疑似輪郭除去強度に前記平均輝度ゲインを適用して前記疑似輪郭除去強度を演算することを含む
請求項6に記載の映像データ処理装置。
【請求項8】
前記平均輝度ゲインを取得することは、前記平均輝度ゲインを、平均輝度ゲインテーブルにおいて前記平均輝度に対応づけられたゲインとすることを含む
請求項7に記載の映像データ処理装置。
【請求項9】
前記平均輝度ゲインを取得することは、前記平均輝度ゲインを、前記平均輝度から演算されるゲインとすることを含む
請求項7に記載の映像データ処理装置。
【請求項10】
前記映像データにより表される映像の最大輝度レベルを取得する取得部を備え、
前記設定部は、前記最大輝度レベルに基づいて前記疑似輪郭除去強度を設定する
請求項1から5までのいずれかに記載の映像データ処理装置。
(【請求項11】以降は省略されています)
発明の詳細な説明
【技術分野】
【0001】
本開示は、映像データ処理装置、表示装置及び映像データ処理方法に関する。
続きを表示(約 3,000 文字)
【背景技術】
【0002】
特許文献1は、信号処理装置を開示する。当該信号処理装置においては、信号のステップ状の変化の位置が検出される。また、検出されたステップ状の変化の位置の間隔であるバンド幅が計算される。計算されるバンド幅は、疑似輪郭の幅に相当する。また、計算されたバンド幅に基づいて入力信号から低周波成分が抽出される。その際には、バンド幅と同等のタップ数のタップ可変ローパスフィルタが入力信号にかけられる。これにより、疑似輪郭状ノイズを含む疑似輪郭が除去され、滑らかでありながらぼけすぎない出力信号が得られる(段落0034-0046)。
【先行技術文献】
【特許文献】
【0003】
特開2011-40910号公報
【発明の概要】
【発明が解決しようとする課題】
【0004】
人間の視覚特性上、映像においては、視聴環境が暗くなるほど、疑似輪郭、マッハバンド、バンディング等が目立つ。しかし、特許文献1に開示された信号処理装置においては、そのような人間の視覚特性が考慮されない。このため、視聴環境の明るさに適した疑似輪郭の除去を行うことができない。
【0005】
本開示の一態様は、この問題に鑑みてなされた。本開示の一態様は、例えば、照度に適した疑似輪郭除去を行うことができる映像データ処理装置、表示装置及び映像データ処理方法を提供することを目的とする。
【課題を解決するための手段】
【0006】
本開示の一態様の映像データ処理装置は、照度を検知する照度センサーと、前記照度に基づいて疑似輪郭除去強度を設定する設定部と、前記疑似輪郭除去強度で映像データに対して疑似輪郭除去を行う処理部と、を備える。
【図面の簡単な説明】
【0007】
参考例の表示装置の周囲の環境の照度が高い場合の、当該表示装置により表示される映像の見え方を模式的に図示する図である。
参考例の表示装置の周囲の環境の照度が低い場合の、当該表示装置により表示される映像の見え方を模式的に図示する図である。
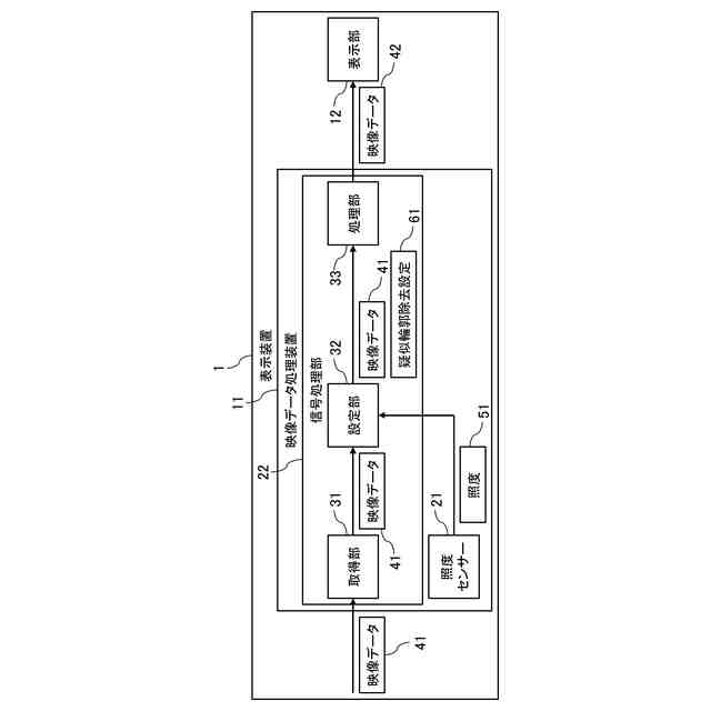
第1実施形態の表示装置のブロック図である。
第1実施形態の表示装置に備えられる設定部により行われる疑似輪郭除去強度の設定の方法を示す図である。
第1実施形態の表示装置に備えられる設定部により保持される疑似輪郭除去強度テーブルを示す図である。
第1実施形態の表示装置に備えられる映像データ処理装置により行われる処理の流れを示すフローチャートである。
第1実施形態の表示装置の周囲の環境の照度が低い場合の、当該表示装置により表示される映像の見え方を模式的に図示する図である。
第2実施形態の表示装置のブロック図である。
第2実施形態の表示装置に備えられる設定部により行われる疑似輪郭除去強度の設定の方法を示す図である。
第2実施形態及び第4実施形態の表示装置に備えられる設定部により保持される平均輝度ゲイン(APL_Gain)テーブルを示す図である。
第2実施形態の表示装置に備えられる映像データ処理装置により行われる処理の流れを示すフローチャートである。
第3実施形態の表示装置のブロック図である。
第3実施形態の表示装置に備えられる設定部により行われる疑似輪郭除去強度の設定の方法を示す図である。
第3実施形態及び第4実施形態の表示装置に備えられる設定部により保持される最大輝度レベルゲイン(Ymax_Gain)テーブルを示す図である。
第3実施形態の表示装置に備えられる映像データ処理装置により行われる処理の流れを示すフローチャートである。
第4実施形態の表示装置のブロック図である。
第4実施形態の表示装置に備えられる設定部により行われる疑似輪郭除去強度の設定の方法を示す図である。
第4実施形態の表示装置に備えられる映像データ処理装置により行われる処理の流れを示すフローチャートである。
第5実施形態、第6実施形態及び第7実施形態の表示装置に備えられる照度センサーにより検知される照度と、当該表示装置に備えられる設定部により当該照度から演算される疑似輪郭除去強度と、の関係を示すグラフである。
第6実施形態の表示装置に備えられる取得部により取得されるAPLと、当該表示装置に備えられる設定部により当該APLから演算されるAPL_Gainと、の関係を示すグラフである。
第7実施形態の表示装置に備えられる取得部により取得されるYmaxと、当該表示装置に備えられる設定部により当該Ymaxから演算されるYmax_Gainと、の関係を示すグラフである。
第8実施形態の表示装置のブロック図である。
第8実施形態の表示装置に備えられる照度センサーにより検知される照度と、当該表示装置に備えられる設定部により当該照度から演算されるシャープネス強度と、の関係を示すグラフである。
第8実施形態の表示装置に備えられる映像データ処理装置により行われる処理の流れを示すフローチャートである。
第9実施形態の表示装置のブロック図である。
第9実施形態の表示装置に備えられる照度センサーにより検知される照度と、当該表示装置に備えられる設定部により当該照度から演算されるノイズリダクション強度と、の関係を示すグラフである。
第9実施形態の表示装置に備えられる映像データ処理装置により行われる処理の流れを示すフローチャートである。
【発明を実施するための形態】
【0008】
以下、本開示の実施形態について、図面を参照しつつ説明する。なお、図面については、同一又は同等の要素には同一の符号を付し、重複する説明は省略する。
【0009】
1 第1実施形態
1.1 疑似輪郭の目立ちやすさ
図1は、参考例の表示装置の周囲の環境の照度が高い場合の、当該表示装置により表示される映像の見え方を模式的に図示する図である。図2は、参考例の表示装置の周囲の環境の照度が低い場合の、当該表示装置により表示される映像の見え方を模式的に図示する図である。
【0010】
人間は、高い照度を有する環境下にある光源により発せられる光よりも、低い照度しか有しない環境下にある光源により発せられる光をまぶしく感じる。このため、人間は、高い照度を有する環境下にある表示装置により表示される映像に含まれる階調の段差に対しては敏感でないが、低い照度しか有しない環境下にある表示装置により表示される映像に含まれる階調の段差に対しては敏感である。このため、図1に図示されるように、参考例の表示装置201の周囲の環境211の照度が高い場合は、参考例の表示装置201により表示される映像212において疑似輪郭213が目立ちにくく、図2に図示されるように、参考例の表示装置201の周囲の環境211の照度が低い場合は、参考例の表示装置201により表示される映像212において疑似輪郭213が目立ちやすい。
(【0011】以降は省略されています)
この特許をJ-PlatPat(特許庁公式サイト)で参照する
関連特許
個人
教育のAI化
29日前
個人
英語教材
1か月前
日本精機株式会社
表示装置
1か月前
個人
インフィニティミラー
1か月前
日本精機株式会社
車両用表示装置
1か月前
個人
微細構造を模した理科学習教材
1か月前
日榮新化株式会社
対象物質感知シート
29日前
ニチレイマグネット株式会社
サイン器具
1か月前
日本精機株式会社
表示装置及びその製造方法
1か月前
朝日インテック株式会社
ラベルシート
1か月前
朝日インテック株式会社
生体モデル装置
1か月前
株式会社イリオスNOTO
シート保管具
1か月前
シャープ株式会社
表示装置
1か月前
国立大学法人秋田大学
運転シミュレータ
1か月前
ローム株式会社
半導体装置およびシステム
16日前
キヤノン株式会社
表示装置
8日前
ヘラマンタイトン株式会社
シート状部材保持具
17日前
キヤノン株式会社
表示装置
8日前
NISSHA株式会社
表示パネル装置
1か月前
アルプスアルパイン株式会社
表示装置
1か月前
共同印刷株式会社
ラベル
29日前
共同印刷株式会社
ラベル
29日前
コベルコ建機株式会社
作業機械操作システム
8日前
日立建機株式会社
ダンプトラック
29日前
株式会社小糸製作所
虚像表示装置
10日前
I&CO合同会社
経路表示用テープ
8日前
日本放送協会
情報提示システム、領域抽出装置及びプログラム
1か月前
株式会社クボタ
表示装置及び表示装置を備えた車両
1か月前
株式会社ジャパンディスプレイ
表示装置
1か月前
株式会社東海理化電機製作所
エンブレム
16日前
株式会社東海理化電機製作所
エンブレム
16日前
株式会社電通
視覚障害体験システム
1日前
株式会社ジャパンディスプレイ
表示装置
1か月前
大日本印刷株式会社
広告ボード体および脚体
8日前
株式会社ジャパンディスプレイ
表示システム
1か月前
株式会社ジャパンディスプレイ
表示システム
2日前
続きを見る
他の特許を見る