TOP
|
特許
|
意匠
|
商標
特許ウォッチ
Twitter
他の特許を見る
10個以上の画像は省略されています。
公開番号
2025168032
公報種別
公開特許公報(A)
公開日
2025-11-07
出願番号
2024073127
出願日
2024-04-26
発明の名称
ラベル
出願人
共同印刷株式会社
代理人
個人
,
個人
,
個人
,
個人
,
個人
,
個人
主分類
G09F
3/00 20060101AFI20251030BHJP(教育;暗号方法;表示;広告;シール)
要約
【課題】本開示は、製造のプロセス及びコストが低減され、かつ印刷時の搬送適正及び印字適正が改善されたラベルを提供する。
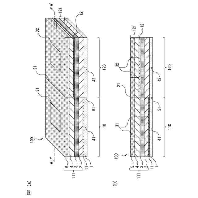
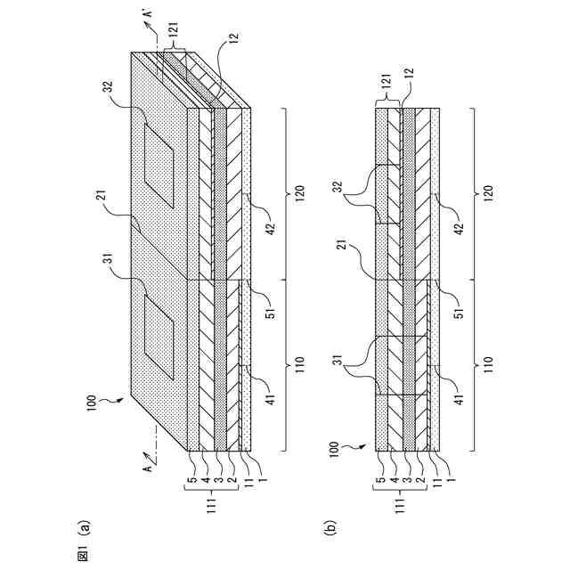
【解決手段】本開示のラベル100は、基材層1、第1の粘着層2、不透明層3、第2の粘着層4、及び透明層5をこの順で有する。本開示のラベルは、基材層と第1の粘着層との界面で剥離させて、第1の粘着層、不透明層、第2の粘着層、及び透明層から構成されている不透明シール111を形成することができる第1の領域110を有する。本開示のラベルは、不透明層と第2の粘着層との界面で剥離させて、第2の粘着層、及び透明層から構成されている透明シール121を形成することができる第2の領域120を有する。
【選択図】図1
特許請求の範囲
【請求項1】
基材層、第1の粘着層、不透明層、第2の粘着層、及び透明層をこの順で有し、
前記基材層と前記第1の粘着層との界面で剥離させて、前記第1の粘着層、前記不透明層、前記第2の粘着層、及び前記透明層から構成されている不透明シールを形成することができる第1の領域、及び
前記不透明層と前記第2の粘着層との界面で剥離させて、前記第2の粘着層、及び前記透明層から構成されている透明シールを形成することができる第2の領域
を有する、ラベル。
続きを表示(約 2,000 文字)
【請求項2】
前記第1の領域の少なくとも一部において、前記基材層と前記第1の粘着層との間に第1の剥離層、及び/又は
前記第2の領域の少なくとも一部において、前記不透明層と前記第2の粘着層との間に第2の剥離層
を有する、請求項1に記載のラベル。
【請求項3】
前記第1の領域と前記第2の領域との間において、少なくとも前記透明層から前記第1の粘着層までを切断している第1の中間ハーフカットを有する、
請求項1に記載のラベル。
【請求項4】
前記第1の領域において、少なくとも前記透明層から前記第1の粘着層までを切断している第1のシール形成用ハーフカット、及び
前記第2の領域において、少なくとも前記透明層から前記第2の粘着層までを切断している第2のシール形成用ハーフカット
を有する、請求項1に記載のラベル。
【請求項5】
前記第1の領域と前記第2の領域との間に、前記不透明シール及び前記透明シールを貼り合わせるための、貼合わせ領域を有し、かつ
前記貼合わせ領域は、前記第1及び第2の領域から延在している前記基材層、前記第1の粘着層、前記不透明層、前記第2の粘着層、及び前記透明層をこの順で有する、
請求項1に記載のラベル。
【請求項6】
前記貼合わせ領域の少なくとも一部において、
前記基材層と前記第1の粘着層との間、及び/又は
前記不透明層と前記第2の粘着層との間、及び/又は
前記透明層の表面、
に第3の剥離層を有し、それによって、前記第3の剥離層上において、貼り合わされた前記不透明シール及び前記透明シールを剥離する剥離操作が可能にされている、請求項5に記載のラベル。
【請求項7】
前記貼合わせ領域の少なくとも一部において、前記基材層と前記第1の粘着層との間に前記第3の剥離層を有し、
前記貼合わせ領域と前記第2の領域との間において、少なくとも前記透明層から前記第1の粘着層までを切断している第2の中間ハーフカットを有し、
前記貼合わせ領域と前記第1の領域との間において、少なくとも前記透明層から前記第1の粘着層までを切断している第3の中間ハーフカット、及び/又は前記第1の領域において、少なくとも前記透明層から前記第1の粘着層までを切断している第1のシール形成用ハーフカットを有する、
請求項6に記載のラベル。
【請求項8】
前記貼合わせ領域の少なくとも一部において、前記不透明層と前記第2の粘着層との間に前記第3の剥離層を有し、
前記貼合わせ領域と前記第1の領域との間において、少なくとも前記透明層から前記第1の粘着層までを切断している第3の中間ハーフカットを有し、
前記貼合わせ領域と前記第2の領域との間において、少なくとも前記透明層から前記第2の粘着層までを切断している第4の中間ハーフカット、及び/又は前記第2の領域において、少なくとも前記透明層から前記第2の粘着層までを切断している第2のシール形成用ハーフカットを有する、
請求項6に記載のラベル。
【請求項9】
前記貼合わせ領域の少なくとも一部において、前記透明層の表面に前記第3の剥離層を有し、
前記貼合わせ領域と前記第1の領域との間において、少なくとも前記透明層から前記第1の粘着層までを切断している第3の中間ハーフカット、及び/又は前記第1の領域において、少なくとも前記透明層から前記第1の粘着層までを切断している第1のシール形成用ハーフカット、並びに
前記貼合わせ領域と前記第2の領域との間において、少なくとも前記透明層から前記第2の粘着層までを切断している第4の中間ハーフカット、及び/又は前記第2の領域において少なくとも前記透明層から前記第2の粘着層までを切断している第2のシール形成用ハーフカット
を有する、請求項6に記載のラベル。
【請求項10】
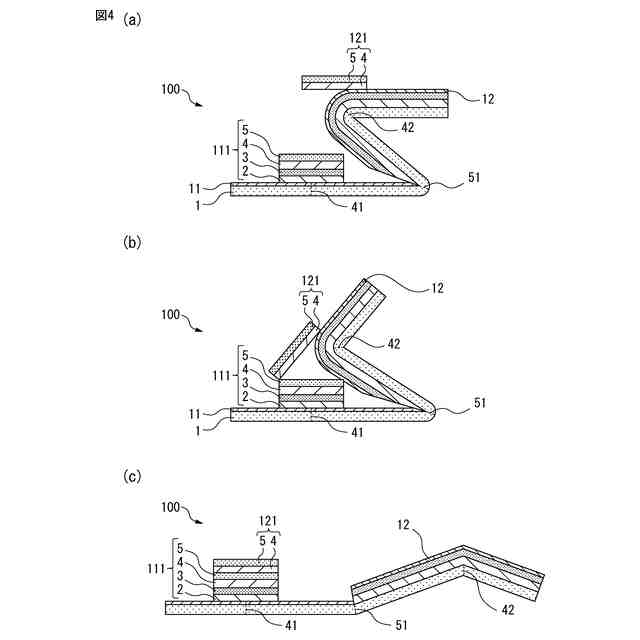
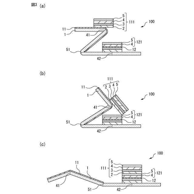
前記第1の領域に、前記ラベルを横断している第1の山折予定部が設けられており、
前記第1の領域と前記第2の領域との間に、前記ラベルを横断している少なくとも1つの谷折予定部が設けられており、
前記第2の領域に、前記ラベルを横断している第2の山折予定部が設けられており、
それによって、
(i)前記第1の領域において、前記不透明シールを剥離させ、そして前記透明シール上に、剥離された前記不透明シールを貼り合わせる、第1の貼合わせ操作、及び/又は
(ii)前記第2の領域において、前記透明シールを剥離させ、そして前記不透明シール上に、剥離された前記透明シールを貼り合わせる、第2の貼合わせ操作、
が可能にされている、請求項1又は5に記載のラベル。
(【請求項11】以降は省略されています)
発明の詳細な説明
【技術分野】
【0001】
本開示は、ラベルに関する。
続きを表示(約 3,500 文字)
【背景技術】
【0002】
監督官庁が発行する各種許可証、検査標章等、及び大学、企業等が構内への乗り入れを許可した車両の使用者に対して発行する入校許可証、駐車許可証、入場許可証等に使用されるものとして、壁、車体等の外表面に直接貼着される外貼り用ラベルと、透明なウィンドウガラス等の内側に貼着される内貼り用ラベルとが知られている(特許文献1及び2)。
【0003】
上記の内貼り用ラベルは、透明ラベル片の表面に所要情報を裏向きに(鏡文字で)表示し、当該表面に不透明ラベル片を積層してなるものであり、該透明ラベル片の裏面に設けられた粘着剤層を介して透明なウィンドウガラス等の内側に貼着されることで、該ウィンドウガラスの外側から所要情報を視認し得るようになっている。
【0004】
一方、外貼り用ラベルは、不透明ラベル片の表面に所要情報を表向きに(鏡文字ではなく正しい向きで)表示し、当該表面に透明ラベル片を積層してなるものである。
【先行技術文献】
【特許文献】
【0005】
特開2018-017807号公報
特開2021-179508号公報
【発明の概要】
【発明が解決しようとする課題】
【0006】
従来のラベルは、粘着層が配置された2つのラベル片、及び剥離層が積層された基材層をそれぞれ作製し、これらを組み合わせることによって製造されるため、製造のプロセス及びコストの観点から改善の余地がある。
【0007】
また、従来のラベルでは、不透明及び透明ラベル片の表面と、基材層の表面との間に段差があるため、例えば、オフセット印刷、レーザープリンタを用いる電子写真印刷等の、ローラー(ブランケット)を被印刷物に接触させて印刷する方法では、ローラーに傷がつくことがある。更に、電子写真印刷では定着ローラーで熱を加えることによってインクを定着させるが、表面に段差を有するラベルでは、プリントヘッドから被印刷物に加わる圧力が一定でないこと等によって、印字ムラが生じることがある。すなわち、従来のラベルは、印刷時の搬送適正及び印字適正の観点から、改善の余地がある。
【0008】
本開示は、製造のプロセス及びコストが低減され、かつ印刷時の搬送適正及び印字適正が改善されたラベルを提供することを目的とする。
【課題を解決するための手段】
【0009】
本件開示者等は、以下の手段により上記課題を解決することができることを見出した。
〈態様1〉
基材層、第1の粘着層、不透明層、第2の粘着層、及び透明層をこの順で有し、
前記基材層と前記第1の粘着層との界面で剥離させて、前記第1の粘着層、前記不透明層、前記第2の粘着層、及び前記透明層から構成されている不透明シールを形成することができる第1の領域、及び
前記不透明層と前記第2の粘着層との界面で剥離させて、前記第2の粘着層、及び前記透明層から構成されている透明シールを形成することができる第2の領域
を有する、ラベル。
〈態様2〉
前記第1の領域の少なくとも一部において、前記基材層と前記第1の粘着層との間に第1の剥離層、及び/又は
前記第2の領域の少なくとも一部において、前記不透明層と前記第2の粘着層との間に第2の剥離層
を有する、態様1に記載のラベル。
〈態様3〉
前記第1の領域と前記第2の領域との間において、少なくとも前記透明層から前記第1の粘着層までを切断している第1の中間ハーフカットを有する、
態様1又は2に記載のラベル。
〈態様4〉
前記第1の領域において、少なくとも前記透明層から前記第1の粘着層までを切断している第1のシール形成用ハーフカット、及び
前記第2の領域において、少なくとも前記透明層から前記第2の粘着層までを切断している第2のシール形成用ハーフカット
を有する、態様1~3のいずれか一項に記載のラベル。
〈態様5〉
前記第1の領域と前記第2の領域との間に、前記不透明シール及び前記透明シールを貼り合わせるための、貼合わせ領域を有し、かつ
前記貼合わせ領域は、前記第1及び第2の領域から延在している前記基材層、前記第1の粘着層、前記不透明層、前記第2の粘着層、及び前記透明層をこの順で有する、
態様1~4のいずれか一項に記載のラベル。
〈態様6〉
前記貼合わせ領域の少なくとも一部において、
前記基材層と前記第1の粘着層との間、及び/又は
前記不透明層と前記第2の粘着層との間、及び/又は
前記透明層の表面、
に第3の剥離層を有し、それによって、前記第3の剥離層上において、貼り合わされた前記不透明シール及び前記透明シールを剥離する剥離操作が可能にされている、態様5に記載のラベル。
〈態様7〉
前記貼合わせ領域の少なくとも一部において、前記基材層と前記第1の粘着層との間に前記第3の剥離層を有し、
前記貼合わせ領域と前記第2の領域との間において、少なくとも前記透明層から前記第1の粘着層までを切断している第2の中間ハーフカットを有し、
前記貼合わせ領域と前記第1の領域との間において、少なくとも前記透明層から前記第1の粘着層までを切断している第3の中間ハーフカット、及び/又は前記第1の領域において、少なくとも前記透明層から前記第1の粘着層までを切断している第1のシール形成用ハーフカットを有する、
態様6に記載のラベル。
〈態様8〉
前記貼合わせ領域の少なくとも一部において、前記不透明層と前記第2の粘着層との間に前記第3の剥離層を有し、
前記貼合わせ領域と前記第1の領域との間において、少なくとも前記透明層から前記第1の粘着層までを切断している第3の中間ハーフカットを有し、
前記貼合わせ領域と前記第2の領域との間において、少なくとも前記透明層から前記第2の粘着層までを切断している第4の中間ハーフカット、及び/又は前記第2の領域において、少なくとも前記透明層から前記第2の粘着層までを切断している第2のシール形成用ハーフカットを有する、
態様6に記載のラベル。
〈態様9〉
前記貼合わせ領域の少なくとも一部において、前記透明層の表面に前記第3の剥離層を有し、
前記貼合わせ領域と前記第1の領域との間において、少なくとも前記透明層から前記第1の粘着層までを切断している第3の中間ハーフカット、及び/又は前記第1の領域において、少なくとも前記透明層から前記第1の粘着層までを切断している第1のシール形成用ハーフカット、並びに
前記貼合わせ領域と前記第2の領域との間において、少なくとも前記透明層から前記第2の粘着層までを切断している第4の中間ハーフカット、及び/又は前記第2の領域において、少なくとも前記透明層から前記第2の粘着層までを切断している第2のシール形成用ハーフカット
を有する、態様6に記載のラベル。
〈態様10〉
前記第1の領域に、前記ラベルを横断している第1の山折予定部が設けられており、
前記第1の領域と前記第2の領域との間に、前記ラベルを横断している少なくとも1つの谷折予定部が設けられており、
前記第2の領域に、前記ラベルを横断している第2の山折予定部が設けられており、
それによって、
(i)前記第1の領域において、前記不透明シールを剥離させ、そして前記透明シール上に、剥離された前記不透明シールを貼り合わせる、第1の貼合わせ操作、及び/又は
(ii)前記第2の領域において、前記透明シールを剥離させ、そして前記不透明シール上に、剥離された前記透明シールを貼り合わせる、第2の貼合わせ操作、
が可能にされている、態様1~9のいずれか一項に記載のラベル。
【発明の効果】
【0010】
本開示によれば、製造のプロセス及びコストが低減され、かつ印刷時の搬送適正及び印字適正が改善されたラベルを提供することができる。
【図面の簡単な説明】
(【0011】以降は省略されています)
この特許をJ-PlatPat(特許庁公式サイト)で参照する
関連特許
共同印刷株式会社
ラベル
26日前
共同印刷株式会社
ラベル
26日前
共同印刷株式会社
臭気吸収用積層フィルム
7日前
個人
教育のAI化
26日前
個人
英語教材
1か月前
日本精機株式会社
表示装置
2か月前
日本精機株式会社
表示装置
29日前
個人
計算用教具
2か月前
中国電力株式会社
標示旗
2か月前
個人
インフィニティミラー
27日前
日本精機株式会社
車両用表示装置
1か月前
個人
微細構造を模した理科学習教材
1か月前
個人
モデルで薔薇の花嫁様を描く為
2か月前
日本精機株式会社
車両用センサ装置
2か月前
日榮新化株式会社
対象物質感知シート
26日前
シャープ株式会社
表示装置
2か月前
ニチレイマグネット株式会社
サイン器具
1か月前
株式会社ウメラボ
学習支援システム
1か月前
株式会社ウメラボ
学習支援システム
2か月前
日本精機株式会社
表示装置及びその製造方法
29日前
ニチレイマグネット株式会社
磁着式電飾装置
2か月前
朝日インテック株式会社
ラベルシート
1か月前
株式会社リコー
画像投射システム
2か月前
シャープ株式会社
表示装置
1か月前
朝日インテック株式会社
生体モデル装置
29日前
株式会社イリオスNOTO
シート保管具
1か月前
リンテック株式会社
表示体
1か月前
シチズンファインデバイス株式会社
液晶表示装置
2か月前
学校法人関西医科大学
腹腔鏡手術訓練装置
2か月前
国立大学法人秋田大学
運転シミュレータ
1か月前
セイコーエプソン株式会社
表示方法
2か月前
セイコーエプソン株式会社
表示方法
2か月前
ローム株式会社
半導体装置およびシステム
13日前
リンテック株式会社
粘着ラベル
1か月前
ヘラマンタイトン株式会社
シート状部材保持具
14日前
TOPPANホールディングス株式会社
ラベル
2か月前
続きを見る
他の特許を見る