TOP
|
特許
|
意匠
|
商標
特許ウォッチ
Twitter
他の特許を見る
公開番号
2025141471
公報種別
公開特許公報(A)
公開日
2025-09-29
出願番号
2024041419
出願日
2024-03-15
発明の名称
計算用教具
出願人
個人
代理人
個人
,
個人
主分類
G09B
19/02 20060101AFI20250919BHJP(教育;暗号方法;表示;広告;シール)
要約
【課題】数の立方体ブロックを用いてさらに複雑な計算を学ぶことが可能な教具の提供。
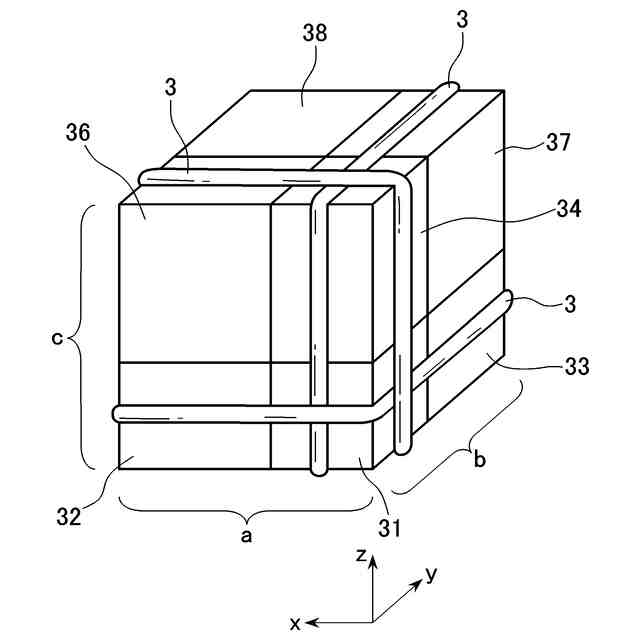
【解決手段】a×b個の複数の立方体ブロック20からなる複合立方体2であり、複数の立方体ブロック20間の境界面20X,20Y,20Zが格子状となるように、xy平面上にx方向にa個、y方向にb個並べて配置可能な複合立方体2と、複合立方体2の格子状の境界面20X,20Y,20Zと平行に掛けるゴムバンド3であり、x方向またはy方向に並ぶ複数の立方体ブロック20を複数の領域に区分するゴムバンド3とを含む教具1である。
【選択図】図1
特許請求の範囲
【請求項1】
a×b個の複数の立方体ブロックからなる複合立方体であり、前記複数の立方体ブロック間の境界面が格子状となるように、xy平面上にx方向にa個、y方向にb個並べて配置可能な複合立方体と、
前記複合立方体の格子状の境界面と平行に掛けるゴムバンドであり、前記x方向または前記y方向に並ぶ複数の立方体ブロックを複数の領域に区分するゴムバンドと
を含む教具。
続きを表示(約 320 文字)
【請求項2】
前記xy平面上の対角線方向に並ぶ前記複数の立方体ブロックについて、前記ゴムバンドにより区分された各立方体ブロックの領域数を数えて計算する方法を示すテキストを含む請求項1記載の教具。
【請求項3】
a×b×c個の複数の立方体ブロックからなる複合立方体であり、前記複数の立方体ブロック間の境界面が格子状となるように、xy平面上にx方向にa個、y方向にb個並べて配置し、さらにz方向にc段重ねて可能な複合立方体と、
前記複合立方体の格子状の境界面と平行に掛けるゴムバンドであり、前記x方向、前記y方向または前記z方向に並ぶ複数の立方体ブロックを複数の領域に区分するゴムバンドと
を含む教具。
発明の詳細な説明
【技術分野】
【0001】
本発明は、数学的な思考力を養うための教具に関する。
続きを表示(約 1,400 文字)
【背景技術】
【0002】
子どもの数学的な思考力を養うための教具の一つとして、モンテッソーリの三項式キューブが知られている。三項式キューブでは、赤、青、黄の順に長い辺で構成された27個のキューブを触りながら、公式を感覚的に学ぶことができるとされている(例えば、非特許文献1参照。)。また、立方体ブロックを用いたパズルとして、例えば特許文献1,2に記載のものが知られている。
【先行技術文献】
【特許文献】
【0003】
特開昭56-27273号公報
特開2021-23629号公報
【非特許文献】
【0004】
“[モンテッソーリ教具]三項式キューブの提示方法をご紹介。おうちでやってみよう!”,[online],株式会社ドットピープス,[令和6年3月5日検索],インターネット<URL:https://montemia.jp/pages/trinomial-cube>
【発明の概要】
【発明が解決しようとする課題】
【0005】
本発明は、複数の立方体ブロックを用いてさらに複雑な計算を学ぶことが可能な教具を提供することを目的とする。
【課題を解決するための手段】
【0006】
本発明の教具は、a×b個の複数の立方体ブロックからなる複合立方体であり、複数の立方体ブロック間の境界面が格子状となるように、xy平面上にx方向にa個、y方向にb個並べて配置可能な複合立方体と、複合立方体の格子状の境界面と平行に掛けるゴムバンドであり、x方向またはy方向に並ぶ複数の立方体ブロックを複数の領域に区分するゴムバンドとを含むものである。
【0007】
本発明の教具によれば、xy平面上の対角線方向に並ぶ複数の立方体ブロックについて、ゴムバンドにより区分された各立方体ブロックの領域数を数えて様々な計算を行うことができる。また、この計算方法について示すテキストを用いることで、本発明の教具を用いた計算方法を容易に学ぶことが可能となる。
【0008】
また、本発明の教具は、a×b×c個の複数の立方体ブロックからなる複合立方体であり、複数の立方体ブロック間の境界面が格子状となるように、xy平面上にx方向にa個、y方向にb個並べて配置し、さらにz方向にc段重ねて可能な複合立方体と、複合立方体の格子状の境界面と平行に掛けるゴムバンドであり、x方向、y方向またはz方向に並ぶ複数の立方体ブロックを複数の領域に区分するゴムバンドとを含むものとすることができる。
【発明の効果】
【0009】
本発明の教具によれば、ゴムバンドにより区分された各立方体ブロックの領域数を数えてさらに複雑な計算を学ぶことが可能となる。
【図面の簡単な説明】
【0010】
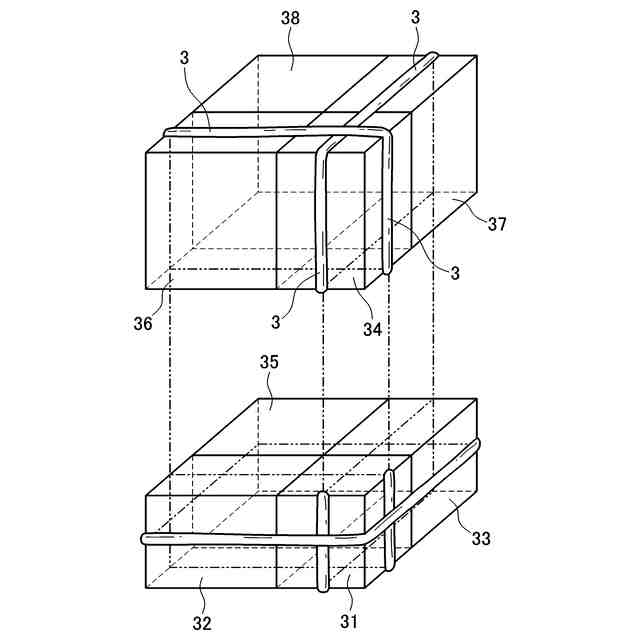
本発明の実施の形態における教具の斜視図である。
2桁の掛け算(12×14)の計算例を示す説明図である。
2桁の掛け算(22×23)の計算例を示す説明図である。
3つの2桁の数の掛け算(12×12×12)の計算例を示す説明図である。
図4の教具をz方向に分離した説明図である。
【発明を実施するための形態】
(【0011】以降は省略されています)
この特許をJ-PlatPat(特許庁公式サイト)で参照する
関連特許
個人
教育のAI化
12日前
個人
英語教材
28日前
個人
回転式カード学習具
2か月前
日本精機株式会社
表示装置
1か月前
日本精機株式会社
表示装置
15日前
個人
計算用教具
1か月前
中国電力株式会社
標示旗
2か月前
日本精機株式会社
車両用表示装置
21日前
個人
インフィニティミラー
13日前
個人
微細構造を模した理科学習教材
1か月前
日本精機株式会社
車両用センサ装置
1か月前
個人
モデルで薔薇の花嫁様を描く為
2か月前
日榮新化株式会社
対象物質感知シート
12日前
株式会社一弘社
情報表示板
2か月前
シャープ株式会社
表示装置
2か月前
ニチレイマグネット株式会社
サイン器具
26日前
株式会社ウメラボ
学習支援システム
1か月前
株式会社ウメラボ
学習支援システム
1か月前
ニチレイマグネット株式会社
磁着式電飾装置
2か月前
日本精機株式会社
表示装置及びその製造方法
15日前
朝日インテック株式会社
ラベルシート
26日前
株式会社リコー
画像投射システム
2か月前
リンテック株式会社
表示体
1か月前
朝日インテック株式会社
生体モデル装置
15日前
シャープ株式会社
表示装置
27日前
株式会社イリオスNOTO
シート保管具
26日前
シチズンファインデバイス株式会社
液晶表示装置
2か月前
BEST株式会社
吊り下げ表示部材
2か月前
学校法人関西医科大学
腹腔鏡手術訓練装置
2か月前
国立大学法人秋田大学
運転シミュレータ
27日前
セイコーエプソン株式会社
表示方法
2か月前
セイコーエプソン株式会社
表示方法
2か月前
ニプロ株式会社
シミュレータ
2か月前
リンテック株式会社
粘着ラベル
1か月前
キヤノン株式会社
発光装置
1か月前
ローム株式会社
暗号化装置
1か月前
続きを見る
他の特許を見る