TOP
|
特許
|
意匠
|
商標
特許ウォッチ
Twitter
他の特許を見る
公開番号
2025161382
公報種別
公開特許公報(A)
公開日
2025-10-24
出願番号
2024064518
出願日
2024-04-12
発明の名称
シート保管具
出願人
株式会社イリオスNOTO
代理人
個人
主分類
G09F
17/00 20060101AFI20251017BHJP(教育;暗号方法;表示;広告;シール)
要約
【課題】 シワや折り目を付けずにシートを保管できるシート保管具を提供する。
【解決手段】 シート保管具1は、シート100が巻き付けられる円筒状のバー10と、バーの左右両端から軸方向に突出する心棒20と、バーが軸回りに回転自在となるように心棒を保持する保持部30と、シートの始端をバーに固定するための半円筒状の固定部材40と、使用者がバーを軸回りに回転させる際に操作する2つの円盤状の操作板50と、箱体60とを備る。操作板は心棒に固定されており、バーの左右両端と操作板との間にシート側縁の折り返し部を位置させるための退避用空間70を備える。円筒状のバーにシートを巻き付けるので折り目を付けずにシートを保管できる。また、シート側縁に存在する折り返し部、紐を通すためのハトメ部、ハトメ紐等は退避用空間に位置するのでシートにシワを生じさせない状態で綺麗に巻き取ることができる。
【選択図】図1
特許請求の範囲
【請求項1】
シートが巻き付けられる円筒状のバーと、前記バーの左右両端から軸方向に突出する心棒と、前記バーが軸回りに回転自在となるように前記心棒を保持する保持部と、シートの始端を前記バーに固定するための半円筒状の固定部材と、使用者が前記バーを軸回りに回転させる際に操作する操作板と、箱体とを備えており、
前記操作板は前記心棒に固定されており、
前記バーの左右両端と前記操作板との間にシート側縁の折り返し部を位置させるための退避用空間を備えることを特徴とするシート保管具。
続きを表示(約 120 文字)
【請求項2】
前記心棒が前記バーに対して脱着自在であることを特徴とする請求項1に記載のシート保管具。
【請求項3】
前記バーの内部の空気を外部に排出するための貫通穴を備えることを特徴とする請求項1又は2に記載のシート保管具。
発明の詳細な説明
【技術分野】
【0001】
本発明はシワや折り目を付けずにシートを保管できるシート保管具に関する。
続きを表示(約 2,000 文字)
【背景技術】
【0002】
旗、垂れ幕、反物、地図、ポスター等のシート状の物(以下、単に「シート」と記載する。)を例えば霧箱に折り畳んで保管すると、取り出した際にシワや折り目が付いてしまうという問題がある。
例えば特許文献1にはミゾ付きの旗竿と、この旗竿に収容可能な旗とを備え、使用する場合には旗竿の先端部を引き出して旗を広げ、使用しない場合には旗竿の先端部を回しながら旗竿内に旗を保管する技術が開示されている。
【先行技術文献】
【特許文献】
【0003】
特開平3-250166号公報
【発明の概要】
【発明が解決しようとする課題】
【0004】
しかし、特許文献1の技術では旗の端部が旗竿に固定されているので、旗を垂れ幕のように吊り下げて使用することができないという問題がある。
また、旗や垂れ幕は通常その側縁を二つに折り曲げて縫製した折り返し部や、紐を通すためのハトメ部等が存在するが、特許文献1のように旗を旗竿に巻き取ると折り返し部やハトメ部が膨らんでしまい、これが旗にシワを生じさせる原因になる。
【0005】
本発明は、上記のような問題を考慮して、シワや折り目を付けずにシートを保管できるシート保管具を提供することを課題とする。
【課題を解決するための手段】
【0006】
本発明のシート保管具は、シートが巻き付けられる円筒状のバーと、前記バーの左右両端から軸方向に突出する心棒と、前記バーが軸回りに回転自在となるように前記心棒を保持する保持部と、シートの始端を前記バーに固定するための半円筒状の固定部材と、使用者が前記バーを軸回りに回転させる際に操作する操作板と、箱体とを備えており、前記操作板は前記心棒に固定されており、前記バーの左右両端と前記操作板との間にシート側縁の折り返し部を位置させるための退避用空間を備えることを特徴とする。
また、前記心棒が前記バーに対して脱着自在であることを特徴とする。
また、前記バーの内部の空気を外部に排出するための貫通穴を備えることを特徴とする。
【発明の効果】
【0007】
本発明では円筒状のバーにシートを巻き付けるので折り目を付けずにシートを保管できる。特に、シート側縁に存在する折り返し部、紐を通すためのハトメ部、ハトメ紐が退避用空間に位置するのでシワや折り目を付けずにシートを保管できる。
心棒がバーに対して脱着自在にすることでバーの内部空間を有効利用できる。
バーの内部の空気を外部に排出するための貫通穴を備えることで、例えばバーの内部に防虫剤や乾燥剤を入れておき、貫通穴から防虫成分や乾燥した空気をバーの外部に排出させることができる。
【図面の簡単な説明】
【0008】
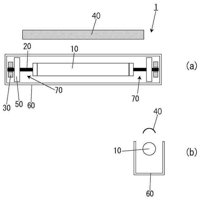
シート保管具の平面図(a)、A-A’線断面図(b)、B-B’線断面図(c)及びC-C’線断面図(d)
シート保管具及び固定部材の平面図(a)及び断面図(b)
バー、蓋体、心棒及び操作板の正面図(a)、バーから蓋体、心棒及び操作板を外した状態を示す図(b)及び蓋体の側面図(c)
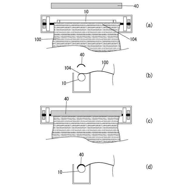
シート保管具の使用方法を示す平面図(a)、断面図(b)、平面図(c)及び断面図(d)
シート保管具の使用方法を示す平面図(a)、断面図(b)、平面図(c)及び(d)
【発明を実施するための形態】
【0009】
本発明のシート保管具の実施の形態について説明する。シート保管具は旗、垂れ幕、反物等のシートを巻き取って保管する際に使用するものである。
図1及び図2に示すようにシート保管具1はバー10、心棒20、保持部30、固定部材40、操作板50及び箱体60を備えている。
バー10はシート100(図4)を巻き付けるための円筒状の部材である。バー10の長手方向の寸法はシート100の左右方向の幅よりも短くする必要がある。
【0010】
図3に示すように心棒20はバー10の左右両端から軸方向に突出する部材である。本実施の形態ではバー10の端部開口11を塞ぐ蓋体12に心棒20を取り付けている。図3(b)に示すように蓋体12がバー10から外れるようにすることで心棒20はバー10に対して脱着自在になっている。蓋体12がバー10から外れないようにしてもよい。
また、図3(c)に示すように蓋体12に貫通穴13を設けることでバー10の内部の空気を外部に排出することができる構成にしてもよい。バー10の内部に防虫剤や乾燥剤を入れておくことで貫通穴13から防虫成分や乾燥した空気をバー10の外部に排出させることができる。
(【0011】以降は省略されています)
この特許をJ-PlatPat(特許庁公式サイト)で参照する
関連特許
個人
教育のAI化
1か月前
個人
英語教材
1か月前
日本精機株式会社
表示装置
1か月前
個人
インフィニティミラー
1か月前
日本精機株式会社
車両用表示装置
1か月前
個人
微細構造を模した理科学習教材
1か月前
日榮新化株式会社
対象物質感知シート
1か月前
ニチレイマグネット株式会社
サイン器具
1か月前
株式会社ウメラボ
学習支援システム
2か月前
日本精機株式会社
表示装置及びその製造方法
1か月前
朝日インテック株式会社
ラベルシート
1か月前
株式会社イリオスNOTO
シート保管具
1か月前
シャープ株式会社
表示装置
1か月前
リンテック株式会社
表示体
1か月前
朝日インテック株式会社
生体モデル装置
1か月前
国立大学法人秋田大学
運転シミュレータ
1か月前
ローム株式会社
半導体装置およびシステム
18日前
リンテック株式会社
粘着ラベル
2か月前
キヤノン株式会社
表示装置
10日前
ローム株式会社
暗号化装置
2か月前
ヘラマンタイトン株式会社
シート状部材保持具
19日前
キヤノン株式会社
表示装置
10日前
セイコーエプソン株式会社
投射型表示装置
2か月前
株式会社JVCケンウッド
液晶表示装置および制御方法
1か月前
公立大学法人札幌市立大学
化学構造模型
2か月前
アルプスアルパイン株式会社
表示装置
1か月前
共同印刷株式会社
ラベル
1か月前
NISSHA株式会社
表示パネル装置
1か月前
共同印刷株式会社
ラベル
1か月前
株式会社小糸製作所
虚像表示装置
12日前
コベルコ建機株式会社
作業機械操作システム
10日前
日立建機株式会社
ダンプトラック
1か月前
アルプスアルパイン株式会社
情報処理システム
2か月前
株式会社小糸製作所
照明表示装置
1か月前
大日本印刷株式会社
学習支援装置及びプログラム
2か月前
セイコーエプソン株式会社
表示装置及び電子機器
2か月前
続きを見る
他の特許を見る