TOP
|
特許
|
意匠
|
商標
特許ウォッチ
Twitter
他の特許を見る
10個以上の画像は省略されています。
公開番号
2025159419
公報種別
公開特許公報(A)
公開日
2025-10-21
出願番号
2024061939
出願日
2024-04-08
発明の名称
表示装置
出願人
アルプスアルパイン株式会社
代理人
個人
,
個人
,
個人
,
個人
主分類
G09F
9/30 20060101AFI20251014BHJP(教育;暗号方法;表示;広告;シール)
要約
【課題】 指向性の異なるRGBのマイクロLEDを用いたときの視野角による色変化を抑制することができる表示装置を提供する。
【解決手段】 本発明の表示装置は、マイクロLED基板130と、マイクロLED基板130上に形成されたCOM配線140およびSEG配線150と、COM配線140とSEG配線150の交差部に配置されたR、G、BのマイクロLED160と、G、BのマイクロLED160の外周を取り囲むように形成された壁170とを含む。壁170は、G、BのマイクロLED160の指向性が広がった光Lの方向を制御し、これにより、視野角による色変化が抑制される。
【選択図】 図6
特許請求の範囲
【請求項1】
基板と、
前記基板上に形成された配線と、
前記基板上に形成され、かつ前記配線と電気的に接続された複数の発光素子とを含み、
前記複数の発光素子は、赤色を発光する赤発光素子と、緑色を発光する緑発光素子と、青色を発光する青発光素子とを含み、
赤発光素子、緑発光素子および青発光素子の中の選択された発光素子の周囲に、当該選択された発光素子から出射される光を制御するための壁部が設けられる、表示装置。
続きを表示(約 880 文字)
【請求項2】
前記壁部は、前記選択された発光素子から出射された光の一部を反射または吸収する、請求項1に記載の表示装置。
【請求項3】
前記壁部は、前記選択された発光素子の光出射面よりも高い頂部を有する、請求項1に記載の表示装置。
【請求項4】
前記壁部は、前記選択された発光素子の指向性の広がった光を制御する、請求項1に記載の表示装置。
【請求項5】
前記配線は、前記選択された発光素子を実装する領域にリング状配線を含み、前記リング状配線の中央の空間に前記選択された発光素子が配置され、前記リング状配線上に前記壁部が形成される、請求項1に記載の表示装置。
【請求項6】
前記配線は、パッドを含み、前記選択された発光素子の電極が前記パッドに接続され、前記パッドの前記選択された発光素子が搭載されていない領域に前記壁部が形成される、請求項1に記載の表示装置。
【請求項7】
前記パッドと前記電極との間に導電性接着剤を含み、前記壁部は、前記導電性接着剤を押圧することにより形成される、請求項6に記載の表示装置。
【請求項8】
基板と、
前記基板上に形成された配線と、
前記基板上に形成され、かつ前記配線と電気的に接続された複数の発光素子とを含み、
前記複数の発光素子は、赤色を発光する赤発光素子と、緑色を発光する緑発光素子と、青色を発光する青発光素子とを含み、
赤発光素子、緑発光素子および青発光素子の中の選択された発光素子の少なくとも頂部を覆う光透過部が設けられ、当該光透過部は、前記選択された発光素子から出射される光を制御する、表示装置。
【請求項9】
前記光透過部は、前記選択された発光素子の指向性の広がった光を鉛直方向または光軸方向に向けて屈折させる、請求項8に記載の表示装置。
【請求項10】
前記選択された発光素子および前記光透過部は、スタンプヘッドから転写される、請求項8に記載の表示装置。
発明の詳細な説明
【技術分野】
【0001】
本発明は、基板上に複数の発光素子が形成された表示装置に関し、特にマイクロLED(light-emitting diode)を有する表示装置に関する。
続きを表示(約 1,600 文字)
【背景技術】
【0002】
近年、発光ダイオードから直接的に映像を表示することができるマイクロLEDが開発されている。マイクロLEDは、各ピクセルに対応するように二次元状に配列され、カラー映像では、各ピクセルは、青色、緑色および赤色サブピクセルを含んで構成される。
【0003】
例えば、特許文献1は、赤色(R)の第1LEDスタック、緑色(G)の第2LEDスタック、青色(B)の3LEDスタックを垂直方向に積層させ、第1LEDスタック~第3LEDスタックの各発光ダイオードのアノードをデータ配線に共通に接続させ、カソードをスキャン配線1、2、3にそれぞれ接続させ、同一ピクセル内のR、G、Bの発光ダイオードを独立して駆動する、パッシブ駆動型のディスプレイ用LEDスタックを開示している。
【0004】
特許文献2は、半導体層上に、ゲート電極、ドレイン電極、ソース電極を含む薄膜トランジスタ(TFT)を形成し、TFTを覆うように平坦化層を形成し、平坦化層のビアホールを介してソース電極に接続される第1電極を平坦化層上に形成し、第1電極とその上方に形成された第2電極との間にLEDを形成する、アクティブ駆動型のマイクロLEDを開示している。
【先行技術文献】
【特許文献】
【0005】
特開2021-504752号公報
米国特許第11,171,270号公報
【発明の概要】
【発明が解決しようとする課題】
【0006】
マイクロLEDを用いたディスプレイは、見る角度(視野角)で色が変化する。例えば、図1(A)に示すように、ユーザーUがディスプレイ10を正面から見ると映像を綺麗に見ることができるが、図1(B)に示すように、ユーザーUが上下の方向からディスプレイ10を見ると、青緑が濃い映像に見えてしまう。
【0007】
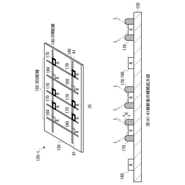
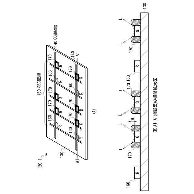
図2は、マイクロLEDが実装された基板の概略斜視図である。同図に示すように、基板20上には、行方向にCOM配線30が形成され、列方向にSEG配線40が形成され、これらのマトリックス配線の交差部にマイクロLED50が実装される。マイクロLED50は、R、G、BのそれぞれのLEDチップを含む。例えば、パッシブ駆動では、SEG配線40が一定周波数で時分割駆動され、SEG配線40からCOM配線30に画像データに応じた駆動電流が印加され、各マイクロLED50が発光する。
【0008】
図3は、R、G、BのマイクロLEDの指向性を例示する図であり、同図の垂線は、マイクロLEDの鉛直方向(または光軸方向)の光度を表している。R、G、Bの指向性を比較すると、Rに対してGとBの指向性が斜め方向(45度方向の近辺)で強くなっている。このため、ディスプレイを正面から見た映像が、視野角を変えて斜めから見ると、相対的に青緑が強い映像となる。
【0009】
本発明は、このような従来の課題を解決し、指向性の異なるRGBの発光素子を用いたときの視野角による色変化を抑制することができる表示装置を提供することを目的とする。
【課題を解決するための手段】
【0010】
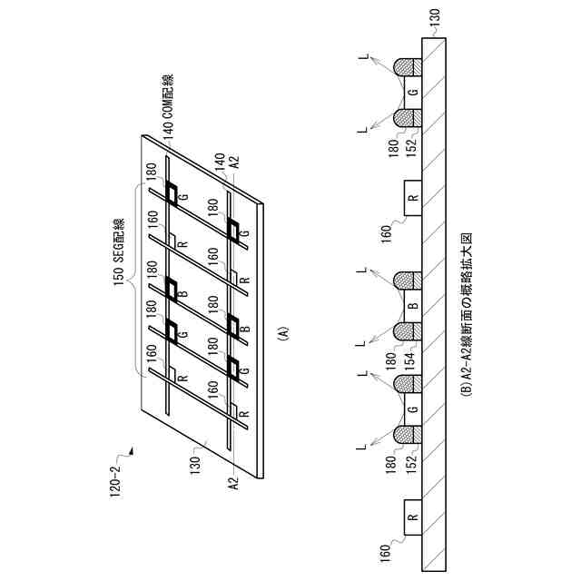
本発明に係る表示装置は、基板と、前記基板上に形成された配線と、前記基板上に形成され、かつ前記配線と電気的に接続された複数の発光素子とを含み、前記複数の発光素子は、赤色を発光する赤発光素子と、緑色を発光する緑発光素子と、青色を発光する青発光素子とを含み、赤発光素子、緑発光素子および青発光素子の中の選択された発光素子の周囲に、当該選択された発光素子から出射される光を制御するための壁部が設けられる。
(【0011】以降は省略されています)
この特許をJ-PlatPat(特許庁公式サイト)で参照する
関連特許
個人
教育のAI化
16日前
個人
英語教材
1か月前
日本精機株式会社
表示装置
1か月前
日本精機株式会社
表示装置
19日前
個人
計算用教具
1か月前
中国電力株式会社
標示旗
2か月前
個人
インフィニティミラー
17日前
日本精機株式会社
車両用表示装置
25日前
個人
モデルで薔薇の花嫁様を描く為
2か月前
個人
微細構造を模した理科学習教材
1か月前
日本精機株式会社
車両用センサ装置
1か月前
日榮新化株式会社
対象物質感知シート
16日前
ニチレイマグネット株式会社
サイン器具
1か月前
シャープ株式会社
表示装置
2か月前
株式会社ウメラボ
学習支援システム
1か月前
株式会社ウメラボ
学習支援システム
1か月前
朝日インテック株式会社
ラベルシート
1か月前
日本精機株式会社
表示装置及びその製造方法
19日前
ニチレイマグネット株式会社
磁着式電飾装置
2か月前
シャープ株式会社
表示装置
1か月前
株式会社イリオスNOTO
シート保管具
1か月前
株式会社リコー
画像投射システム
2か月前
朝日インテック株式会社
生体モデル装置
19日前
リンテック株式会社
表示体
1か月前
シチズンファインデバイス株式会社
液晶表示装置
2か月前
学校法人関西医科大学
腹腔鏡手術訓練装置
2か月前
国立大学法人秋田大学
運転シミュレータ
1か月前
セイコーエプソン株式会社
表示方法
2か月前
セイコーエプソン株式会社
表示方法
2か月前
ローム株式会社
半導体装置およびシステム
3日前
リンテック株式会社
粘着ラベル
1か月前
TOPPANホールディングス株式会社
ラベル
1か月前
ローム株式会社
暗号化装置
1か月前
キヤノン株式会社
発光装置
1か月前
ヘラマンタイトン株式会社
シート状部材保持具
4日前
公立大学法人札幌市立大学
化学構造模型
1か月前
続きを見る
他の特許を見る