TOP
|
特許
|
意匠
|
商標
特許ウォッチ
Twitter
他の特許を見る
10個以上の画像は省略されています。
公開番号
2025160980
公報種別
公開特許公報(A)
公開日
2025-10-24
出願番号
2024063769
出願日
2024-04-11
発明の名称
サイン器具
出願人
ニチレイマグネット株式会社
代理人
主分類
G09F
7/18 20060101AFI20251017BHJP(教育;暗号方法;表示;広告;シール)
要約
【課題】表示部分の余白が少なく、材料コストの削減を図ることができるとともに、表示内容の追加が容易にでき融通性に優れるサイン器具の提供。
【解決手段】略円錐状に立設した本体部2の側面に表示情報43を有するサイン器具1であって、略円錐状の本体部2と、本体部2の側面に設けられる下地シート3と、下地シート3の表側面に磁気吸着力によって着脱自在に固定されるメディアシート4とを有し、下地シート3とメディアシート4とは、共に強磁性シート31,41を基材として含むとともに、少なくとも一方が、硬磁性材粉末とエラストマーとの混合体に多極着磁を施したマグネットシート41を含み、メディアシート4における下地シート3と対峙する面と反対側の面に文字、記号、絵柄及び模様の少なくとも一つを含む表示情報43を設けた構成とする。
【選択図】図1
特許請求の範囲
【請求項1】
略円錐状に立設した本体部の側面に表示情報を有するサイン器具であって、
略円錐状の本体部と、
本体部の側面に設けられる下地シートと、
下地シートの表側面に磁気吸着力によって着脱自在に固定されるメディアシートとを有し、
下地シートとメディアシートとは、共に強磁性シートを基材として含むとともに、少なくとも一方が、硬磁性材粉末とエラストマーとの混合体に多極着磁を施したマグネットシートを含み、
メディアシートにおける下地シートと対峙する面と反対側の面に文字、記号、絵柄及び模様の少なくとも一つを含む表示情報を設けたことを特徴とするサイン器具。
続きを表示(約 270 文字)
【請求項2】
下地シートは、本体部の側面に巻回可能な略扇形形状を有するとともに、その周方向の両端部に端部同士を連結する連結部を備える請求項1に記載のサイン器具。
【請求項3】
両端部における連結部は、それぞれ磁極の延びる方向が、下地シートの周方向に直交するように設けられた一対の連結用マグネットシートからなる請求項2に記載のサイン器具。
【請求項4】
一対の連結用マグネットシートの少なくとも一枚が、当該連結用マグネットシートの面の法線方向軸を中心に回動自在に軸支された請求項3に記載のサイン器具。
発明の詳細な説明
【技術分野】
【0001】
本発明は、サイン器具に関する。より詳しくは、略円錐状に立設した本体部の側面に表示情報を有するサイン器具に関し、POP広告、ディスプレイ、案内、あるいは安全標識等として、店舗、カウンター、展示会場、博物館、施設、路上等の様々な場所に置いての使用に好適なサイン器具に関する。
続きを表示(約 1,600 文字)
【背景技術】
【0002】
上記したようなサイン器具の一例として、特許文献1に開示の交通コーンがある。
この交通コーンでは、円錐状部表面を着脱自在に覆うカバーを有する。カバーの形状は、両端に大小大きさの異なる開口を有する筒状体とされ、材質は、柔軟なポリ塩化ビニールである。本カバーを交通コーンに被せることで、円錐状部は、その先端部分以外が被覆されることになる。案内情報となる「立ち入り禁止」「駐車禁止」等の表示は、このカバーに記載しておき、目的や用途に応じた案内表示のカバーを選択して円錐状部に被せればよいので、交通コーン自体(円錐状部)に案内表示を直接記載することなく、交通コーン自体は一種で済むことになる。
【先行技術文献】
【特許文献】
【0003】
特開2001-164527号
【発明の開示】
【発明が解決しようとする課題】
【0004】
ところで、上記カバーは、円錐状部に被せて固定するものであることから、必要な面積も大きく、不要箇所、つまり表示内容以外の余白部分も多く無駄が多い。このことは製品コストの上昇につながる。また、被せるカバーは一つであるため、後から表示内容を追加できないなど融通性に乏しい。
【0005】
本発明は、以上のような事情に着目してなされたもので、表示部分の余白が少なく、材料コストの削減を図ることができるとともに、表示内容の追加が容易にでき融通性に優れるサイン器具の提供を課題とする。
【課題を解決するための手段】
【0006】
本発明は、上記課題を解決するために次のような手段をとる。なお、本欄(「課題を解決するための手段」の欄)において各構成手段に付した括弧書きの符号は、後述する実施形態に記載の具体的手段との対応関係を示すための参考用のものであり、本発明の構成手段をこれに限定するものではない。
【0007】
本発明の一の態様では、略円錐状に立設した本体部(2)の側面に表示情報(43)を有するサイン器具(1)であって、略円錐状の本体部(2)と、本体部(2)の側面に設けられる下地シート(3)と、下地シート(3)の表側面に磁気吸着力によって着脱自在に固定されるメディアシート(4)とを有し、下地シート(3)とメディアシート(4)とは、共に強磁性シート(31,41)を基材として含むとともに、少なくとも一方が、硬磁性材粉末とエラストマーとの混合体に多極着磁を施したマグネットシート(41)を含み、メディアシート(4)における下地シート(3)と対峙する面と反対側の面に、文字、記号、絵柄及び模様の少なくとも一つを含む表示情報(43)を設けたことを特徴とする。
なお、強磁性体シートとは、永久磁石の性質を示すマグネットシートと、自らは永久磁石の性質を示さないが、鉄等の磁性物質を磁着する軟磁性シートとの両方を含む意味である。
【0008】
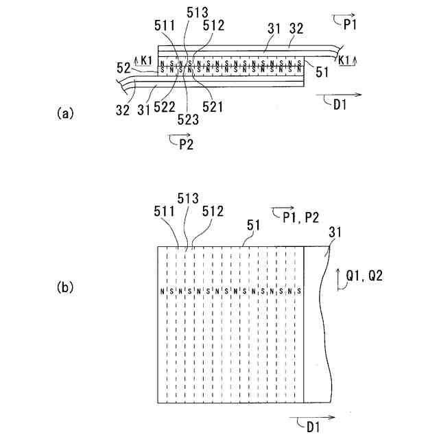
本発明の他の態様では、下地シート(3)は、本体部(2)の側面に巻回可能な略扇形形状を有するとともに、その周方向(D1)の両端部に、端部同士を連結する連結部(33,34,51,52)を備える。
【0009】
本発明の他の態様では、両端部における連結部は、それぞれ磁極(511,512,521,522)の延びる方向(Q1,Q2)が、下地シート(3)の周方向(D1)に直交するように設けられた一対の連結用マグネットシート(51,52)からなる。
【0010】
本発明の他の態様では、一対の連結用マグネットシート(51,52)の少なくとも一枚が、当該連結用マグネットシート(51,52)の面の法線方向軸(J2)を中心に回動自在に軸支される。
【発明の効果】
(【0011】以降は省略されています)
この特許をJ-PlatPat(特許庁公式サイト)で参照する
関連特許
個人
教育のAI化
1か月前
個人
英語教材
1か月前
日本精機株式会社
表示装置
2か月前
日本精機株式会社
表示装置
1か月前
個人
計算用教具
2か月前
中国電力株式会社
標示旗
2か月前
個人
インフィニティミラー
1か月前
日本精機株式会社
車両用表示装置
1か月前
個人
微細構造を模した理科学習教材
1か月前
個人
モデルで薔薇の花嫁様を描く為
3か月前
日本精機株式会社
車両用センサ装置
2か月前
日榮新化株式会社
対象物質感知シート
1か月前
シャープ株式会社
表示装置
2か月前
ニチレイマグネット株式会社
サイン器具
1か月前
株式会社ウメラボ
学習支援システム
2か月前
株式会社ウメラボ
学習支援システム
2か月前
ニチレイマグネット株式会社
磁着式電飾装置
2か月前
朝日インテック株式会社
ラベルシート
1か月前
日本精機株式会社
表示装置及びその製造方法
1か月前
シャープ株式会社
表示装置
1か月前
株式会社リコー
画像投射システム
2か月前
朝日インテック株式会社
生体モデル装置
1か月前
株式会社イリオスNOTO
シート保管具
1か月前
リンテック株式会社
表示体
2か月前
シチズンファインデバイス株式会社
液晶表示装置
3か月前
学校法人関西医科大学
腹腔鏡手術訓練装置
2か月前
国立大学法人秋田大学
運転シミュレータ
1か月前
ローム株式会社
半導体装置およびシステム
19日前
セイコーエプソン株式会社
表示方法
3か月前
セイコーエプソン株式会社
表示方法
3か月前
リンテック株式会社
粘着ラベル
2か月前
ローム株式会社
暗号化装置
2か月前
TOPPANホールディングス株式会社
ラベル
2か月前
キヤノン株式会社
発光装置
2か月前
ヘラマンタイトン株式会社
シート状部材保持具
20日前
キヤノン株式会社
表示装置
11日前
続きを見る
他の特許を見る