TOP
|
特許
|
意匠
|
商標
特許ウォッチ
Twitter
他の特許を見る
公開番号
2025153742
公報種別
公開特許公報(A)
公開日
2025-10-10
出願番号
2024056360
出願日
2024-03-29
発明の名称
表示体
出願人
リンテック株式会社
代理人
個人
,
個人
,
個人
主分類
G09F
9/30 20060101AFI20251002BHJP(教育;暗号方法;表示;広告;シール)
要約
【課題】所望の輝度分布を実現可能な表示体を提供する。
【解決手段】光源を含む表示装置と、屈折率が相対的に低い領域中に屈折率が相対的に高い領域を複数備えた規則的内部構造を有する光拡散制御層11a,11bとを備えた表示体1a,1b,2であって、光拡散制御層11a,11bが、表示体1a,1b,2の表示面と前記光源との間における何れかの位置に存在し、前記表示装置単独の輝度(cd/m
2
)を基準とする、表示体1a,1b,2の輝度(cd/m
2
)の割合が、前記表示面の法線との間でなす角度が0°の方向から測定した場合について、90%以上、100%未満であり、前記表示面の法線との間でなす角度が-75°、-65°、-55°、-45°、45°、55°、65°および75°の少なくとも1つの方向から測定した場合について、100%以上、180%以下である表示体1a,1b,2。
【選択図】図1
特許請求の範囲
【請求項1】
光源を含む表示装置と、
屈折率が相対的に低い領域中に屈折率が相対的に高い領域を複数備えた規則的内部構造を有する光拡散制御層と
を備えた表示体であって、
前記光拡散制御層が、前記表示体の表示面と前記光源との間における何れかの位置に存在し、
前記表示装置単独について前記光源を点灯させた際の輝度(cd/m
2
)を基準とする、前記表示体について前記光源を点灯させた際の輝度(cd/m
2
)の割合が、
前記表示面の法線との間でなす角度が0°の方向から測定した場合について、90%以上、100%未満であり、
前記表示面の法線との間でなす角度が-75°、-65°、-55°、-45°、45°、55°、65°および75°の少なくとも1つの方向から測定した場合について、100%以上、180%以下であることを特徴とする表示体。
続きを表示(約 890 文字)
【請求項2】
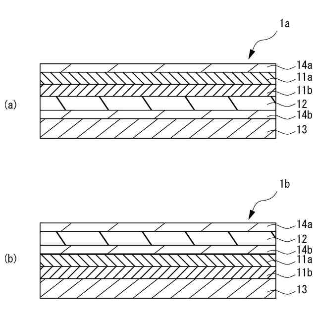
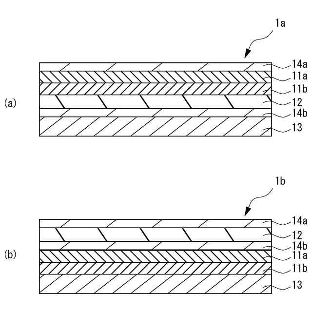
前記表示体が、前記光拡散制御層を少なくとも2層備え、
前記光拡散制御層の各々が、前記表示体の表示面と前記光源との間における何れかの位置に存在する
ことを特徴とする請求項1に記載の表示体。
【請求項3】
前記光拡散制御層は、その拡散中心軸が、前記表示面の法線とは平行とはならないものであることを特徴とする請求項1に記載の表示体。
【請求項4】
前記表示体中に複数存在する前記光拡散制御層のうちの少なくとも1組は、互いの拡散中心軸が平行とはならないように積層されていることを特徴とする請求項2に記載の表示体。
【請求項5】
前記表示体が備える前記光拡散制御層は、4層以下であることを特徴とする請求項2に記載の表示体。
【請求項6】
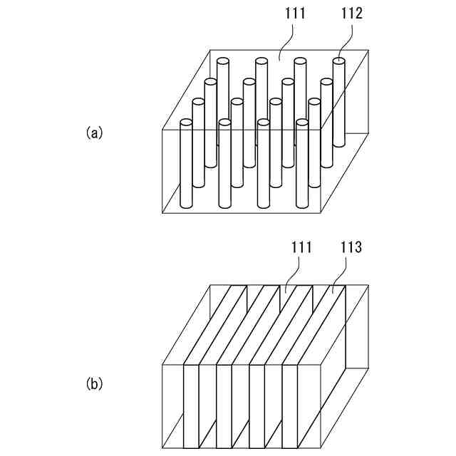
前記規則的内部構造は、前記屈折率が相対的に低い領域中に、前記屈折率が相対的に高い領域としての複数の板状領域を、前記光拡散制御層の片面に対して平行な任意の一方向に規則的に配列してなるルーバー構造であることを特徴とする請求項1に記載の表示体。
【請求項7】
前記規則的内部構造は、前記屈折率が相対的に低い領域中に、前記屈折率が相対的に高い領域としての柱状物を、前記光拡散制御層の厚さ方向に複数林立させてなるカラム構造であることを特徴とする請求項1に記載の表示体。
【請求項8】
前記表示装置は、液晶ディスプレイ、および前記光源としてのバックライトユニットを備えることを特徴とする請求項1に記載の表示体。
【請求項9】
前記光拡散制御層は、前記液晶ディスプレイを構成する偏光板のうちの前記表示面に対して近位な偏光板と、前記液晶ディスプレイを構成する液晶層との間に位置することを特徴とする請求項8に記載の表示体。
【請求項10】
前記光拡散制御層は、前記液晶ディスプレイと前記バックライトユニットとの間に位置することを特徴とする請求項8に記載の表示体。
(【請求項11】以降は省略されています)
発明の詳細な説明
【技術分野】
【0001】
本発明は、所定の入射角度範囲内の入射光を、強く、かつ、光損失が低い状態で透過拡散させることができる光拡散制御層を備える表示体に関するものである。
続きを表示(約 1,700 文字)
【背景技術】
【0002】
液晶ディスプレイを備える表示体は、光源としてバックライトを備えるものが存在する。当該液晶ディスプレイにおいては、バックライトから発せられた光を、液晶層によって部分的に遮ったり透過させたりすることにより、所望の表示を実現する。また、有機エレクトロルミネセンス(EL)ディスプレイを備える表示体では、当該ディスプレイ中に備わる有機EL素子を選択的に発光させることで、所望の表示を実現する。
【0003】
上述のような液晶ディスプレイや有機ELディスプレイを備える表示体においては、所定の入射角度範囲内の入射光を、強く、かつ、光損失が低い状態で透過拡散させることができる光拡散制御層を利用して、視認性を改良することも試みられている。
【0004】
例えば、特許文献1には、視野角の変化に伴う輝度と色変化とを改善することを目的として、所定の表示デバイスと所定の光学フィルムとを備える表示装置が開示されている。また、特許文献2には、有機ELによる発光ユニットの点灯時における輝度向上および色変化の抑制を目的として、それぞれ所定の微細形状が形成された第一光制御層および第二光制御層を備える光学シートが開示されている。
【先行技術文献】
【特許文献】
【0005】
特開2014-115421号公報
特開2015-176132号公報
【発明の概要】
【発明が解決しようとする課題】
【0006】
上述したような液晶ディスプレイや有機ELディスプレイを備える表示体では、その使用目的に応じた輝度分布を示すことが望まれている。上述した光拡散制御層を備えていない表示体では、通常、正面方向(表示面に対して垂直な方向)から観た場合に、最も明るく表示を視認し易いものとなっている。しかしながら、例えば、上記表示体をテレビとして使用する場合には、正面方向からだけでなく、斜め方向から観た場合においても、十分な明るさで視認できることが求められる。また、車のダッシュボード中央に設けられるモニターとして上記表示体を使用する場合には、正面方向よりも、むしろ運転席や助手席が位置する方向に向けて優先的に明るく表示させることが求められる。しかしながら、従来の表示体では、これらの要求に十分に応えられるものではなく、特に、使用目的に応じて輝度分布の制御を良好に行うことは困難であった。
【0007】
本発明は、このような実状に鑑みてなされたものであり、所望の輝度分布を実現可能な表示体を提供することを目的とする。
【課題を解決するための手段】
【0008】
上記目的を達成するために、第1に本発明は、光源を含む表示装置と、屈折率が相対的に低い領域中に屈折率が相対的に高い領域を複数備えた規則的内部構造を有する光拡散制御層とを備えた表示体であって、前記光拡散制御層が、前記表示体の表示面と前記光源との間における何れかの位置に存在し、前記表示装置単独について前記光源を点灯させた際の輝度(cd/m
2
)を基準とする、前記表示体について前記光源を点灯させた際の輝度(cd/m
2
)の割合が、前記表示面の法線との間でなす角度が0°の方向から測定した場合について、90%以上、100%未満であり、前記表示面の法線との間でなす角度が-75°、-65°、-55°、-45°、45°、55°、65°および75°の少なくとも1つの方向から測定した場合について、100%以上、180%以下であることを特徴とする表示体を提供する(発明1)。
【0009】
上記発明(発明1)に係る表示体は、輝度に関する上記条件を満たすことにより、所望の輝度分布を良好に実現することができる。
【0010】
上記発明(発明1)において、前記表示体が、前記光拡散制御層を少なくとも2層備え、前記光拡散制御層の各々が、前記表示体の表示面と前記光源との間における何れかの位置に存在することが好ましい(発明2)。
(【0011】以降は省略されています)
この特許をJ-PlatPat(特許庁公式サイト)で参照する
関連特許
リンテック株式会社
表示体
4日前
リンテック株式会社
塗工装置
4日前
リンテック株式会社
粘着ラベル
4日前
リンテック株式会社
熱電ウェハ
4日前
リンテック株式会社
耐水性基材
4日前
リンテック株式会社
配線シート
4日前
リンテック株式会社
配線シート
4日前
リンテック株式会社
熱電変換モジュール
4日前
リンテック株式会社
熱電変換モジュール
4日前
リンテック株式会社
ウィンドウフィルム
4日前
リンテック株式会社
ハードコートフィルム
4日前
リンテック株式会社
積層体及び配線シート
4日前
リンテック株式会社
粘着剤および粘着シート
4日前
リンテック株式会社
熱電変換モジュールの製造方法
4日前
リンテック株式会社
粘着シート、積層体およびデバイス
4日前
リンテック株式会社
ハードコートフィルム、光学ディスプレイ
4日前
リンテック株式会社
保護膜形成用複合シート及び半導体装置の製造方法
4日前
リンテック株式会社
保護膜形成用複合シート及び半導体装置の製造方法
4日前
リンテック株式会社
コーティング層の除去装置及びコーティング層の除去方法
4日前
リンテック株式会社
粘着シート、フレキシブル部材積層体およびフレキシブルデバイス
4日前
リンテック株式会社
光活性化粘着剤組成物、粘着シート、ロール体、及び粘着シートの使用方法
4日前
リンテック株式会社
保護膜形成用フィルム、保護膜形成用複合シート、及び半導体装置の製造方法
4日前
リンテック株式会社
熱硬化性組成物、半導体素子固定用組成物、並びに熱及び電気伝導性膜形成用組成物
4日前
リンテック株式会社
熱硬化性組成物、半導体素子固定用組成物、並びに熱及び電気伝導性膜形成用組成物
4日前
リンテック株式会社
フィルム状焼成材料、支持シート付フィルム状焼成材料、及び、半導体装置の製造方法
4日前
リンテック株式会社
フィルム状焼成材料、支持シート付フィルム状焼成材料、及び、半導体装置の製造方法
4日前
リンテック株式会社
保護膜形成用フィルム、保護膜形成用複合シート、半導体装置の製造方法、及び半導体装置
4日前
個人
回転式カード学習具
1か月前
個人
時刻表示機能つき手帳
2か月前
日本精機株式会社
表示装置
19日前
日本精機株式会社
表示装置
1か月前
日本精機株式会社
表示装置
3か月前
個人
計算用教具
15日前
中国電力株式会社
標示旗
25日前
日本精機株式会社
車両用表示装置
2か月前
日本精機株式会社
車両用表示装置
2か月前
続きを見る
他の特許を見る