TOP
|
特許
|
意匠
|
商標
特許ウォッチ
Twitter
他の特許を見る
10個以上の画像は省略されています。
公開番号
2025135321
公報種別
公開特許公報(A)
公開日
2025-09-18
出願番号
2024033104
出願日
2024-03-05
発明の名称
画像投射システム
出願人
株式会社リコー
代理人
個人
,
個人
主分類
G09G
5/00 20060101AFI20250910BHJP(教育;暗号方法;表示;広告;シール)
要約
【課題】投射画像を見やすくする。
【解決手段】本開示の一態様に係る画像投射システムは、光源装置と、入力画像に基づき、前記光源装置からの光を変調して画像を表示する画像表示素子と、前記画像表示素子により表示される前記画像を投射する投射光学系と、所定の条件が満たされることによって発生される指令情報に基づき、前記入力画像の少なくとも一部の領域の階調を反転させる制御部と、を有する。
【選択図】図1
特許請求の範囲
【請求項1】
光源装置と、
入力画像に基づき、前記光源装置からの光を変調して画像を表示する画像表示素子と、
前記画像表示素子により表示される前記画像を投射する投射光学系と、
所定の条件が満たされることによって発生される指令情報に基づき、前記入力画像の少なくとも一部の領域の階調を反転させる制御部と、を有する、画像投射システム。
続きを表示(約 860 文字)
【請求項2】
前記制御部は、操作者による操作入力に応じて、前記入力画像の少なくとも一部の領域の階調を反転させる処理を開始するか否かを決定し、決定結果に応じて、前記入力画像の少なくとも一部の領域の階調を反転させる、請求項1に記載の画像投射システム。
【請求項3】
前記制御部は、操作者による操作入力に応じて画像平均輝度閾値を変更可能である、請求項1に記載の画像投射システム。
【請求項4】
前記入力画像はカラー画像であり、
前記制御部は、前記入力画像をモノクローム処理する、請求項1に記載の画像投射システム。
【請求項5】
前記制御部は、前記入力画像において、第1の閾値よりも階調が高い画素の階調を第1の階調に変換する、請求項1に記載の画像投射システム。
【請求項6】
前記制御部は、操作者による操作入力に応じて前記第1の閾値を変更可能である、請求項5に記載の画像投射システム。
【請求項7】
前記制御部は、前記入力画像において、第2の閾値よりも階調が低い画素の階調を、前記第1の階調よりも低い第2の階調に変換する、請求項5に記載の画像投射システム。
【請求項8】
前記制御部は、操作者による操作入力に応じて前記第2の閾値を変更可能である、請求項7に記載の画像投射システム。
【請求項9】
前記光源装置から出射される光は、波長が510nm以上610nm以下の光の放射エネルギーをAとし、波長が510nm未満の光の放射エネルギーをBとし、波長が610nmよりも大きい光の放射エネルギーをCとしたときに、A>B及びA>Cを満足する光を出射し、
前記投射光学系により投射される前記画像も、A>B及びA>Cを満足する、請求項1に記載の画像投射システム。
【請求項10】
前記光源装置から出射される光は、A>B+Cを満足する光を出射する、請求項9に記載の画像投射システム。
発明の詳細な説明
【技術分野】
【0001】
本開示は、画像投射システムに関する。
続きを表示(約 2,200 文字)
【背景技術】
【0002】
単色の画像を投射するプロジェクタ等の画像投射システムが知られている。
【0003】
また、画像投射システムの操作者が手元で画像を確認する補助画像が、主たる投射像に対して階調が反転してしまうことを防ぐため、補助画像を投影する際に反転画像に対応する画像信号に基づいて、光変調装置を動作させる構成が開示されている(例えば、特許文献1参照)。
【発明の概要】
【発明が解決しようとする課題】
【0004】
本開示は、投射画像を見やすくすることを目的とする。
【課題を解決するための手段】
【0005】
本開示の一態様に係る画像投射システムは、光源装置と、入力画像に基づき、前記光源装置からの光を変調して画像を表示する画像表示素子と、前記画像表示素子により表示される前記画像を投射する投射光学系と、所定の条件が満たされることによって発生される指令情報に基づき、前記入力画像の少なくとも一部の領域の階調を反転させる制御部と、を有する。
【発明の効果】
【0006】
本開示によれば、投射画像を見やすくすることができる。
【図面の簡単な説明】
【0007】
本開示の第1実施形態に係る画像投射システムとその周辺システムを示す模式図である。
本開示の第1実施形態に係る画像投射システムが備える光源装置の構成を示す模式図である。
図2の光源装置が備える蛍光体ホイールの構成を示す模式図であり、蛍光体ホイールの回転軸に沿う方向から視た蛍光体ホイールの平面図である。
図2の光源装置が備える蛍光体ホイールの構成を示す模式図であり、蛍光体ホイールの回転軸に交差する方向から視た蛍光体ホイールの断面図である。
図2の光源装置が備える蛍光体ホイールから出射される光の分光分布を示す図である。
本開示の第1実施形態に係る画像投射システムから投射される光の各波長域における黄色蛍光光の放射強度の割合を示す図であって、510nm以上610nm以下の放射強度を示す図である。
本開示の第1実施形態に係る画像投射システムから投射される光の各波長域における黄色蛍光光の放射強度の割合を示す図であって、428nm以上688nm以下の放射強度を示す図である。
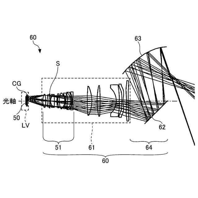
本開示の第1実施形態に係る画像投射システムが備える投射光学系の構成を示す模式図である。
一般的なカラーの画像投射システムにおける階調の生成方法を示す図である。
本発明の第1実施形態に係る画像投射システムにおける階調の生成方法を示す図である。
本開示の第1実施形態に係る画像投射システムにおける階調反転処理を示すフローチャートである。
本開示の第1実施形態に係る画像投射システムにおける画像処理結果と投射画像を示す図である。
本開示の第2実施形態に係る画像投射システムの全体構成を示す図である。
本開示の第3実施形態に係る画像投射システムの全体構成を示す図である。
本開示の第4実施形態に係る画像投射システムにおける階調反転処理を示すフローチャートである。
転用例に係る投影装置の一例であるウェアラブルディスプレイ装置の構成例を示す概略斜視図である。
転用例に係るウェアラブルディスプレイ装置の構成を部分的に例示する図である。
転用例に係るウェアラブルディスプレイ装置の別の構成例を示す概略図である。
転用例に係るウェアラブルディスプレイ装置において導光板を含むバイザーを備えたヘルメットの形態を説明する図である。
転用例に係るウェアラブルディスプレイ装置のさらに別の構成例を示す概略図である。
転用例に係る投影装置の一例であるヘッドアップディスプレイ装置を搭載した自動車の一例を示す概略図である。
転用例に係るヘッドアップディスプレイ装置の一例を示す概略図である。
転用例に係るヘッドアップディスプレイ装置のさらに別の構成例を示す概略図である。
【発明を実施するための形態】
【0008】
本開示の実施形態に係る画像投射システムについて図面を参照しながら詳細に説明する。但し、以下に示す形態は、本実施形態の技術思想を具現化するための画像投射システムを例示するものであって、以下に限定するものではない。
【0009】
また、本開示の実施形態に記載されている構成部の寸法、材質、形状、その相対的配置等は、特定的な記載がない限り、本開示の範囲をそれのみに限定する趣旨ではなく、単なる説明例にすぎない。なお、各図面が示す部材の大きさ、位置関係等は、説明を明確にするため誇張していることがある。また、以下の説明において、同一の名称、符号については同一もしくは同質の部材を示しており詳細説明を適宜省略する。
【0010】
[第1実施形態]
<本開示の第1実施形態に係る画像投射システムの構成>
(全体構成)
図1は、本開示の第1実施形態に係る画像投射システム1とその周辺システムを示す模式図である。なお、図1における画像投射システム1は、画像投射システム1の内部を透視して示している。
(【0011】以降は省略されています)
この特許をJ-PlatPat(特許庁公式サイト)で参照する
関連特許
株式会社リコー
移動体
26日前
株式会社リコー
画像形成装置
7日前
株式会社リコー
画像形成装置
4日前
株式会社リコー
画像形成装置
4日前
株式会社リコー
画像形成装置
12日前
株式会社リコー
機器及び異常判定方法
12日前
株式会社リコー
画像形成装置及びシステム
10日前
株式会社リコー
延長トレイ及び画像形成装置
7日前
株式会社リコー
定着装置、及び画像形成装置
12日前
株式会社リコー
画像読取装置及び画像読取方法
6日前
株式会社リコー
表示装置、切替方法、プログラム
17日前
株式会社リコー
媒体処理装置及び画像形成システム
7日前
株式会社リコー
樹脂粒子、及び樹脂粒子の製造方法
4日前
株式会社リコー
読取装置、読取方法およびプログラム
7日前
株式会社リコー
通信端末、通信方法、及びプログラム
10日前
株式会社リコー
シート給送装置及び画像形成システム
13日前
株式会社リコー
加熱装置、定着装置及び画像形成装置
11日前
株式会社リコー
通信装置、通信方法、及びプログラム
10日前
株式会社リコー
光源装置、画像投影装置および調整方法
17日前
株式会社リコー
ノード、データ共有方法、及びプログラム
24日前
株式会社リコー
通信装置、状態制御方法、及びプログラム
13日前
株式会社リコー
画像形成装置、情報処理方法及びプログラム
10日前
株式会社リコー
画像形成装置、及び、プロセスカートリッジ
17日前
株式会社リコー
画像形成装置、画像処理方法およびプログラム
5日前
株式会社リコー
画像読取装置、画像判定方法およびプログラム
10日前
株式会社リコー
画像形成装置、情報処理方法およびプログラム
11日前
株式会社リコー
モノクロ用光走査装置及びモノクロ画像形成装置
10日前
株式会社リコー
表示装置、表示方法、プログラム、表示システム
25日前
株式会社リコー
画像読取装置、用紙斜行防止装置及び画像形成装置
5日前
株式会社リコー
対話装置、対話システム、対話方法及びプログラム
24日前
株式会社リコー
情報処理装置、情報処理システムおよび情報処理方法
24日前
株式会社リコー
情報処理システム、情報処理装置および情報処理方法
24日前
株式会社リコー
電気機器、画像形成装置、制御方法、及びプログラム
20日前
株式会社リコー
情報処理装置、設定システム、プログラム、情報処理方法
4日前
株式会社リコー
情報処理装置、画像形成装置、情報処理方法及びプログラム
4日前
株式会社リコー
障害物検出システム、移動体、プログラムおよび障害物検出方法
1か月前
続きを見る
他の特許を見る