TOP
|
特許
|
意匠
|
商標
特許ウォッチ
Twitter
他の特許を見る
公開番号
2025167576
公報種別
公開特許公報(A)
公開日
2025-11-07
出願番号
2024072339
出願日
2024-04-26
発明の名称
対象物質感知シート
出願人
日榮新化株式会社
代理人
主分類
G09F
3/02 20060101AFI20251030BHJP(教育;暗号方法;表示;広告;シール)
要約
【課題】安全性が高められた対象物質感知シートを提供する。
【解決手段】対象物質感知シート20は、検知対象物質の存在によって色が変化する指示薬を含む第1の粘着剤層5aを備えている。指示薬は、日本国において食品添加物として認可された物質及び食品添加物として未認可の、食品から抽出された物質から選ばれた少なくとも一つである。使用される指示薬は、ポリフェノール化合物の少なくとも一種及びキノン系色素の少なくとも一種を含む群から選ばれた少なくとも一つであってもよい。
【選択図】図1
特許請求の範囲
【請求項1】
検知対象物質の存在によって色が変化する指示薬を含む第1の粘着剤層を備え、
前記指示薬は、日本国において食品添加物として認可された物質及び食品添加物として未認可の、食品から抽出された物質から選ばれた少なくとも一つである対象物質感知シート。
続きを表示(約 1,100 文字)
【請求項2】
請求項1に記載の対象物質感知シートにおいて、
前記指示薬は、ポリフェノール化合物の少なくとも一種及びキノン系色素の少なくとも一種を含む群から選ばれた少なくとも一つである対象物質感知シート。
【請求項3】
請求項2に記載の対象物質感知シートにおいて、
前記ポリフェノール化合物は、アントシアニン系色素であり、
前記第1の粘着剤層は、溶剤系粘着剤又はエマルション粘着剤の硬化物により形成されている対象物質感知シート。
【請求項4】
請求項1に記載の対象物質感知シートにおいて、
前記指示薬は、酢酸エチル、アセトン、トルエン又はメチルエチルケトンに溶解するポリフェノール化合物の少なくとも一種であり、
前記第1の粘着剤層は、溶剤系粘着剤の硬化物により形成されている対象物質感知シート。
【請求項5】
請求項1に記載の対象物質感知シートにおいて、
前記検知対象物質はガス状物質であり、
前記第1の粘着剤層の一方の面に設けられ、前記検知対象物質を透過する第1の基材をさらに備えている対象物質感知シート。
【請求項6】
請求項5に記載の対象物質感知シートにおいて、
前記第1の粘着剤層は、前記検知対象物質による色の変化を通して食品の鮮度変化を感知させるものであり、
前記指示薬は、pH3以上10以下の範囲内で色が変化し、
前記第1の基材は、食品衛生法のポジティブリスト制度に適合した材料又は食用インクにより構成されている対象物質感知シート。
【請求項7】
請求項6に記載の対象物質感知シートにおいて、
前記第1の粘着剤層の前記第1の基材が設けられた面とは反対側の面に設けられたシート状の第2の基材と、
前記第2の基材の前記第1の粘着剤層とは反対側の面に設けられた第2の粘着剤層と
をさらに備えている対象物質感知シート。
【請求項8】
請求項7に記載の対象物質感知シートにおいて、
前記第2の基材又は前記第1の基材の少なくとも一方の面には、窓領域が形成され、色見本を含む印刷層がさらに設けられている対象物質感知シート。
【請求項9】
請求項8に記載の対象物質感知シートにおいて、
前記印刷層は、可食インクにより構成された印刷部を有している対象物質感知シート。
【請求項10】
請求項1~9のうちいずれか1項に記載の対象物質感知シートにおいて、
検知対象物質の存在によって前記指示薬の色は可逆的に変化する対象物質感知シート。
(【請求項11】以降は省略されています)
発明の詳細な説明
【技術分野】
【0001】
本明細書に開示された技術は、安全性を向上させた検知対象物質感知シートに関する。
続きを表示(約 1,400 文字)
【背景技術】
【0002】
肉や魚等の窒素を含む食品は、比較的腐敗しやすく、しばしば深刻な食中毒を引き起こす。しかし、これらの食品を購入した消費者は、すぐに調理せずに冷蔵庫等に貯蔵してから調理することが多い。このため、食品の鮮度を、その包装を開封することなく知りたいというニーズは多い。
【0003】
特開2021-43067号公報(特許文献1)には、検知対象物質の存在により色が変化する指示薬を含む粘着剤層と、粘着剤層の一方の面に設けられた第1の基材とを備えたガス感知体(対象物質感知シート)が開示されている。この対象物質感知シートによれば、アンモニア等のガスを検知して色が変わることにより、包装を開封することなく食品の鮮度を視覚的に確認することができる。
【先行技術文献】
【特許文献】
【0004】
特開2021-43067号公報
【発明の概要】
【発明が解決しようとする課題】
【0005】
特許文献1に記載のガス感知体では、使用できる指示薬が挙げられているが、その中にはブロモクレゾールパープル(BCP)のように、皮膚刺激性を有するものもある。この対象物質感知シートにおいて、指示薬を含む粘着剤層は第1の基材に覆われているため、食品に直接触れる可能性は低いが、食品に触れない部分であっても安全性の高い材料で構成されていることが望ましい。
【0006】
ところで、上述の対象物質感知シートを使用する際に、指示薬を含む粘着剤層が手指に触れる可能性がある。対象物質感知シートは、食品の鮮度を感知する以外の用途に使用することもできるが、使用時に皮膚に触れる可能性があることは共通するので、構成材料の安全性を高めることは用途によらず求められている。
【0007】
本発明の目的は、安全性が高められた対象物質感知シートを提供することにある。
【課題を解決するための手段】
【0008】
本明細書に開示された対象物質感知シートの一例は、検知対象物質の存在によって色が変化する指示薬を含む粘着剤層を備えている。前記指示薬は、日本国において食品添加物として認可された物質及び食品添加物として未認可の、食品から抽出された物質から選ばれた少なくとも一つである。
【発明の効果】
【0009】
本明細書に開示された対象物質感知シートによれば、国内で食品添加物として認可された物質等から選ばれた少なくとも一つを指示薬として含む粘着剤層を備えているので、従来の対象物質感知シートに比べて安全性がより高くなっている。
【図面の簡単な説明】
【0010】
図1は、本明細書に開示された、第1の実施形態に係る対象物質感知シートを示す断面図である。
図2は、第1の実施形態に係る対象物質感知シートのうち、印刷層15aのみを包装材10の外側から見た場合の平面図である。
図3は、第2の実施形態に係る対象物質感知シートを示す断面図である。
図4は、第3の実施形態に係る対象物質感知シートを示す断面図である。
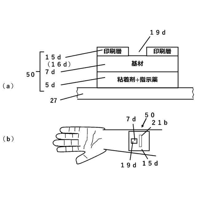
図5(a)は、第4の実施形態に係る対象物質感知シートを示す断面図であり、図5(b)は、(a)に示す対象物質感知シートの使用方法の一例を示す図である。
【発明を実施するための形態】
(【0011】以降は省略されています)
この特許をJ-PlatPat(特許庁公式サイト)で参照する
関連特許
日榮新化株式会社
対象物質感知シート
1か月前
日榮新化株式会社
剥離シートのリサイクル方法
3か月前
個人
教育のAI化
1か月前
個人
英語教材
1か月前
個人
回転式カード学習具
3か月前
日本精機株式会社
表示装置
1か月前
日本精機株式会社
表示装置
2か月前
個人
計算用教具
2か月前
中国電力株式会社
標示旗
2か月前
個人
インフィニティミラー
1か月前
日本精機株式会社
車両用表示装置
1か月前
日本精機株式会社
車両用センサ装置
2か月前
個人
モデルで薔薇の花嫁様を描く為
3か月前
個人
微細構造を模した理科学習教材
1か月前
日榮新化株式会社
対象物質感知シート
1か月前
ニチレイマグネット株式会社
サイン器具
1か月前
株式会社一弘社
情報表示板
3か月前
シャープ株式会社
表示装置
2か月前
株式会社ウメラボ
学習支援システム
2か月前
株式会社ウメラボ
学習支援システム
2か月前
朝日インテック株式会社
ラベルシート
1か月前
ニチレイマグネット株式会社
磁着式電飾装置
2か月前
日本精機株式会社
表示装置及びその製造方法
1か月前
シャープ株式会社
表示装置
1か月前
株式会社リコー
画像投射システム
2か月前
朝日インテック株式会社
生体モデル装置
1か月前
リンテック株式会社
表示体
2か月前
株式会社イリオスNOTO
シート保管具
1か月前
BEST株式会社
吊り下げ表示部材
3か月前
学校法人関西医科大学
腹腔鏡手術訓練装置
2か月前
シチズンファインデバイス株式会社
液晶表示装置
3か月前
国立大学法人秋田大学
運転シミュレータ
1か月前
セイコーエプソン株式会社
表示方法
3か月前
セイコーエプソン株式会社
表示方法
3か月前
ローム株式会社
半導体装置およびシステム
19日前
リンテック株式会社
粘着ラベル
2か月前
続きを見る
他の特許を見る