TOP
|
特許
|
意匠
|
商標
特許ウォッチ
Twitter
他の特許を見る
公開番号
2025165129
公報種別
公開特許公報(A)
公開日
2025-11-04
出願番号
2024069032
出願日
2024-04-22
発明の名称
表示装置
出願人
日本精機株式会社
代理人
主分類
G09F
9/00 20060101AFI20251027BHJP(教育;暗号方法;表示;広告;シール)
要約
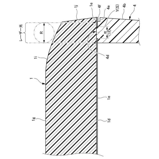
【課題】 溶着部を視認し難くしつつ、溶着部の結合強度を高めることができる表示装置を提供する。
【解決手段】 透光領域1b及び遮光領域1cを有する表示パネル1と、表示パネル1の背面側に配置される表示器2と、表示パネル1の外周側の背面部1dを支持するケース部材4とを備え、表示パネル1とケース部材4をレーザー溶着によって接合させる表示装置100であって、遮光領域1cは、表示パネル1の外周側の背面部1dに施される遮光性の印刷層1eにより形成され、印刷層1eの色は、ケース部材4の色と同色又は類似色であり、表示パネル1の外周側の背面部1dは、レーザー溶着による接合領域Sと対応する位置に、印刷層1eが形成されない印刷無し範囲1fを有し、印刷無し範囲1fは、印刷層1eに挟まれた所定幅Wの帯形状を有し、所定幅Wがレーザー溶着のレーザー照射径Rよりも狭く設定される。
【選択図】 図3
特許請求の範囲
【請求項1】
透光性の板部材からなり、透光領域及び遮光領域を有する保護パネル部材と、
前記保護パネル部材の背面側に配置され、前記透光領域を介して情報を表示する表示器と、
前記保護パネル部材の背面側に、前記表示器を取り囲むように配置され、前記保護パネル部材の外周側の背面部を支持するケース部材と、を備え、
前記保護パネル部材の外周側の背面部と前記ケース部材をレーザー溶着によって接合させる表示装置であって、
前記遮光領域は、前記保護パネル部材の外周側の背面部に施される遮光性の印刷層により形成され、
前記印刷層の色は、前記ケース部材の色と同色又は類似色であり、
前記保護パネル部材の外周側の背面部は、前記レーザー溶着による接合領域と対応する位置に、前記印刷層が形成されない印刷無し範囲を有し、
前記印刷無し範囲は、前記印刷層に挟まれた所定幅の帯形状を有し、前記所定幅が前記レーザー溶着のレーザー照射径よりも狭く設定される、表示装置。
続きを表示(約 320 文字)
【請求項2】
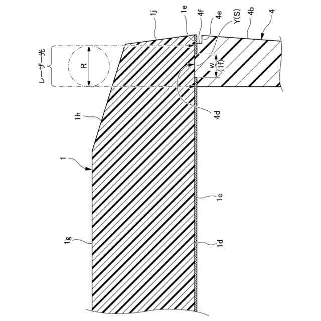
前記保護パネル部材の外周側の表面部は、前記レーザー溶着による溶着部と対向する領域にテーパー面又は曲面を有する、請求項1に記載の表示装置。
【請求項3】
前記保護パネル部材の外周側の表面部は、前記レーザー溶着による溶着部と対向する領域に凹凸模様を有する、請求項1又は2に記載の表示装置。
【請求項4】
前記保護パネル部材の外周側の側面部は、凹凸模様を有する、請求項1又は2に記載の表示装置。
【請求項5】
前記ケース部材には、前記レーザー溶着によって前記保護パネル部材と接合される面が、その隣接面よりも一段高くなるように段差部が形成される、請求項1に記載の表示装置。
発明の詳細な説明
【技術分野】
【0001】
本開示は、表示装置に関する。
続きを表示(約 1,300 文字)
【背景技術】
【0002】
透光性の表示パネルとケース部材をレーザー溶着によって接合させる表示装置が知られている。例えば、特許文献1の表示装置は、表示パネルの背面部に遮光層及び半透過層を印刷し、半透過層を透過したレーザー光で表示パネルとケース部材を溶着させることで、溶着部を視認し難くしている。
【先行技術文献】
【特許文献】
【0003】
特開2022-67696号公報
【発明の概要】
【発明が解決しようとする課題】
【0004】
しかしながら、特許文献1の表示装置では、レーザー溶着時に半透過層が表示パネルとケース部材の溶融結合を阻害する可能性があり、改善の余地がある。
【0005】
そこで、本開示は、溶着部を視認し難くしつつ、溶着部の結合強度を高めることができる表示装置の提供を目的とする。
【課題を解決するための手段】
【0006】
1つの側面では、以下のような解決手段を提供する。
透光性の板部材からなり、透光領域及び遮光領域を有する保護パネル部材と、
前記保護パネル部材の背面側に配置され、前記透光領域を介して情報を表示する表示器と、
前記保護パネル部材の背面側に、前記表示器を取り囲むように配置され、前記保護パネル部材の外周側の背面部を支持するケース部材と、を備え、
前記保護パネル部材の外周側の背面部と前記ケース部材をレーザー溶着によって接合させる表示装置であって、
前記遮光領域は、前記保護パネル部材の外周側の背面部に施される遮光性の印刷層により形成され、
前記印刷層の色は、前記ケース部材の色と同色又は類似色であり、
前記保護パネル部材の外周側の背面部は、前記レーザー溶着による接合領域と対応する位置に、前記印刷層が形成されない印刷無し範囲を有し、
前記印刷無し範囲は、前記印刷層に挟まれた所定幅の帯形状を有し、前記所定幅が前記レーザー溶着のレーザー照射径よりも狭く設定される。
【発明の効果】
【0007】
本開示によれば、溶着部を視認し難くしつつ、溶着部の結合強度を高めることができる。
【図面の簡単な説明】
【0008】
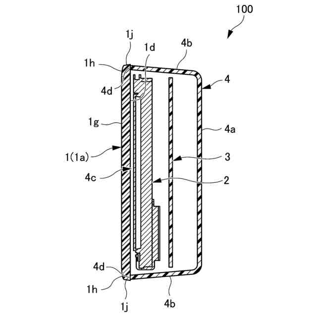
本開示の実施例に係る表示装置の概略正面図である。
図1のA-A概略断面図である。
図1のB-B要部拡大断面図である。
本開示の第1変形例に係る表示装置の要部拡大断面図である。
本開示の第2変形例に係る表示装置の要部拡大断面図である。
本開示の第3変形例に係る表示装置の概略正面図である。
図6のC-C概略断面図である。
【発明を実施するための形態】
【0009】
以下、添付図面を参照しながら実施例について詳細に説明する。
【0010】
(表示装置の構成)
本開示の第1実施例に係る表示装置100について、図1~図3を参照して説明する。表示装置100は、車両(自動車、オートバイ、農業機械、建設機械等)に搭載され、車速等の情報を表示する計器装置として構成される。
(【0011】以降は省略されています)
この特許をJ-PlatPat(特許庁公式サイト)で参照する
関連特許
日本精機株式会社
表示装置
25日前
日本精機株式会社
表示装置
2か月前
日本精機株式会社
検出装置
24日前
日本精機株式会社
照明装置
25日前
日本精機株式会社
車載表示装置
1か月前
日本精機株式会社
発光表示装置
2日前
日本精機株式会社
位置検出装置
1か月前
日本精機株式会社
位置検出装置
1か月前
日本精機株式会社
位置検出装置
1か月前
日本精機株式会社
運転支援装置
23日前
日本精機株式会社
車載表示装置
1か月前
日本精機株式会社
画像投映装置
1か月前
日本精機株式会社
車載表示装置
1か月前
日本精機株式会社
車両用表示装置
1か月前
日本精機株式会社
ミラーユニット
1か月前
日本精機株式会社
車両用投射装置
1か月前
日本精機株式会社
車両用表示装置
1か月前
日本精機株式会社
サージ保護回路
1か月前
日本精機株式会社
車両用投射装置
1か月前
日本精機株式会社
車両用投影装置
2か月前
日本精機株式会社
車両用報知装置
1か月前
日本精機株式会社
車両用センサ装置
2か月前
日本精機株式会社
スペックル低減装置
1か月前
日本精機株式会社
車両用投射型表示装置
1か月前
日本精機株式会社
照明装置及び表示装置
1日前
日本精機株式会社
鞍乗型車両用表示装置
22日前
日本精機株式会社
報知装置及び報知システム
2か月前
日本精機株式会社
ヘッドアップディスプレイ
25日前
日本精機株式会社
表示装置及びその製造方法
25日前
日本精機株式会社
スクリーン反射型表示装置
23日前
日本精機株式会社
ヘッドアップディスプレイ
22日前
日本精機株式会社
ヘッドアップディスプレイ装置
1か月前
日本精機株式会社
ヘッドアップディスプレイ装置
23日前
日本精機株式会社
ヘッドアップディスプレイ装置
22日前
日本精機株式会社
表示制御装置、表示装置、及び表示制御方法
22日前
日本精機株式会社
ヘッドアップディスプレイ装置及び表示制御装置
22日前
続きを見る
他の特許を見る