TOP
|
特許
|
意匠
|
商標
特許ウォッチ
Twitter
他の特許を見る
10個以上の画像は省略されています。
公開番号
2025139257
公報種別
公開特許公報(A)
公開日
2025-09-26
出願番号
2024038092
出願日
2024-03-12
発明の名称
発光装置
出願人
キヤノン株式会社
代理人
個人
,
個人
,
個人
,
個人
,
個人
主分類
G09F
9/30 20060101AFI20250918BHJP(教育;暗号方法;表示;広告;シール)
要約
【課題】画素駆動回路を構成するトランジスタが、より小さい領域に配置された発光装置を提供する。
【解決手段】 一様態は、隣り合う副画素の駆動トランジスタのゲートが、第1方向において重ならないように配され、該副画素と第2方向で隣り合う副画素においても、駆動トランジスタのゲートが、第1方向において重ならないように配されている発光装置。
【選択図】 図4
特許請求の範囲
【請求項1】
それぞれ複数の副画素を有する、複数の画素を有し、
前記複数の画素は、第1方向において互いに隣接する第1画素及び第2画素と、前記第1方向において互いに隣接する第3画素及び第4画素と、を含み、
前記第1画素及び前記第2画素は、前記第1方向と交差する第2方向において、前記第3画素及び前記第4画素と隣接し、
前記複数の副画素はそれぞれ、基板の主面の上に配された発光素子と、前記発光素子に接続された駆動トランジスタと、前記駆動トランジスタに接続された書き込みトランジスタと、前記駆動トランジスタのソースまたはドレインの一方とゲートとの間に配される第1容量素子と、を有し、
前記複数の副画素は、第1副画素及び第2副画素を含み、
前記第1副画素及び前記第2副画素それぞれにおいて、前記主面に対する平面視における前記駆動トランジスタの前記ゲートは、前記平面視における前記書き込みトランジスタのゲートより大きく、
前記第1画素の前記第1副画素と前記第2画素の前記第2副画素は、前記第1方向において隣接し、
前記第3画素の前記第1副画素と前記第4画素の前記第2副画素は、前記第1方向において隣接し、
前記第1方向において、前記第1画素の前記第1副画素の前記駆動トランジスタのゲートと前記第2画素の前記第2副画素の前記駆動トランジスタのゲートは、互いに重ならず、
前記第1方向において、前記第3画素の前記第1副画素の前記駆動トランジスタのゲートと前記第4画素の前記第2副画素の前記駆動トランジスタのゲートは、互いに重ならない発光装置。
続きを表示(約 1,400 文字)
【請求項2】
前記複数の画素は、前記第1副画素と前記第2副画素の間に配される第3副画素を有し、
前記第1画素において、前記第1副画素の前記駆動トランジスタの前記ゲートと、前記第3副画素の前記駆動トランジスタの前記ゲートは、前記第1方向において重ならず、
前記第1画素において、前記第3副画素の前記駆動トランジスタの前記ゲートと、前記第2副画素の前記駆動トランジスタの前記ゲートは、前記第1方向において重ならない請求項1に記載の発光装置。
【請求項3】
前記第1画素及び前記第2画素において、前記駆動トランジスタのソースからドレインに向かう方向は、同じ方向である請求項1に記載の発光装置。
【請求項4】
前記複数の副画素は、それぞれ、第1電源配線と前記駆動トランジスタの間に配された発光制御トランジスタと、前記発光制御トランジスタのソースとドレインの間に配された第2容量素子と、を有し、
前記第1画素及び前記第2画素において、前記平面視における前記駆動トランジスタの前記ゲートは、前記平面視における前記発光制御トランジスタのゲートより大きい請求項1に記載の発光装置。
【請求項5】
前記第1画素及び前記第2画素に含まれる書き込みトランジスタのゲートは、前記第1方向において、少なくとも一部重なっている請求項1に記載の発光装置。
【請求項6】
前記複数の画素は、前記第1副画素と前記第2副画素の間に配される第3副画素を有し、
前記第1画素の前記第1副画素の前記発光制御トランジスタのゲートは、前記第1方向において、前記第2画素の前記第3副画素の前記発光制御トランジスタのゲートと、少なくとも一部重なっている請求項4に記載の発光装置。
【請求項7】
前記複数の副画素は、それぞれ、ソース及びドレインの一方が、前記発光素子及び前記発光制御トランジスタに接続され、前記ソース及び前記ドレインの他方が第2電源配線に接続された、リセットトランジスタを有する請求項4に記載の発光装置。
【請求項8】
前記第1画素及び前記第2画素において、前記平面視における前記駆動トランジスタの前記ゲートは、前記平面視における前記リセットトランジスタのゲートより大きい請求項7に記載の発光装置。
【請求項9】
前記複数の画素は、前記第1副画素と前記第2副画素の間に配される第3副画素を有し、
前記第1画素の前記第1副画素の前記駆動トランジスタの前記ゲートは、前記第1方向において、前記第1画素の前記第3副画素の発光制御トランジスタのゲートと、前記第2画素の前記第2副画素の前記発光制御トランジスタのゲートの間に配されている請求項7に記載の発光装置。
【請求項10】
前記複数の画素は、前記第1副画素と前記第2副画素の間に配される第3副画素を有し、
前記第1画素の前記第1副画素の前記発光制御トランジスタのゲートは、前記第1方向において、前記第1画素の前記第3副画素の書き込みトランジスタのゲートと、前記第1画素の前記第1副画素の前記書き込みトランジスタのゲートの間に配されている請求項7に記載の発光装置。
(【請求項11】以降は省略されています)
発明の詳細な説明
【技術分野】
【0001】
本開示は、発光装置に関するものであり、例えば、有機EL素子を有する発光装置に関する。
続きを表示(約 2,400 文字)
【背景技術】
【0002】
特許文献1には、半導体基板にアレイ状に配置されている駆動回路を含む駆動回路アレイ基板と、駆動回路上部にアレイ状に配置され当該駆動回路によって駆動される発光素子とを有する表示装置が開示されている。特許文献1では、基板のウェルタップを複数の駆動回路の一部に設けることにより、駆動回路アレイを高精細化することが開示されている。
【先行技術文献】
【特許文献】
【0003】
特開2022-16421号公報
【発明の概要】
【発明が解決しようとする課題】
【0004】
発光装置における画素の微細化に伴い、画素駆動回路を構成するトランジスタをより小さい領域に配置することが求められる。特許文献1では、トラジスタの配置については、何ら検討されていない。
【課題を解決するための手段】
【0005】
本実施形態の一様態は、それぞれ複数の副画素を有する、複数の画素を有し、前記複数の画素は、第1方向において互いに隣接する第1画素及び第2画素と、前記第1方向において互いに隣接する第3画素及び第4画素と、を含み、前記第1画素及び前記第2画素は、前記第1方向と交差する第2方向において、前記第3画素及び前記第4画素と隣接し、前記複数の副画素はそれぞれ、基板の主面の上に配された発光素子と、前記発光素子に接続された駆動トランジスタと、前記駆動トランジスタに接続された書き込みトランジスタと、前記駆動トランジスタのソースまたはドレインの一方とゲートとの間に配される第1容量素子と、を有し、前記複数の副画素は、第1副画素及び第2副画素を含み、前記第1副画素及び前記第2副画素それぞれにおいて、前記主面に対する平面視における前記駆動トランジスタの前記ゲートは、前記平面視における前記書き込みトランジスタのゲートより大きく、前記第1画素の前記第1副画素と前記第2画素の前記第2副画素は、前記第1方向において隣接し、前記第3画素の前記第1副画素と前記第4画素の前記第2副画素は、前記第1方向において隣接し、前記第1方向において、前記第1画素の前記第1副画素の前記駆動トランジスタのゲートと前記第2画素の前記第2副画素の前記駆動トランジスタのゲートは、互いに重ならず、前記第1方向において、前記第3画素の前記第1副画素の前記駆動トランジスタのゲートと前記第4画素の前記第2副画素の前記駆動トランジスタのゲートは、互いに重ならない発光装置に関する。
【発明の効果】
【0006】
発光装置の画素駆動回路を微細化し、発光装置の高精細化や小型化を実現できる。
【図面の簡単な説明】
【0007】
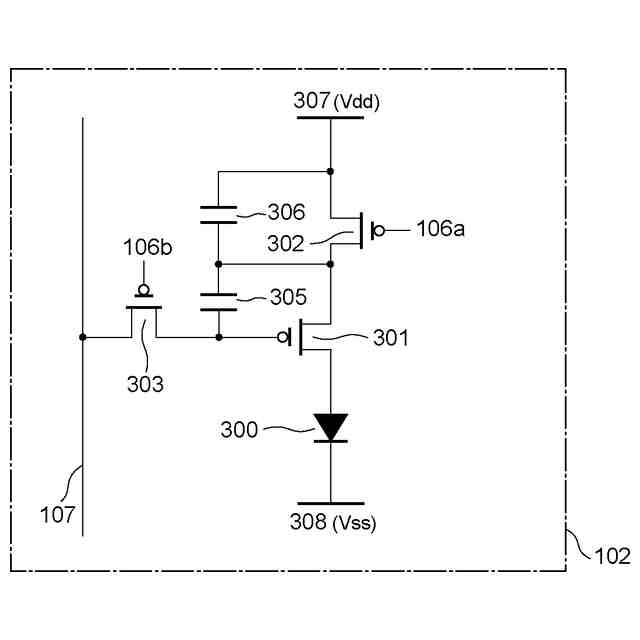
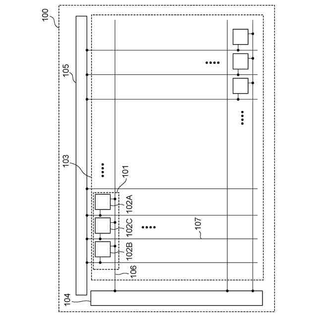
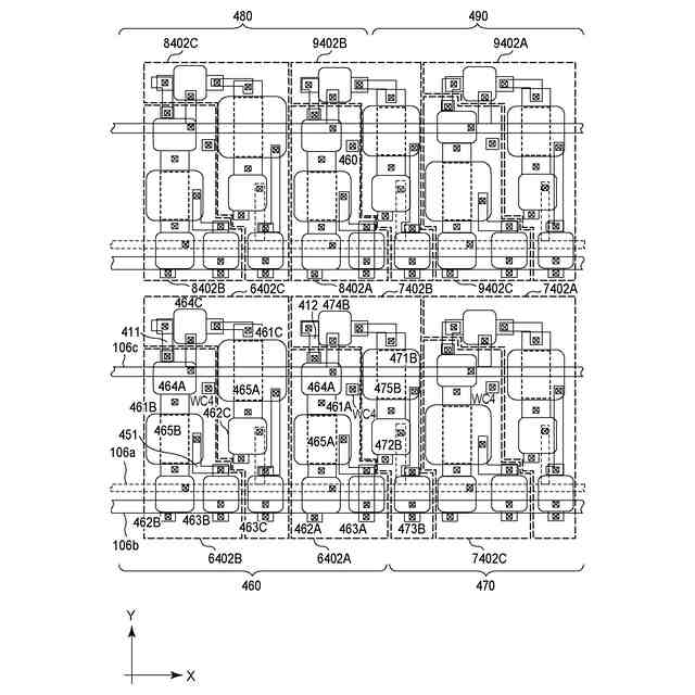
実施の形態に係る発光装置の一部の一例のシステム図
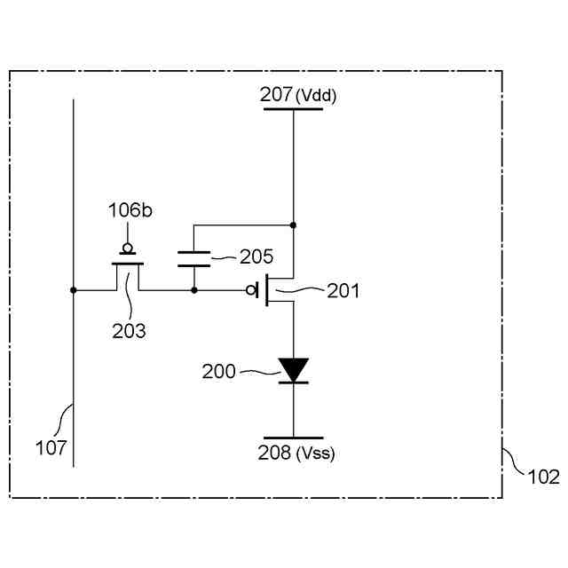
実施の形態に係る発光装置の副画素の一例の回路図
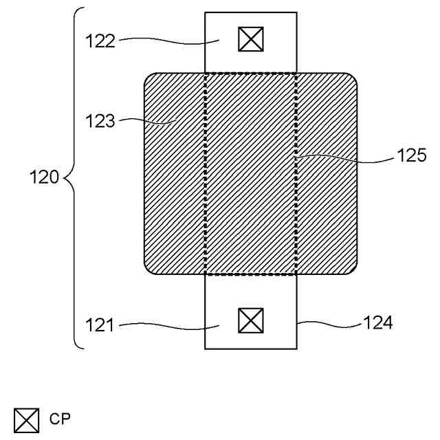
本発明の実施の形態に係るトランジスタの一例の平面図
実施の形態1に係る発光装置の一部の一例の平面図
実施の形態2に係る発光装置の一部の一例の平面図
実施の形態3に係る発光装置の副画素の一例の回路図
実施の形態3に係る発光装置の一部の一例の平面図
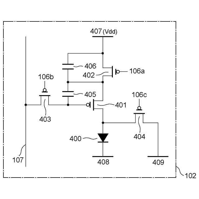
実施の形態4に係る発光装置の副画素の一例の回路図
実施の形態4に係る発光装置の一部の一例の平面図
実施の形態に係る発光装置の上層における副画素の一例の外縁を説明するための平面図
実施の形態4に係る発光装置の一部の一例の断面図
実施の形態5に係る表示装置の画素の一例を表す概略断面図である。
実施の形態5に係る表示装置の一例を表す模式図である。
(a)実施の形態5に係る撮像装置の一例を表す模式図である。(b)実施の形態5に係る電子機器の一例を表す模式図である。
(a)実施の形態に係る表示装置の一例を表す模式図である。(b)折り曲げ可能な表示装置の一例を表す模式図である。
(a)実施の形態に係るウェアラブルデバイスの一例を示す模式図である。(b)実施の形態に係るウェアラブルデバイスの一例で、撮像装置を有する形態を示す模式図である。
【発明を実施するための形態】
【0008】
以下、図面を参照しながら本実施の形態に係る発光装置について説明する。尚、以下の実施の形態は、いずれも本実施の形態の一例を示すものであり、数値、形状、材料、構成要素、構成要素の配置及び接続形態などは、本発明を限定するものではない。
【0009】
[実施の形態1]
以下では、発光素子の一例である有機発光素子の電極(ここではアノード)に駆動トランジスタが接続され、トランジスタが全てP型トランジスタである場合について説明するが、本実施の形態の発光装置はこれに限定されない。極性、及び導電型が全て逆であってもよく、一部が逆であっても良い。例えば、駆動トランジスタがP型トランジスタであり、他のトランジスタがN型トランジスタであってもよく、適宜、導電型と極性に合わせて、供給される電位や接続を変更すれば良い。また、各図面において同じ符号が付されている部分は、同じ部位または同様の機能を有する部分を指す。
【0010】
図1は、本実施の形態に係る発光装置の一部の一例の概略を示すシステム図である。図1に示すように、発光装置100の一例である有機EL表示装置は、画素アレイ部103と、画素アレイ部103の周辺に配置された駆動部と、を有する。画素アレイ部103は、行列状に2次元配置された複数の画素101を有し、各画素101は、複数の副画素102を有する。
(【0011】以降は省略されています)
この特許をJ-PlatPat(特許庁公式サイト)で参照する
関連特許
キヤノン株式会社
容器
16日前
キヤノン株式会社
容器
10日前
キヤノン株式会社
トナー
2日前
キヤノン株式会社
表示装置
10日前
キヤノン株式会社
撮像装置
16日前
キヤノン株式会社
電子機器
2日前
キヤノン株式会社
撮像装置
2日前
キヤノン株式会社
撮像装置
16日前
キヤノン株式会社
測距装置
4日前
キヤノン株式会社
記録装置
16日前
キヤノン株式会社
雲台装置
2日前
キヤノン株式会社
撮像装置
10日前
キヤノン株式会社
電子機器
2日前
キヤノン株式会社
記録装置
2日前
キヤノン株式会社
記録装置
2日前
キヤノン株式会社
撮像装置
16日前
キヤノン株式会社
撮像装置
3日前
キヤノン株式会社
液体収容体
5日前
キヤノン株式会社
液体収容体
4日前
キヤノン株式会社
画像形成装置
13日前
キヤノン株式会社
光電変換装置
2日前
キヤノン株式会社
情報処理装置
12日前
キヤノン株式会社
画像形成装置
12日前
キヤノン株式会社
画像形成装置
12日前
キヤノン株式会社
画像形成装置
3日前
キヤノン株式会社
画像形成装置
3日前
キヤノン株式会社
画像形成装置
5日前
キヤノン株式会社
画像形成装置
3日前
キヤノン株式会社
画像形成装置
3日前
キヤノン株式会社
画像処理装置
5日前
キヤノン株式会社
画像形成装置
5日前
キヤノン株式会社
情報処理装置
3日前
キヤノン株式会社
視線検出装置
4日前
キヤノン株式会社
画像形成装置
3日前
キヤノン株式会社
画像形成装置
13日前
キヤノン株式会社
画像形成装置
3日前
続きを見る
他の特許を見る