TOP
|
特許
|
意匠
|
商標
特許ウォッチ
Twitter
他の特許を見る
公開番号
2025136262
公報種別
公開特許公報(A)
公開日
2025-09-19
出願番号
2024034619
出願日
2024-03-07
発明の名称
磁着式電飾装置
出願人
ニチレイマグネット株式会社
代理人
主分類
G09F
7/04 20060101AFI20250911BHJP(教育;暗号方法;表示;広告;シール)
要約
【課題】表示される文字や図形を変更するに際し、新たな物品を製作する必要がなく、製作コストの削減を図ることのできる磁着式電飾装置の提供。
【解決手段】電極付きマグネットシートは、ピッチ幅Pのマグネットシート20と、そのN極21に対応する表面領域に積層すると共に各積層体同士が導通した薄厚の第1電極パターン31と、第1電極パターンから絶縁され、マグネットシートのS極22に対応する表面領域に積層すると共に各積層体同士が導通した薄厚の第2電極パターン32とを有する。集電部5は、上記ピッチ幅を有するマグネット片にその着磁線53を境に上記ピッチ幅未満の幅位置に左右対称で裏側面から同じ微小長さ突出する電極P1,P2を有する。電源7のプラス極は第1電極パターン31に接続され、マイナス極は第2電極パターン32に接続される構成とする。
【選択図】図8
特許請求の範囲
【請求項1】
電極付きマグネットシートと可撓性チューブ型ライトと集電部と直流電源とを有する磁着式電飾装置であって、
電極付きマグネットシートは、表面に帯状のN極とS極とが交互に現れる平行縞状の多極着磁パターンが形成されたマグネットシートと、マグネットシートにおけるN極に対応する表面領域に積層するとともに各積層体同士が導通した薄厚の第1電極パターンと、第1電極パターンから絶縁され、マグネットシートにおけるS極に対応する表面領域に積層するとともに各積層体同士が導通した薄厚の第2電極パターンとを有し、
可撓性チューブ型ライトは、可撓性及び透光性を有するチューブ体と、チューブ体における所定の表面からチューブ体の長手方向に沿って連続した光を外側に向けて発するように配置された発光素子とを備え、
集電部は、電極付きマグネットシートのマグネットシートと同一のピッチ幅を有するマグネットシートからなるマグネット片と、マグネット片と一体となった2本の電極とを有し、2本の電極は、それぞれマグネット片の着磁線を境にして、着磁線から上記ピッチ幅未満の幅位置において左右対称に設けられているとともに、マグネット片の裏側面から同じ微小長さだけ突出してなり、
直流電源は、そのプラス極が第1電極パターンに接続され、そのマイナス極が第2電極パターンに接続されることを特徴とする磁着式電飾装置。
続きを表示(約 110 文字)
【請求項2】
可撓性チューブ型ライトを電極付きマグネットシートに固定するための固定部を有する請求項1に記載の磁着式電飾装置。
【請求項3】
固定部と集電部とが一体化してなる請求項2に記載の磁着式電飾装置。
発明の詳細な説明
【技術分野】
【0001】
本発明は、磁着式電飾装置に関し、例えばショーウィンドウ、店頭、展示会場におけるブース等に設置して用いられる広告装置や、室内壁の装飾用に好適な装置に関する。
続きを表示(約 1,900 文字)
【背景技術】
【0002】
従来、ショーウィンドウ、店頭、展示会場におけるブース等に設置される広告装置として、電飾看板がある。電飾看板には様々な種類のものがあり、複数のLED(発光ダイオード)の発光によって文字、図形等を描き出す直接発光型や、スクリーンに描かれる文字、図形等を、スクリーンの裏面に設置される発光体の発光により、浮かび上がらせるバックライト型などがある。
【0003】
前者の型式をとる例えば特許文献1の情報表示用看板では、表示用基板を構成要素の一つとしている。この表示用基板は、LED及び駆動回路基板等を搭載、配設させるものであり、多数のLEDを、文字及び/又は数字表示可能のようにドット状に配列してなる。また、後者の型式をとる例えば特許文献2の発光看板では、LEDの取り付けられた背面パネルと、一定の幅を有する文字形の貫通孔を有した前面遮光シートとを有し、貫通孔部分が背面のLEDからの光の透光部となって文字を光らせるようになっている。
【先行技術文献】
【特許文献】
【0004】
実用新案登録第3232611号
実用新案登録第3016684号
【発明の開示】
【発明が解決しようとする課題】
【0005】
ところで、看板の表示内容を変えたいことがしばしばある。例えば、季節毎に変わるショーウィンドウ内の展示物の紹介用のフレーズや、開催毎に更新される展示ブース内のフレーズである。
特許文献1の看板では、文字や図形を変更したい場合、表示用基板自体を新たなものに変える必要があり、製作コストや手間がかかる。また、特許文献2の発光看板では、文字や図形を変更したい場合、貫通孔の形を変更する必要があることから、前面遮光シートを変える必要があり、これについても製作コストや手間がかかる。
【0006】
本発明は、以上のような事情に着目してなされたもので、表示される文字や図形を変更するに際し、新たな物品を製作する必要がなく、製作コストの削減を図ることのできる磁着式電飾装置の提供を課題とする。
【課題を解決するための手段】
【0007】
本発明は、上記課題を解決するために次のような手段をとる。なお、本欄(「課題を解決するための手段」の欄)において各構成手段に付した括弧書きの符号は、後述する実施形態に記載の具体的手段との対応関係を示すための参考用のものであり、本発明の構成手段をこれに限定するものではない。
【0008】
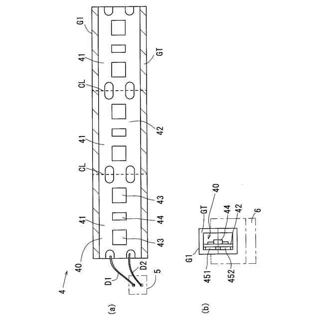
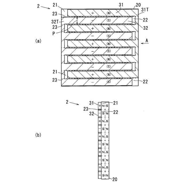
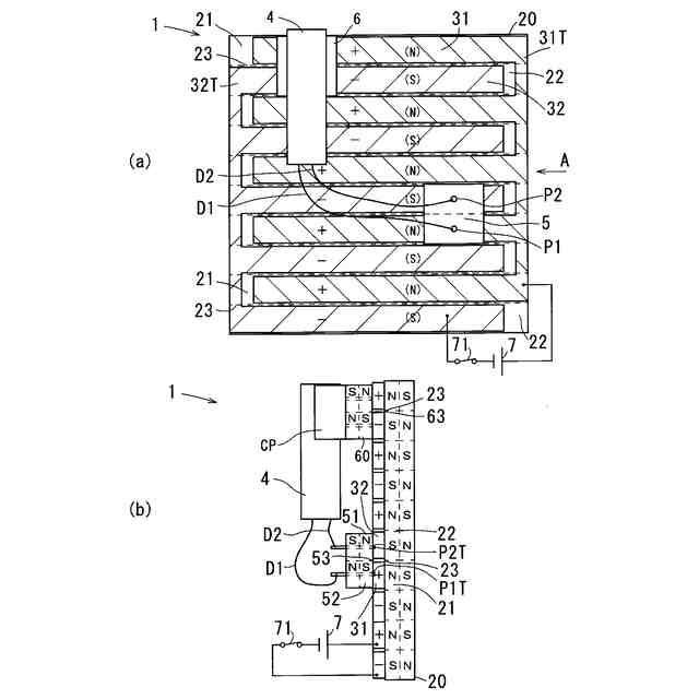
本発明の一の態様では、電極付きマグネットシート(2)と可撓性チューブ型ライト(4)と集電部(5)と直流電源(7)とを有する磁着式電飾装置(1)であって、電極付きマグネットシート(2)は、表面に帯状のN極(21)とS極(22)とが交互に現れる平行縞状の多極着磁パターンが形成されたマグネットシート(20)と、マグネットシート(20)におけるN極(21)に対応する表面領域に積層するとともに各積層体同士が導通した薄厚の第1電極パターン(31)と、第1電極パターン(31)から絶縁され、マグネットシート(20)におけるS極(22)に対応する表面領域に積層するとともに各積層体同士が導通した薄厚の第2電極パターン(32)とを有し、可撓性チューブ型ライト(4)は、可撓性及び透光性を有するチューブ体(GT)と、チューブ体(GT)における所定の表面からチューブ体(GT)の長手方向に沿って連続した光を外側に向けて発するように配置された発光素子(43)とを備え、集電部(5)は、電極付きマグネットシート(2)のマグネットシート(20)と同一のピッチ幅(P)を有するマグネットシートからなるマグネット片(50)と、マグネット片(50)と一体となった2本の電極(P1,P2)とを有し、2本の電極(P1,P2)は、それぞれマグネット片(50)の着磁線(53)を境にして、着磁線(53)から上記ピッチ幅(P)未満の幅位置において左右対称に設けられているとともに、マグネット片(50)の裏側面から同じ微小長さだけ突出してなり、直流電源(7)は、そのプラス極が第1電極パターン(31)に接続され、そのマイナス極が第2電極パターン(32)に接続されることを特徴とする。
【0009】
本発明の他の態様では、可撓性チューブ型ライト(4)を電極付きマグネットシート(2)に固定するための固定部(6)を有する。
【0010】
本発明の他の態様では、固定部(6)と集電部(5)とが一体化してなる。
【発明の効果】
(【0011】以降は省略されています)
この特許をJ-PlatPat(特許庁公式サイト)で参照する
関連特許
日本精機株式会社
表示装置
19日前
個人
計算用教具
15日前
中国電力株式会社
標示旗
25日前
日本精機株式会社
車両用センサ装置
15日前
個人
モデルで薔薇の花嫁様を描く為
1か月前
シャープ株式会社
表示装置
26日前
株式会社ウメラボ
学習支援システム
11日前
株式会社ウメラボ
学習支援システム
5日前
ニチレイマグネット株式会社
磁着式電飾装置
25日前
リンテック株式会社
表示体
4日前
株式会社リコー
画像投射システム
26日前
シチズンファインデバイス株式会社
液晶表示装置
1か月前
学校法人関西医科大学
腹腔鏡手術訓練装置
25日前
セイコーエプソン株式会社
表示方法
1か月前
セイコーエプソン株式会社
表示方法
1か月前
リンテック株式会社
粘着ラベル
5日前
キヤノン株式会社
発光装置
18日前
ローム株式会社
暗号化装置
5日前
TOPPANホールディングス株式会社
ラベル
15日前
セイコーエプソン株式会社
投射型表示装置
5日前
公立大学法人札幌市立大学
化学構造模型
6日前
アルプスアルパイン株式会社
情報処理システム
6日前
株式会社半導体エネルギー研究所
表示装置、画像データの処理方法
15日前
大日本印刷株式会社
学習支援装置及びプログラム
6日前
セイコーエプソン株式会社
表示装置及び電子機器
1か月前
日本放送協会
情報提示システム、領域抽出装置及びプログラム
4日前
セイコーエプソン株式会社
表示装置及び電子機器
5日前
株式会社小糸製作所
照明表示装置
4日前
リンテック株式会社
擬似接着ラベル
15日前
セイコーエプソン株式会社
電気光学装置の製造方法
1か月前
株式会社ジャパンディスプレイ
表示装置
1か月前
TOPPANインフォメディア株式会社
ラベル
7日前
日本電気株式会社
予兆検出システム、予兆検出方法及びプログラム
11日前
株式会社ジャパンディスプレイ
表示装置
26日前
株式会社フジシール
ラベルロールおよびラベル
4日前
東京ケーブルネットワーク株式会社
コミュニケーションデジタルサイネージ
11日前
続きを見る
他の特許を見る