TOP
|
特許
|
意匠
|
商標
特許ウォッチ
Twitter
他の特許を見る
10個以上の画像は省略されています。
公開番号
2025119999
公報種別
公開特許公報(A)
公開日
2025-08-15
出願番号
2024015180
出願日
2024-02-02
発明の名称
表示装置
出願人
シャープ株式会社
代理人
弁理士法人あーく事務所
主分類
G09F
9/00 20060101AFI20250807BHJP(教育;暗号方法;表示;広告;シール)
要約
【課題】表示パネルにスタンド部を取り付ける向きを変えることができる表示装置を提供する。
【解決手段】表示装置は、表示面に画像が表示される表示パネルと、表示パネルの背面に取り付けられるスタンド部とを備える。スタンド部は、略鉛直方向上向きと略鉛直方向下向きとに形成された係合部22を有する。表示パネルの背面には、係合部22と係合する背面係合部13が設けられている。
【選択図】図7
特許請求の範囲
【請求項1】
表示面に画像が表示される表示パネルと、前記表示パネルの背面に取り付けられるスタンド部とを備える表示装置であって、
前記スタンド部は、略鉛直方向上向きと略鉛直方向下向きとに形成された係合部を有し、
前記表示パネルの背面には、前記係合部と係合する背面係合部が設けられていること
を特徴とする表示装置。
続きを表示(約 1,100 文字)
【請求項2】
請求項1に記載の表示装置であって、
前記スタンド部は、前記背面係合部に対して、前記係合部を所定の向きで係合させた第1係合状態と、前記第1係合状態から自身を180度回転させた第2係合状態とのいずれかで取り付けられること
を特徴とする表示装置。
【請求項3】
請求項1に記載の表示装置であって、
前記係合部は、上端に設けた上端当接部と、下端に設けた下端当接部とが一体に形成されていること
を特徴とする表示装置。
【請求項4】
請求項3に記載の表示装置であって、
前記スタンド部は、前記表示パネルの背面に面する平板部を有し、
前記係合部は、前記平板部の一部とされ、垂直方向に延びた直線に沿って切り曲げて形成されていること
を特徴とする表示装置。
【請求項5】
請求項1に記載の表示装置であって、
前記係合部は、上下対称に形成されていること
を特徴とする表示装置。
【請求項6】
請求項1に記載の表示装置であって、
前記係合部は、上下で分割されていること
を特徴とする表示装置。
【請求項7】
請求項6に記載の表示装置であって、
前記スタンド部は、前記表示パネルの背面に面する平板部を有し、
前記係合部は、前記平板部の一部とされ、水平方向に延びた直線に沿って切り曲げて形成されていること
を特徴とする表示装置。
【請求項8】
請求項1に記載の表示装置であって、
前記係合部と前記背面係合部とは、一方に設けた凹部に、他方に設けた爪を挿入して、互いを係合すること
を特徴とする表示装置。
【請求項9】
請求項1に記載の表示装置であって、
前記表示パネルの背面には、前記背面係合部が複数設けられ、
前記表示パネルは、前記スタンド部に対して、いずれかの前記背面係合部が前記係合部に係合された第1支持状態と、前記第1支持状態から自身を90度回転させ、前記第1支持状態とは異なる前記背面係合部が前記係合部に係合された第2支持状態とのいずれかで取り付けられること
を特徴とする表示装置。
【請求項10】
請求項1に記載の表示装置であって、
前記背面係合部は、前記表示パネルの背面に対して傾斜した傾斜面を有し、
前記スタンド部は、前記傾斜面に応じて、前記表示パネルの背面に対して傾斜するように、前記表示パネルに取り付けられること
を特徴とする表示装置。
発明の詳細な説明
【技術分野】
【0001】
本開示は、表示パネルの背面に取り付けられるスタンド部を備える表示装置に関する。
続きを表示(約 1,900 文字)
【背景技術】
【0002】
テレビジョン受像器やパーソナルコンピュータ等の表示装置は、画像を表示するディスプレイ(パネル)を有し、ディスプレイの背面側はカバー等で覆われている。このような表示装置においては、近年、薄型化の要求が高く、カバー等の厚みを薄くして薄型化が図られている。ところで、表示装置では、机上等へ安定して設置できることも重視されており、薄型化しつつも、安定した設置状態を確保するため、剛性を確保することが検討されている(例えば、特許文献1参照)。
【先行技術文献】
【特許文献】
【0003】
特開2013-218117号公報
【発明の概要】
【発明が解決しようとする課題】
【0004】
従来の表示装置は、表示面に画像が表示されるディスプレイと、ディスプレイの表示面の反対の面側に配置されるバックシャーシと、バックシャーシの背面側に配置されるリアカバーとを有する装置本体を備え、バックシャーシを貫通する抜き孔と補強部とが設けられている。また、表示装置は、受け部を有して装置本体を支えるスタンドを備え、スタンドは、装置本体の下端部に取り付けられて装置本体を起立させる機能を有すると伴に、装置本体の背面に取り付けられて装置本体を壁面に沿って設置する機能を有する。
【0005】
上述した表示装置では、装置本体を起立させる際にスタンドを取り付ける位置と、装置本体を壁面に沿って設置する際にスタンドを取り付ける位置との共通化がされておらず、両方に対応するようにスタンドが複雑な構造となっている。
【0006】
本開示は、上記の課題を解決するためになされたものであり、表示パネルにスタンド部を取り付ける向きを変えることができる表示装置を提供することを目的とする。
【課題を解決するための手段】
【0007】
本開示に係る表示装置は、表示面に画像が表示される表示パネルと、前記表示パネルの背面に取り付けられるスタンド部とを備える表示装置であって、前記スタンド部は、略鉛直方向上向きと略鉛直方向下向きとに形成された係合部を有し、前記表示パネルの背面には、前記係合部と係合する背面係合部が設けられていることを特徴とする。
【発明の効果】
【0008】
本開示によると、係合部が上向きに延びた部分と下向きに延びた部分とを有するように形成されており、スタンド部を反転させて表示パネルに取り付けることで、表示パネルにスタンド部を取り付ける向きを変えることができ、表示装置の設置における自由度を向上させることができる。
【図面の簡単な説明】
【0009】
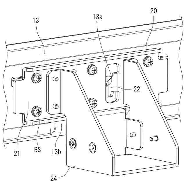
本開示の第1実施形態に係る表示装置を示す外観側面図である。
本開示の第1実施形態に係る表示装置を示す外観斜視図である。
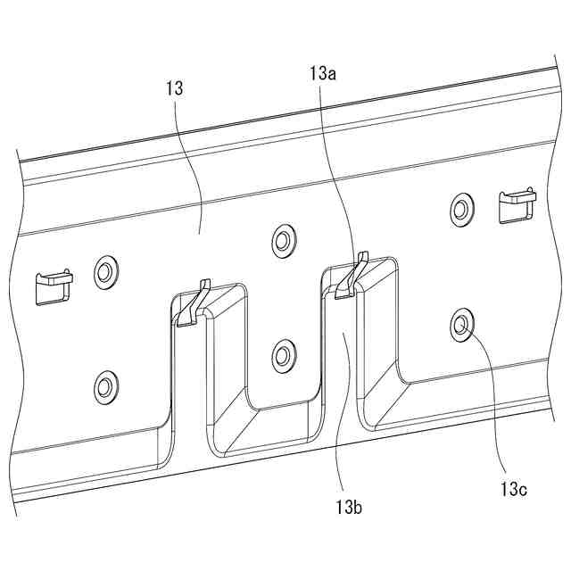
背面係合部近傍を拡大して示す拡大斜視図である。
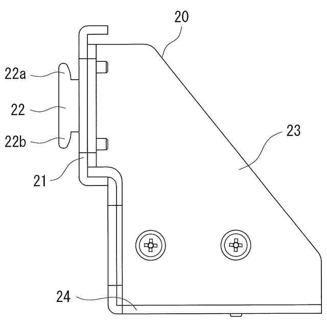
支持部を示す斜視図である。
支持部を示す側面図である。
支持部を示す正面図である。
支持部が下向きに取り付けられた背面係合部近傍を拡大して示す拡大斜視図である。
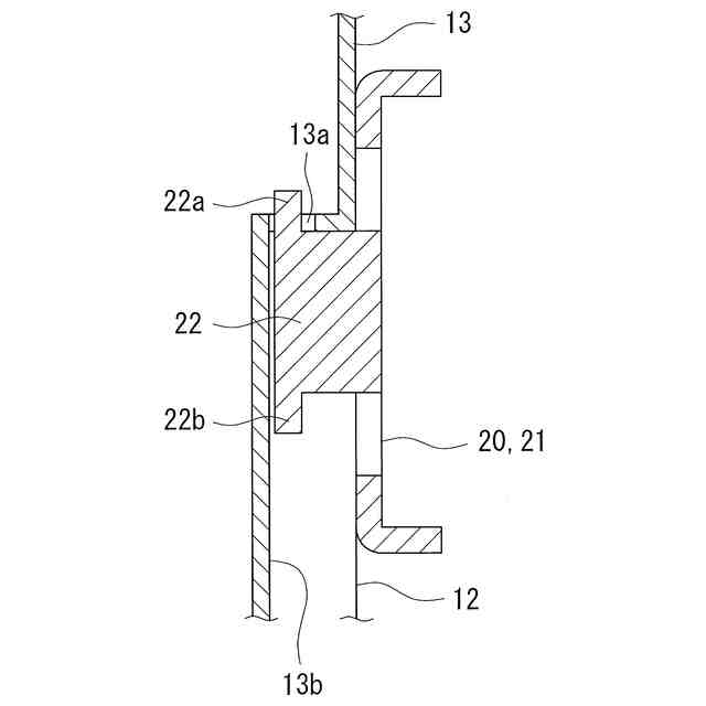
係合部および背面係合部近傍を示す模式断面図である。
床面に設置した表示装置を示す模式側面図である。
支持部が上向きに取り付けられた背面係合部近傍を拡大して示す拡大斜視図である。
壁面に設置した表示装置を示す模式側面図である。
本開示の第2実施形態における支持部を示す斜視図である。
本開示の第2実施形態における支持部を示す側面図である。
本開示の第2実施形態における支持部を示す正面図である。
本開示の第2実施形態における係合部および背面係合部近傍を示す模式断面図である。
本開示の第3実施形態における支持部を示す斜視図である。
本開示の第3実施形態における支持部を示す側面図である。
本開示の第3実施形態における支持部を示す正面図である。
本開示の第3実施形態における係合部および背面係合部近傍を示す模式断面図である。
本開示の第4実施形態に係る表示装置において、表示パネルの背面を示す模式平面図である。
向きを変えた表示パネルの背面を示す模式平面図である。
本開示の第5実施形態に係る表示装置を壁面に設置した状態を示す模式側面図である。
【発明を実施するための形態】
【0010】
(第1実施形態)
以下、本開示の第1実施形態に係る表示装置について、図面を参照して説明する。
(【0011】以降は省略されています)
この特許をJ-PlatPat(特許庁公式サイト)で参照する
関連特許
シャープ株式会社
表示装置
1日前
シャープ株式会社
画像形成装置
今日
シャープ株式会社
回収装置及び清掃具
8日前
シャープ株式会社
回収装置及び清掃具
8日前
シャープ株式会社
回収装置及び清掃具
8日前
シャープ株式会社
トナー及びその製造方法
今日
シャープ株式会社
通信装置および制御方法
2日前
シャープ株式会社
端末および端末の制御方法
今日
シャープ株式会社
補助電源回路および電源装置
3日前
シャープ株式会社
端末装置、方法、および集積回路
7日前
シャープ株式会社
端末装置、方法、および集積回路
7日前
シャープ株式会社
端末装置、方法、および集積回路
7日前
シャープ株式会社
端末装置、方法、および、集積回路
10日前
シャープ株式会社
通信装置および通信装置の設置方法
2日前
シャープ株式会社
電子機器および電子機器の制御方法
1日前
シャープ株式会社
トナーおよびそれを含む二成分現像剤
8日前
シャープ株式会社
画像形成装置及び画像形成装置の制御方法
1日前
シャープ株式会社
画像処理装置及び画像処理装置の制御方法
7日前
シャープ株式会社
画像処理装置、プログラム及び画像処理方法
8日前
シャープ株式会社
機器梱包セットおよびそれに用いられる緩衝材
今日
シャープ株式会社
電源装置、照明装置および電源装置の製造方法
3日前
シャープ株式会社
表示装置、画像形成装置、及び付加表示の表示制御方法
8日前
シャープ株式会社
画像処理装置及び画像処理装置における暗号化設定方法
8日前
シャープ株式会社
物品管理システム、物品管理方法、及び物品管理プログラム
7日前
シャープ株式会社
アクセスポイント装置、無線通信装置及び無線通信システム
1日前
シャープ株式会社
UAV(Uncrewed Aerial Vehicle)
7日前
シャープ株式会社
保管棚管理システム、保管棚管理方法、及び保管棚管理プログラム
7日前
シャープ株式会社
受信装置及び受信方法
10日前
シャープ株式会社
受信装置及び受信方法
10日前
シャープ株式会社
案内システム、案内方法、案内サーバ、案内プログラム、および案内記録媒体
7日前
シャープ株式会社
情報処理装置および情報処理システム
9日前
シャープ株式会社
スケジュール予約管理装置、スケジュール予約管理方法、及びスケジュール予約管理プログラム
今日
シャープ株式会社
システム、符号化ストリームのデータ構造、符号化ストリームの生成方法、動画像復号装置および動画像符号化装置
9日前
個人
回転式カード学習具
1か月前
個人
時刻表示機能つき手帳
2か月前
日本精機株式会社
表示装置
15日前
続きを見る
他の特許を見る