TOP
|
特許
|
意匠
|
商標
特許ウォッチ
Twitter
他の特許を見る
公開番号
2025158583
公報種別
公開特許公報(A)
公開日
2025-10-17
出願番号
2024061266
出願日
2024-04-05
発明の名称
イオン発生装置
出願人
シャープ株式会社
代理人
個人
,
個人
,
個人
主分類
F24F
8/30 20210101AFI20251009BHJP(加熱;レンジ;換気)
要約
【課題】設置の自由度が高いイオン発生装置を提供することである。
【解決手段】イオン発生装置は、空気の吸込口及び吹出口と、前記吸込口と前記吹出口とを連続させる風路とを有する筐体と、前記風路に位置するファンと、前記風路においてイオンを発生させるイオン発生部とを備える。前記吸込口及び前記吹出口は、第一方向に互いに離れ、前記第一方向に交差する第二方向に開口する。前記ファンは、前記第一方向において前記吸込口と前記吹出口との間に位置する。
【選択図】図3
特許請求の範囲
【請求項1】
空気の吸込口及び吹出口と、前記吸込口と前記吹出口とを連続させる風路とを有する筐体と、
前記風路に位置するファンと、
前記風路においてイオンを発生させるイオン発生部と
を備え、
前記吸込口及び前記吹出口は、第一方向に互いに離れ、前記第一方向に交差する第二方向に開口し、
前記ファンは、前記第一方向において前記吸込口と前記吹出口との間に位置する、イオン発生装置。
続きを表示(約 1,200 文字)
【請求項2】
前記ファンは、前記第一方向に沿う軸周りに回転するインペラを有する軸流ファンである、請求項1に記載のイオン発生装置。
【請求項3】
前記ファンは、前記風路において前記吸込口から前記吹出口に向かう気流を発生させ、
前記イオン発生部は、前記風路において前記ファンよりも下流側に、放電により前記イオンを発生する電極を有する、請求項1又は2に記載のイオン発生装置。
【請求項4】
前記風路において前記ファンよりも下流側の部分を規定する面を有するガイド部材を備え、
前記第一方向は、前記吸込口から前記吹出口への方向であり、
前記面は、前記ファンから前記第一方向に離れるにつれて前記吹出口に近づくように湾曲して下流端に至る、請求項1又は2に記載のイオン発生装置。
【請求項5】
前記下流端は、前記風路における前記第一方向の端である、請求項4に記載のイオン発生装置。
【請求項6】
前記吹出口は、前記下流端から前記第二方向に離れている、請求項4に記載のイオン発生装置。
【請求項7】
前記イオン発生部は、前記下流端よりも前記吹出口から離れた位置に、放電により前記イオンを発生する電極を有する、請求項4に記載のイオン発生装置。
【請求項8】
前記風路は、
前記ファンよりも下流側の第一部分と、
前記第一部分と前記吹出口との間の第二部分と
を有し、
前記第二部分の断面積は、前記第一部分の断面積よりも小さい、請求項1又は2に記載のイオン発生装置。
【請求項9】
空気の第一吸込口、第二吸込口、第一吹出口及び第二吹出口と、前記第一吸込口と前記第一吹出口とを連続させる第一風路と、前記第二吸込口と前記第二吹出口とを連続させる第二風路と、
を有する筐体と、
前記第一風路に位置する第一ファンと、
前記第二風路に位置する第二ファンと、
前記第一風路において、放電によりイオンを発生させる第一電極と、前記第二風路において、放電によりイオンを発生させる第二電極とを有するイオン発生部と
を備え、
前記第一吸込口及び前記第一吹出口は、第一方向に離れており、前記第一方向に交差する第二方向に開口し、
前記第二吸込口及び前記第二吹出口は、前記第一方向に離れており、前記第二方向に向けて開口し、
前記第一ファンは、前記第一方向において前記第一吸込口と前記第一吹出口との間に位置し、
前記第二ファンは、前記第一方向において前記第二吸込口と前記第二吹出口との間に位置する、イオン発生装置。
【請求項10】
前記第一電極及び前記第二電極は、正イオン及び負イオンをそれぞれ発生させる、請求項9に記載のイオン発生装置。
(【請求項11】以降は省略されています)
発明の詳細な説明
【技術分野】
【0001】
本開示は、イオン発生装置に関する。
続きを表示(約 1,300 文字)
【背景技術】
【0002】
背景技術に係るイオン発生装置において、吸込口及び吹出口は、筐体において相異なる面に設けられている。詳細には、吸込口は、筐体の前面に設けられている。それに対し、吹出口は、筐体の上面に設けられている(特許文献1参照)。
【先行技術文献】
【特許文献】
【0003】
特開2019-23544号公報
【発明の概要】
【発明が解決しようとする課題】
【0004】
吸込口及び吹出口が筐体において異なる面にある場合、吸込口及び吹出口の各々を複数の壁面から離す必要がある。即ち、背景技術には、イオン発生装置の設置場所の自由度が低くなるという問題点がある。
【0005】
本開示の目的は、設置の自由度が高いイオン発生装置を提供することにある。
【課題を解決するための手段】
【0006】
本開示の一局面に係るイオン発生装置は、筐体と、ファンと、イオン発生部とを備える。前記筐体は、空気の吸込口及び吹出口と、前記吸込口と前記吹出口とを連続させる風路とを有する。前記ファンは、前記風路に位置する。前記イオン発生部は、前記風路においてイオンを発生させる。前記吸込口及び前記吹出口は、第一方向に互いに離れ、前記第一方向に交差する第二方向に開口する。前記ファンは、前記第一方向において前記吸込口と前記吹出口との間に位置する。
【発明の効果】
【0007】
本開示によれば、設置の自由度が高いイオン発生装置を提供することができる。
【図面の簡単な説明】
【0008】
実施形態に係るイオン発生装置100の外観斜視図である。
図1に示される線II-IIに沿うイオン発生装置100の横断面を第三方向他方Z2から見た図である。
図1に示される線III-IIIに沿うイオン発生装置100の横断面を第三方向一方Z1から見た図である。
図1に示されるイオン発生装置100の設置例を示す図である。
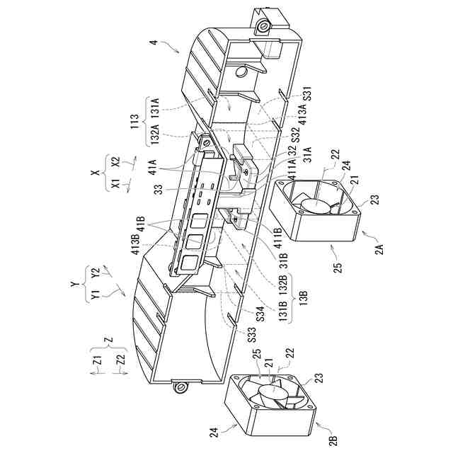
図2に示される第一ファン2A及び第二ファン2Bと、ガイド部材4とを示す分解斜視図である。
図1に示されるイオン発生装置100における気流A1,A2を示す模式図である。
【発明を実施するための形態】
【0009】
以下、図面を参照しながら、本開示の各実施形態に係るイオン発生装置を説明する。なお、図中、同一又は相当部分については同一の参照符号を附して説明の繰り返しを控える。
【0010】
[第一方向X,第二方向Y,第三方向Z]
下記では、本開示の理解を容易にするために、いくつかの図面には、互いに交差する第一方向X、第二方向Y及び第三方向Zが示されている。本開示において、「交差」という用語は、線同士、面同士又は線及び面が互いに直角に交わること、若しくは、線同士、面同士又は線及び面が微差の範囲で非直角に交わることを意味する。微差は、公差及び誤差を含む概念である。
(【0011】以降は省略されています)
この特許をJ-PlatPat(特許庁公式サイト)で参照する
関連特許
シャープ株式会社
照明管
3日前
シャープ株式会社
照明装置
3日前
シャープ株式会社
制御装置
3日前
シャープ株式会社
照明装置
3日前
シャープ株式会社
照明装置
10日前
シャープ株式会社
加熱調理機
10日前
シャープ株式会社
空気調和機
18日前
シャープ株式会社
空気調和機
18日前
シャープ株式会社
加熱調理器
18日前
シャープ株式会社
捺染トナー
3日前
シャープ株式会社
空気調和機
18日前
シャープ株式会社
画像形成装置
12日前
シャープ株式会社
画像形成装置
26日前
シャープ株式会社
塵埃回収装置
5日前
シャープ株式会社
緩衝材および梱包体
5日前
シャープ株式会社
端末装置および通信方法
18日前
シャープ株式会社
通信端末および水道メータ
12日前
シャープ株式会社
表示装置、および表示方法
3日前
シャープ株式会社
定着装置および画像形成装置
11日前
シャープ株式会社
風向変更板、及び空気調和機
19日前
シャープ株式会社
端末装置、および、基地局装置
19日前
シャープ株式会社
制御装置、及び、装置制御方法
10日前
シャープ株式会社
端末装置、および、基地局装置
19日前
シャープ株式会社
表示制御装置及び表示制御方法
19日前
シャープ株式会社
画像処理装置および表示制御方法
18日前
シャープ株式会社
濃度検出方法および画像形成装置
3日前
シャープ株式会社
集塵ステーション及び塵埃回収装置
11日前
シャープ株式会社
表示装置の取付構造および表示装置
3日前
シャープ株式会社
塵芥回収装置及び塵芥回収システム
1か月前
シャープ株式会社
端末装置、基地局装置および通信方法
18日前
シャープ株式会社
UE(User Equipment)
10日前
シャープ株式会社
UE(User Equipment)
10日前
シャープ株式会社
システム、制御方法、およびプログラム
19日前
シャープ株式会社
端末装置、基地局装置、および、通信方法
19日前
シャープ株式会社
音声出力装置、端末装置及び情報処理方法
4日前
シャープ株式会社
画像処理装置及び画像処理装置の制御方法
1か月前
続きを見る
他の特許を見る