TOP
|
特許
|
意匠
|
商標
特許ウォッチ
Twitter
他の特許を見る
10個以上の画像は省略されています。
公開番号
2025162316
公報種別
公開特許公報(A)
公開日
2025-10-27
出願番号
2024065531
出願日
2024-04-15
発明の名称
端末装置および測定方法
出願人
シャープ株式会社
代理人
弁理士法人 HARAKENZO WORLD PATENT & TRADEMARK
主分類
H04N
23/60 20230101AFI20251020BHJP(電気通信技術)
要約
【課題】被測定者を撮影して被測定者の生体情報を測定することが、より適切に行える端末装置を提供する。
【解決手段】端末装置(100)は、撮影装置(2)にて撮影される被測定者の撮影画像を取得する画像取得部(11)と、撮影画像における被測定者の顔画像の明るさを示す指標値を算出する画像処理部(12)と、顔画像に基づいて測定された、被測定者の生体情報を出力する出力制御部(14)と、指標値が所定の測定可能条件を満たすかを判定する判定処理部(16)と、を備え、出力制御部は、指標値が測定可能条件を満たさない場合に、指標値が測定可能条件を満たすように顔画像の向きを変化させるためのガイダンス情報を出力する。
【選択図】図1
特許請求の範囲
【請求項1】
撮影装置にて撮影される被測定者の撮影画像を取得する画像取得部と、
前記撮影画像における前記被測定者の顔画像の明るさを示す指標値を算出する画像処理部と、
前記顔画像に基づいて測定された、前記被測定者の生体情報を出力する出力制御部と、
前記指標値が所定の測定可能条件を満たすかを判定する判定部と、を備え、
前記出力制御部は、前記指標値が前記測定可能条件を満たさない場合に、前記指標値が前記測定可能条件を満たすように前記顔画像の向きを変化させるためのガイダンス情報を出力する、端末装置。
続きを表示(約 1,600 文字)
【請求項2】
前記画像処理部は、前記被測定者の顔の顎、額、右頬および左頬の前記指標値を算出し、
前記出力制御部は、顎の前記指標値が前記測定可能条件を満たさず、額の前記指標値が前記測定可能条件を満たす場合、又は額以外の前記指標値が前記測定可能条件を満たさない場合、前記ガイダンス情報として、前記顔画像の向きを上向きに変化させるための情報を出力する、請求項1に記載の端末装置。
【請求項3】
前記画像処理部は、前記顔画像における前記被測定者の左右対称の所定部位に対し、前記撮影装置から近い方の近接部位および適正指標値に近い明るさを有する適正部位を特定し、
前記出力制御部は、前記近接部位と前記適正部位とが一致しない場合に、前記ガイダンス情報として、前記近接部位と前記適正部位とが一致するよう前記顔画像の向きを変化させるための情報を出力する、請求項1に記載の端末装置。
【請求項4】
前記出力制御部は、前記ガイダンス情報として、前記指標値が前記測定可能条件を満たすように前記顔画像の向きを変化させるために必要な、測定者を移動させる情報を出力する、請求項1に記載の端末装置。
【請求項5】
前記画像処理部は、前記顔画像における前記被測定者の左右対称の所定部位に対し、前記撮影装置から近い方の近接部位および最適指標値に近い明るさを有する適正部位を特定し、
前記出力制御部は、前記近接部位と前記適正部位とが一致しない場合に、前記測定者を移動させる情報として、前記適正部位に特定されている所定部位を前記近接部位とするために必要な動きの情報を出力する、請求項4に記載の端末装置。
【請求項6】
前記被測定者の左右対称の所定部位は、前記被測定者の右頬および左頬であり、
前記出力制御部は、前記近接部位が左頬であり、前記適正部位が右頬である場合に、前記測定者を移動させる情報として、前記被測定者の右側から撮影するように案内する情報を出力し、前記近接部位が右頬であり、前記適正部位が左頬である場合に、前記測定者を移動させる情報として、前記被測定者の左側から撮影するように案内する情報を出力する、請求項5に記載の端末装置。
【請求項7】
前記出力制御部は、前記測定者を移動させる情報を表示装置に出力させ、前記測定者を移動させる情報に、移動方向を示す図形を含める、請求項4に記載の端末装置。
【請求項8】
前記出力制御部は、前記ガイダンス情報として、前記指標値が前記測定可能条件を満たすように前記顔画像の向きを変化させるために必要な、前記被測定者を移動させる情報を出力する、請求項1に記載の端末装置。
【請求項9】
前記画像処理部は、前記顔画像における前記被測定者の左右対称の所定部位に対し、前記撮影装置から近い方の近接部位および適正指標値に近い明るさを有する適正部位を特定し、
前記出力制御部は、前記近接部位と前記適正部位とが一致しない場合に、前記被測定者を移動させる情報として、前記近接部位に特定される所定部位を前記適正部位とするために必要な動きの情報を出力する、請求項8に記載の端末装置。
【請求項10】
前記被測定者の左右対称の所定部位は、前記被測定者の右頬および左頬であり、
前記出力制御部は、前記近接部位が左頬であり、前記適正部位が右頬である場合に、前記被測定者を移動させる情報として、前記被測定者の顔を左に向けるための情報を出力し、前記近接部位が右頬であり、前記適正部位が左頬である場合に、前記被測定者を移動させる情報として、前記被測定者の顔を右に向けるための情報を出力する、請求項9に記載の端末装置。
(【請求項11】以降は省略されています)
発明の詳細な説明
【技術分野】
【0001】
本発明は、非接触で被測定者の生体情報を測定する端末装置および当該端末装置を用いた測定方法に関する。
続きを表示(約 1,800 文字)
【背景技術】
【0002】
従来、被撮影者の顔を適切に撮像するために被撮影者を案内する技術が知られている。例えば、特許文献1には、光方向検出手段によって明るい光の方向を検出し、検出された光の方向に立つように被撮影者を案内する顔撮影装置が開示されている。
【先行技術文献】
【特許文献】
【0003】
特許第4811863号明細書
【発明の概要】
【発明が解決しようとする課題】
【0004】
しかしながら、上述の技術は、顔照合に適さない影が被撮影者の顔画像に生じないように光源と被撮影者の方向を一致させる技術であり、上述の技術では、被測定者を撮影した撮影画像に基づき、被測定者の生体情報を検出する非接触ヘルスケアセンシングに用いた場合、適切な測定を行うための案内として十分とは言えない。
【0005】
つまり、特許文献1の技術を用いて、明るい光の方向に被撮影者を案内して立たせた場合、逆光になるために被撮影者の顔が相対的に暗くなって頬等のセンシング部位の明るさが不十分となり、適切な測定を行うことができない恐れがある。
【0006】
本発明の一態様は、被測定者を撮影して被測定者の生体情報を測定することが、より適切に行える端末装置および測定方法を提供することにある。
【課題を解決するための手段】
【0007】
上記の課題を解決するために、本発明の一態様に係る端末装置は、撮影装置にて撮影される被測定者の撮影画像を取得する画像取得部と、前記撮影画像における前記被測定者の顔画像の明るさを示す指標値を算出する画像処理部と、前記顔画像に基づいて測定された、前記被測定者の生体情報を出力する出力制御部と、前記指標値が所定の測定可能条件を満たすかを判定する判定部と、を備え、前記出力制御部は、前記指標値が前記測定可能条件を満たさない場合に、前記指標値が前記測定可能条件を満たすように前記顔画像の向きを変化させるためのガイダンス情報を出力する。
【0008】
上記の課題を解決するために、本発明の一態様に係る測定方法は、撮影装置を備える端末装置による測定方法であって、前記撮影装置にて撮影される被測定者の撮影画像を取得する取得ステップと、前記撮影画像における前記被測定者の顔画像の明るさを示す指標値を算出する画像処理ステップと、前記顔画像に基づいて測定された、前記被測定者の生体情報を出力する生体情報出力ステップと、前記指標値が測定可能条件を満たすか否かを判定する判定ステップと、前記指標値が前記測定可能条件を満たさない場合に、前記指標値が前記測定可能条件を満たすように前記顔画像の向きを変化させるためのガイダンス情報を出力するガイダンス情報出力ステップと、を含む。
【発明の効果】
【0009】
本発明の一態様によれば、被測定者を撮影して被測定者の生体情報を測定することが、より適切に行える。
【図面の簡単な説明】
【0010】
本発明の実施形態に係る端末装置の概略構成を示すブロック図である。
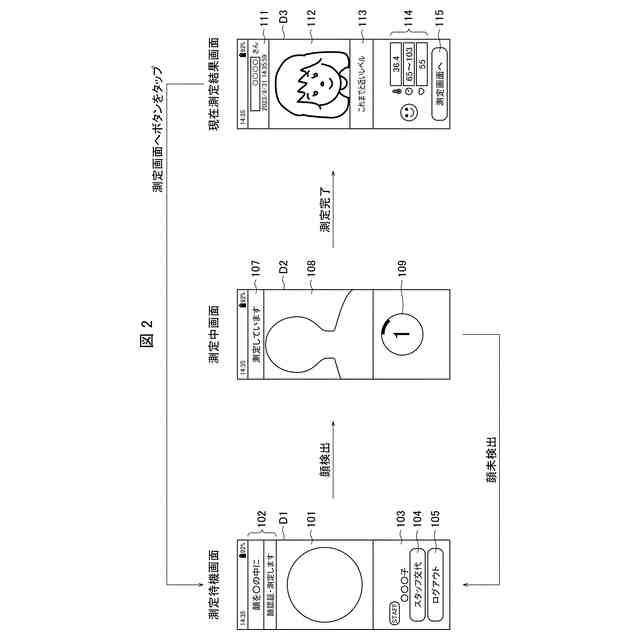
上記端末装置を用いて行う測定操作の動作を、画面画像と共に示す図である。
上記端末装置におけるガイダンス例1のフローチャートである。
上記端末装置におけるガイダンス例2のフローチャートである。
上記端末装置におけるガイダンス例3のフローチャートである。
被測定者の状態と、図5のフローチャートにおけるS22で表示されるガイダンス画面D4の一例を示す図である。
ガイダンス例3における、測定者が移動した後の測定開始画面D5の一例を示す図である。
上記端末装置におけるガイダンス例4のフローチャートである。
図9は、図8のフローチャートにおけるS37で実施されるガイダンスの一例を示す図である。
ガイダンス例4における、被測定者の移動を停止させ、測定を開始するガイダンスの一例を示す図である。
上記端末装置におけるガイダンス例5のフローチャートである。
【発明を実施するための形態】
(【0011】以降は省略されています)
この特許をJ-PlatPat(特許庁公式サイト)で参照する
関連特許
シャープ株式会社
送風機
16日前
シャープ株式会社
表示装置
1か月前
シャープ株式会社
表示装置
16日前
シャープ株式会社
通信装置
18日前
シャープ株式会社
筐体構造
1か月前
シャープ株式会社
加熱機器
1か月前
シャープ株式会社
表示装置
1か月前
シャープ株式会社
端末装置
1か月前
シャープ株式会社
表示装置
16日前
シャープ株式会社
端末装置
1か月前
シャープ株式会社
走行装置
1か月前
シャープ株式会社
通信端末
1か月前
シャープ株式会社
空気調和機
3日前
シャープ株式会社
空気調和機
3日前
シャープ株式会社
加熱調理器
3日前
シャープ株式会社
空気調和機
3日前
シャープ株式会社
画像形成装置
1か月前
シャープ株式会社
アンテナ装置
1か月前
シャープ株式会社
画像形成装置
25日前
シャープ株式会社
画像形成装置
1か月前
シャープ株式会社
画像形成装置
25日前
シャープ株式会社
画像形成装置
11日前
シャープ株式会社
イオン発生装置
1か月前
シャープ株式会社
緩衝材及び梱包体
1か月前
シャープ株式会社
端末装置および通信方法
17日前
シャープ株式会社
端末装置および測定方法
27日前
シャープ株式会社
端末装置および通信方法
3日前
シャープ株式会社
トナー及びその製造方法
1か月前
シャープ株式会社
端末装置および通信方法
1か月前
シャープ株式会社
決済システム及び決済方法
1か月前
シャープ株式会社
情報処理装置及び設定方法
1か月前
シャープ株式会社
端末および端末の制御方法
1か月前
シャープ株式会社
給紙装置および画像形成装置
1か月前
シャープ株式会社
定着装置および画像形成装置
1か月前
シャープ株式会社
動画像符号化装置、復号装置
1か月前
シャープ株式会社
風向変更板、及び空気調和機
4日前
続きを見る
他の特許を見る