TOP
|
特許
|
意匠
|
商標
特許ウォッチ
Twitter
他の特許を見る
10個以上の画像は省略されています。
公開番号
2025153239
公報種別
公開特許公報(A)
公開日
2025-10-10
出願番号
2024055614
出願日
2024-03-29
発明の名称
端末および端末の制御方法
出願人
シャープ株式会社
代理人
個人
,
個人
主分類
H04W
36/14 20090101AFI20251002BHJP(電気通信技術)
要約
【課題】2つのSIMを用いた端末の電力消費を低減することができる端末等を提供する。
【解決手段】端末は、第1加入者識別モジュールを用いた第1通信方式により前記第1加入者識別モジュールに対応した第1基地局と通信を行う第1通信部と、第2加入者識別モジュールを用いた前記第1通信方式とは異なる第2通信方式により前記第2加入者識別モジュールに対応した第2基地局と通信を行う第2通信部と、前記第1加入者識別モジュールが前記第1基地局と通信可能なときは前記第1通信部の機能を有効にするとともに前記第2通信部の機能を無効にし、前記第1加入者識別モジュールが前記第1基地局と通信不能になったときは前記第2通信部の機能を有効に切り替える制御を行う制御部と、を備える。
【選択図】図2
特許請求の範囲
【請求項1】
第1加入者識別モジュールを用いた第1通信方式により前記第1加入者識別モジュールに対応した第1基地局と通信を行う第1通信部と、
第2加入者識別モジュールを用いた前記第1通信方式とは異なる第2通信方式により前記第2加入者識別モジュールに対応した第2基地局と通信を行う第2通信部と、
前記第1加入者識別モジュールが前記第1基地局と通信可能なときは前記第1通信部の機能を有効にするとともに前記第2通信部の機能を無効にし、前記第1加入者識別モジュールが前記第1基地局と通信不能になったときは前記第2通信部の機能を有効に切り替える制御を行う制御部と、
を備える端末。
続きを表示(約 990 文字)
【請求項2】
前記制御部は、前記第1通信部が前記第1基地局と通信不能な期間が第1期間になった場合に、前記第2通信部の機能を無効から有効に切り替える制御を行う、請求項1に記載の端末。
【請求項3】
前記制御部は、前記第1加入者識別モジュールが前記第1基地局と通信不能になっている間、前記第1通信部の機能を無効にしない、請求項1に記載の端末。
【請求項4】
前記制御部は、前記第1通信部が前記第1基地局からの報知情報を受信したときに、前記第1通信部と前記第1基地局との通信を開始させる制御を行い、前記第1通信部と前記第1基地局との通信を行っている期間が第2期間になった場合に、前記第2通信部と前記第2基地局との通信を切断する制御を行う、請求項3に記載の端末。
【請求項5】
前記制御部は、前記第2基地局との通信が切断された後に、前記第2通信部の機能を有効から無効に切り替える制御を行う、請求項4に記載の端末。
【請求項6】
前記第1通信部が行う前記第1通信方式は、前記第2通信部が行う前記第2通信方式の通信よりも通信機能が削減されている、請求項1に記載の端末。
【請求項7】
前記第1加入者識別モジュールに対応した第1基地局は、通信事業者が運用する移動体通信サービスの基地局であり、
前記第2加入者識別モジュールに対応した第2基地局は、前記通信事業者が運用する前記移動体通信サービスとは独立したローカル基地局である、請求項1に記載の端末。
【請求項8】
第1加入者識別モジュールを用いた第1通信方式により前記第1加入者識別モジュールに対応した第1基地局と通信を行う第1通信部と、第2加入者識別モジュールを用いた前記第1通信方式とは異なる第2通信方式により前記第2加入者識別モジュールに対応した第2基地局と通信を行う第2通信部と、を有する端末の制御方法であって、
前記第1加入者識別モジュールが前記第1基地局と通信可能なときは前記第1通信部の機能を有効にするとともに前記第2通信部の機能を無効にし、
前記第1加入者識別モジュールが前記第1基地局と通信不能になったときは前記第2通信部の機能を有効に切り替える制御を行う、
を備える端末の制御方法。
発明の詳細な説明
【技術分野】
【0001】
本発明は、端末および端末の制御方法に関する。
続きを表示(約 1,700 文字)
【背景技術】
【0002】
2つのSIM(Subscriber Identity Module)を用いて通信可能なスマートフォン等の端末が用いられている。例えば、デュアルサブスクライバーアイデンティティモジュール(SIM)デュアルスタンバイ(DSDS)/デュアルSIMデュアルアクティブ(DSDA)に基づいてプライマリカードリンクとセカンダリカードリンクとを構成する技術が特許文献1に提案されている。
【先行技術文献】
【特許文献】
【0003】
特開2021-150944号公報
【発明の概要】
【発明が解決しようとする課題】
【0004】
2つのSIMを用いて通信可能な端末において、当該端末は2つのSIMのうち何れか一方を使用して通信を行う。この場合、使用されていない他方のSIMは、通信可能な状態で待機しているため、待機のための電力を消費する。このため、端末全体として、使用していないSIMを用いた通信の待機のための不要な電力消費が生じる。特許文献1は、かかる問題を解決するものではない。
【0005】
1つの側面として、本開示の目的は、2つのSIMを用いた端末の電力消費を低減することができる端末等を提供することにある。
【課題を解決するための手段】
【0006】
本発明の一態様に係る端末は、第1加入者識別モジュールを用いた第1通信方式により前記第1加入者識別モジュールに対応した第1基地局と通信を行う第1通信部と、第2加入者識別モジュールを用いた前記第1通信方式とは異なる第2通信方式により前記第2加入者識別モジュールに対応した第2基地局と通信を行う第2通信部と、前記第1加入者識別モジュールが前記第1基地局と通信可能なときは前記第1通信部の機能を有効にするとともに前記第2通信部の機能を無効にし、前記第1加入者識別モジュールが前記第1基地局と通信不能になったときは前記第2通信部の機能を有効に切り替える制御を行う制御部と、を備える。
【図面の簡単な説明】
【0007】
実施形態のシステムの一例を示す図である。
端末の一例を示す図である。
第1基地局および第2基地局の一例を示す図である。
2つの通信部の状態の第1の例を示す図である。
2つの通信部の状態の第2の例を示す図である。
実施形態のシステム全体の処理の流れの一例を示すシーケンス図である。
図6から続くシーケンス図である。
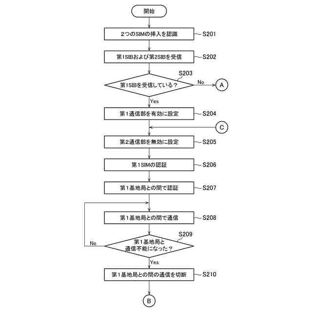
実施形態の端末の処理の流れの一例を示すフローチャートである。
図8から続くフローチャートである。
変形例における第1の例を示す図である。
変形例における第2の例を示す図である。
変形例における第3の例を示す図である。
変形例における第4の例を示す図である。
【発明を実施するための形態】
【0008】
以下、本実施形態について説明する。図1は、本実施形態のシステム100の一例を示す図である。システム100は、端末101、第1基地局102および第2基地局103を含む。システム100に含まれる端末101、第1基地局102および第2基地局103の数は複数であってもよい。
【0009】
端末101は、5G規格やLTE(Long Term Evolution)、4G規格等の通信規格に準拠した通信を行う端末である。当該端末101は、UE(User Equipment)とも称される。
【0010】
本実施形態の端末101は、RedCap(Reduced Capability)通信が可能な端末であるものとして説明する。RedCapは、例えば、ウェアラブルデバイスやIoT機器などの利用を想定した、通信機能の一部が制限された規格である。制限される一部の通信機能は、例えば、Band幅やMIMOなどのNR機能の一部の通信機能である。
(【0011】以降は省略されています)
この特許をJ-PlatPat(特許庁公式サイト)で参照する
関連特許
シャープ株式会社
送風機
16日前
シャープ株式会社
表示装置
16日前
シャープ株式会社
表示装置
16日前
シャープ株式会社
筐体構造
1か月前
シャープ株式会社
通信装置
18日前
シャープ株式会社
空気調和機
3日前
シャープ株式会社
空気調和機
3日前
シャープ株式会社
空気調和機
3日前
シャープ株式会社
加熱調理器
3日前
シャープ株式会社
画像形成装置
25日前
シャープ株式会社
画像形成装置
25日前
シャープ株式会社
画像形成装置
11日前
シャープ株式会社
端末装置および測定方法
27日前
シャープ株式会社
端末装置および通信方法
17日前
シャープ株式会社
端末装置および通信方法
3日前
シャープ株式会社
情報処理装置及び設定方法
1か月前
シャープ株式会社
風向変更板、及び空気調和機
4日前
シャープ株式会社
画像処理装置及び表示制御方法
16日前
シャープ株式会社
表示制御装置及び表示制御方法
4日前
シャープ株式会社
端末装置、および、基地局装置
4日前
シャープ株式会社
端末装置、および、基地局装置
4日前
シャープ株式会社
給油管理装置、及び給油システム
1か月前
シャープ株式会社
画像処理装置および表示制御方法
3日前
シャープ株式会社
塵芥回収装置及び塵芥回収システム
16日前
シャープ株式会社
シート搬送装置および画像形成装置
17日前
シャープ株式会社
端末装置、基地局装置および通信方法
19日前
シャープ株式会社
端末装置、基地局装置および通信方法
3日前
シャープ株式会社
システム、制御方法、およびプログラム
4日前
シャープ株式会社
後処理装置及びそれを備えた画像形成装置
18日前
シャープ株式会社
後処理装置及びそれを備えた画像形成装置
19日前
シャープ株式会社
画像処理装置及び画像処理装置の制御方法
16日前
シャープ株式会社
画像処理装置及び画像処理装置の制御方法
1か月前
シャープ株式会社
端末装置、基地局装置、および、通信方法
4日前
シャープ株式会社
画像形成装置の定着装置及び画像形成装置
27日前
シャープ株式会社
画像形成装置、その制御方法、及び印刷システム
3日前
シャープ株式会社
3Dデータ復号装置および3Dデータ符号化装置
1か月前
続きを見る
他の特許を見る