TOP
|
特許
|
意匠
|
商標
特許ウォッチ
Twitter
他の特許を見る
10個以上の画像は省略されています。
公開番号
2025162035
公報種別
公開特許公報(A)
公開日
2025-10-27
出願番号
2024065129
出願日
2024-04-15
発明の名称
画像形成装置の定着装置及び画像形成装置
出願人
シャープ株式会社
代理人
弁理士法人あーく事務所
主分類
G03G
15/20 20060101AFI20251020BHJP(写真;映画;光波以外の波を使用する類似技術;電子写真;ホログラフイ)
要約
【課題】定着ベルトの端部へダメージが生じることなく、且つ構成が簡単な蛇行検知装置を有する画像形成装置の定着装置を提供する。
【解決手段】定着装置10は、定着ベルト11と、定着ベルト11を回転可能に保持するベルトガイド33と、定着ベルト11内に設けられ光を発するメインランプ26と、定着ベルト11外に設けられ光を検知するフォトセンサ37と、フォトセンサ37の検知結果に応じて定着ベルト11の蛇行を制御する制御部39と、を含む。
【選択図】図3A
特許請求の範囲
【請求項1】
定着ベルトと、
前記定着ベルトを回転可能に保持するベルトガイドと、
前記定着ベルト内に設けられ光を発する熱源と、
前記定着ベルト外に設けられ光を検知する光検知部と、
前記光検知部の検知結果に応じて前記定着ベルトの蛇行を制御する蛇行制御手段と、を含む、画像形成装置の定着装置。
続きを表示(約 660 文字)
【請求項2】
前記ベルトガイドには窓が設けられ、
前記窓に対向する位置に前記光検知部が配置され、
前記熱源は前記ベルトガイド内部において、前記定着ベルトの軸方向に配置され、
前記光検知部が光を検知したときに前記定着ベルトの蛇行を判定し、
前記蛇行制御手段は、前記定着ベルトの蛇行を制御する、請求項1に記載の画像形成装置の定着装置。
【請求項3】
前記熱源が発光しているときにのみ前記蛇行制御手段の前記定着ベルトの蛇行の制御が有効になる、請求項1に記載の画像形成装置の定着装置。
【請求項4】
前記ベルトガイドは前記定着ベルトの軸方向の両端部に設けられ、
前記定着ベルトが前記軸方向中央に位置しているとき、前記ベルトガイドの窓はいずれも前記定着ベルトにより閉塞される、請求項2に記載の画像形成装置の定着装置。
【請求項5】
前記光検知部は前記定着ベルトの軸方向の両端部に設けられ、
前記両端部の前記光検知部が光を検知したとき、前記定着ベルトが破損していると判断する、請求項4に記載の画像形成装置の定着装置。
【請求項6】
前記ベルトガイドの窓は、前記定着ベルトの一方側にのみ設けられ、前記定着ベルトの一方側にのみ設けられた前記ベルトガイドの窓は、複数設けられる、請求項2に記載の画像形成装置の定着装置。
【請求項7】
請求項1~6のいずれか1項に記載の定着装置を備えた画像形成装置。
発明の詳細な説明
【技術分野】
【0001】
本開示は、画像形成装置の定着装置及び画像形成装置に関する。
続きを表示(約 1,100 文字)
【背景技術】
【0002】
従来、画像形成装置の定着装置における定着ベルトの蛇行検知装置として、定着ベルトが一方側に蛇行すると、定着ベルトの端部が蛇行検知センサに接触することで定着ベルトの蛇行検知が行われていた。そのような定着ベルトの蛇行検知装置が、例えば、特開2017-49513号公報に開示されている。
【先行技術文献】
【特許文献】
【0003】
特開2017-49513号公報
【発明の概要】
【発明が解決しようとする課題】
【0004】
従来の定着ベルトの蛇行検知装置は上記のように構成されていた。しかしながら、このような定着ベルトの蛇行検知装置では、定着ベルトの端部と定着ベルトの蛇行検知センサとが接触することで定着ベルトの端部へダメージが生じる可能性があった。一方、光透過型のセンサを利用した定着ベルトの蛇行検知装置も存在するが、蛇行検知装置として発光センサと受光センサとの2つのセンサを取付ける必要があり、構成が複雑になるという問題もあった。
【0005】
本開示は上記のような問題点を解消するためになされたもので、定着ベルトの端部へダメージが生じることなく、且つ構成が簡単な蛇行検知装置を有する画像形成装置の定着装置及び画像形成装置を提供することを目的とする。
【課題を解決するための手段】
【0006】
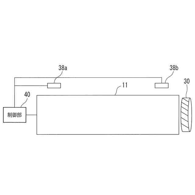
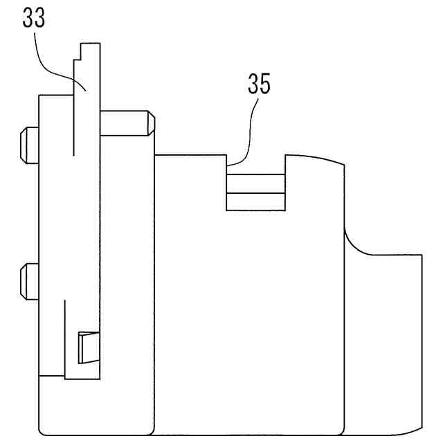
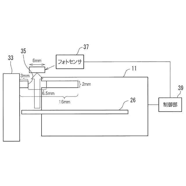
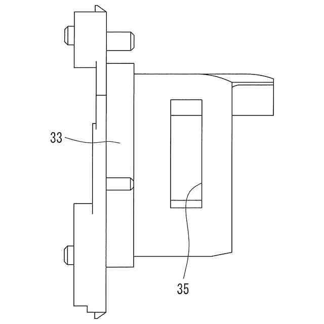
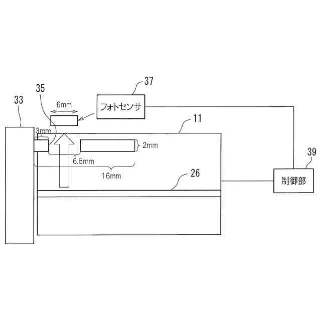
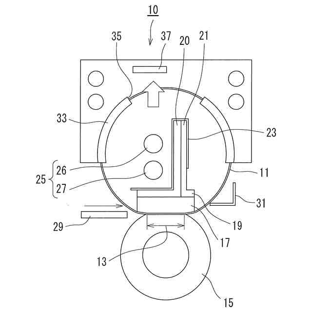
本開示に係る画像形成装置の定着装置は、定着ベルトと、定着ベルトを回転可能に保持するベルトガイドと、定着ベルト内に設けられ光を発する熱源と、定着ベルト外に設けられ光を検知する光検知部と、光検知部の検知結果に応じて定着ベルトの蛇行を制御する蛇行制御手段と、を含む。
【0007】
好ましくは、ベルトガイドには窓が設けられ、窓に対向する位置に光検知部が配置され、熱源はベルトガイド内部において、定着ベルトの軸方向に配置され、光検知部が光を検知したときに定着ベルトの蛇行を判定し、蛇行制御手段は定着ベルトの蛇行を制御する。
【0008】
熱源が発光しているときにのみ蛇行制御手段の定着ベルトの蛇行の制御が有効になるようにしてもよい。
【0009】
ベルトガイドは定着ベルトの軸方向の両端部に設けられ、定着ベルトが軸方向中央に位置しているとき、ベルトガイドの窓はいずれも定着ベルトにより閉塞されるのが好ましい。
【0010】
光検知部は定着ベルトの軸方向の両端部に設けられ、両端部の光検知部が光を検知したとき、定着ベルトが破損していると判断してもよい。
(【0011】以降は省略されています)
この特許をJ-PlatPat(特許庁公式サイト)で参照する
関連特許
シャープ株式会社
送風機
12日前
シャープ株式会社
通信装置
14日前
シャープ株式会社
表示装置
12日前
シャープ株式会社
加熱機器
26日前
シャープ株式会社
端末装置
28日前
シャープ株式会社
表示装置
1か月前
シャープ株式会社
筐体構造
26日前
シャープ株式会社
端末装置
1か月前
シャープ株式会社
走行装置
1か月前
シャープ株式会社
通信端末
1か月前
シャープ株式会社
表示装置
27日前
シャープ株式会社
表示装置
12日前
シャープ株式会社
画像形成装置
28日前
シャープ株式会社
画像形成装置
21日前
シャープ株式会社
画像形成装置
21日前
シャープ株式会社
アンテナ装置
27日前
シャープ株式会社
画像形成装置
7日前
シャープ株式会社
画像形成装置
1か月前
シャープ株式会社
イオン発生装置
1か月前
シャープ株式会社
緩衝材及び梱包体
28日前
シャープ株式会社
回収装置及び清掃具
1か月前
シャープ株式会社
回収装置及び清掃具
1か月前
シャープ株式会社
回収装置及び清掃具
1か月前
シャープ株式会社
通信装置および制御方法
1か月前
シャープ株式会社
端末装置および通信方法
13日前
シャープ株式会社
端末装置および測定方法
23日前
シャープ株式会社
端末装置および通信方法
1か月前
シャープ株式会社
トナー及びその製造方法
1か月前
シャープ株式会社
端末および端末の制御方法
1か月前
シャープ株式会社
決済システム及び決済方法
29日前
シャープ株式会社
情報処理装置及び設定方法
26日前
シャープ株式会社
動画像符号化装置、復号装置
26日前
シャープ株式会社
風向変更板、及び空気調和機
今日
シャープ株式会社
動画像符号化装置、復号装置
29日前
シャープ株式会社
給紙装置および画像形成装置
1か月前
シャープ株式会社
定着装置および画像形成装置
1か月前
続きを見る
他の特許を見る