TOP
|
特許
|
意匠
|
商標
特許ウォッチ
Twitter
他の特許を見る
10個以上の画像は省略されています。
公開番号
2025143622
公報種別
公開特許公報(A)
公開日
2025-10-02
出願番号
2024042945
出願日
2024-03-19
発明の名称
回収装置及び清掃具
出願人
シャープ株式会社
代理人
個人
,
個人
主分類
A47L
9/28 20060101AFI20250925BHJP(家具;家庭用品または家庭用設備;コーヒーひき;香辛料ひき;真空掃除機一般)
要約
【課題】掃除機からゴミを自動回収することができるが、望ましくないタイミングに掃除機からゴミを回収することを抑制することができる回収装置及び清掃具を提供する。
【解決手段】回収装置は、着脱部と、前記掃除機からゴミを回収する回収部と、操作部と、制御部と、を備え、前記制御部は、設定が第1の設定である場合は、前記掃除機が前記着脱部に装着されたときに前記回収部に前記ゴミを回収することを開始させず、前記設定が第2の設定である場合は、前記掃除機が前記着脱部に装着されたときに前記回収部に前記ゴミを回収することを開始させ、前記操作部への操作が行われた場合は、前記設定を前記第1の設定と前記第2の設定との間で切り替え、前記回収部に前記ゴミを回収させている間に前記操作部への前記操作が行われた場合は、前記回収部に前記ゴミを回収することを終了させる。
【選択図】図9
特許請求の範囲
【請求項1】
掃除機が着脱される着脱部と、
前記掃除機が前記着脱部に装着されているか否かを検知する装着検知部と、
前記掃除機からゴミを回収する回収部と、
操作部と、
制御部と、
を備え、
前記制御部は、
設定が第1の設定である場合は、前記掃除機が前記着脱部に装着されたことが前記装着検知部により検知されたときに前記回収部に前記ゴミを回収することを開始させず、
前記設定が第2の設定である場合は、前記掃除機が前記着脱部に装着されたことが前記装着検知部により検知されたときに前記回収部に前記ゴミを回収することを開始させ、
前記操作部への操作が行われた場合は、前記設定を前記第1の設定と前記第2の設定との間で切り替え、
前記回収部に前記ゴミを回収させている間に前記操作部への前記操作が行われた場合は、前記回収部に前記ゴミを回収することを終了させる
回収装置。
続きを表示(約 1,800 文字)
【請求項2】
前記制御部は、前記掃除機が前記着脱部に装着されていることが前記装着検知部により検知されており前記回収部に前記ゴミを回収させていない間に前記操作部への前記操作が行われた場合は、前記回収部に前記ゴミを回収することを開始させる
請求項1に記載の回収装置。
【請求項3】
前記操作部は、ボタンを備え、
前記操作は、前記ボタンを短押しする操作である
請求項1又は2に記載の回収装置。
【請求項4】
前記制御部は、現在時刻が設定された回収許可時間帯の範囲内である場合は、前記装着検知部の検知結果及び前記設定に特定の変化が生じたときに前記回収部に前記ゴミを回収することを開始させ、前記現在時刻が前記設定された回収許可時間帯の範囲外である場合は、前記検知結果及び前記設定に前記特定の変化が生じたときに前記回収部に前記ゴミを回収することを開始させない、
又は、前記制御部は、前記現在時刻が設定された回収禁止時間帯の範囲内である場合は、前記装着検知部の検知結果及び前記設定に特定の変化が生じたときに前記回収部に前記ゴミを回収することを開始させず、前記現在時刻が前記設定された回収禁止時間帯の範囲外である場合は、前記検知結果及び前記設定に前記特定の変化が生じたときに前記回収部に前記ゴミを回収することを開始させる
請求項1又は2に記載の回収装置。
【請求項5】
前記制御部は、前記掃除機が前記着脱部に装着されていないことが前記装着検知部により検知されており前記設定が前記第1の設定である状態から前記掃除機が前記着脱部に装着されていることが前記装着検知部により検知されており前記設定が前記第1の設定である状態への変化が生じた場合は、前記回収部に前記ゴミを回収することを開始させない
請求項1又は2に記載の回収装置。
【請求項6】
前記制御部は、前記掃除機が前記着脱部に装着されていないことが前記装着検知部により検知されており前記設定が前記第1の設定である状態から前記掃除機が前記着脱部に装着されていないことが前記装着検知部により検知されており前記設定が前記第2の設定である状態への変化が生じた場合は、前記回収部に前記ゴミを回収することを開始させない
請求項1又は2に記載の回収装置。
【請求項7】
前記制御部は、前記掃除機が前記着脱部に装着されていないことが前記装着検知部により検知されており前記設定が前記第2の設定である状態から前記掃除機が前記着脱部に装着されていることが前記装着検知部により検知されており前記設定が前記第2の設定である状態への変化が生じた場合は、前記回収部に前記ゴミを回収することを開始させる
請求項1又は2に記載の回収装置。
【請求項8】
前記制御部は、前記掃除機が前記着脱部に装着されていないことが前記装着検知部により検知されており前記設定が前記第2の設定である状態から前記掃除機が前記着脱部に装着されていないことが前記装着検知部により検知されており前記設定が前記第1の設定である状態への変化が生じた場合は、前記回収部に前記ゴミを回収することを開始させない
請求項1又は2に記載の回収装置。
【請求項9】
前記制御部は、前記掃除機が前記着脱部に装着されていることが前記装着検知部により検知されており前記設定が前記第1の設定である状態から前記装着検知部により前記掃除機が前記着脱部に装着されていないことが検知されており前記設定が前記第1の設定である状態への変化が生じた場合は、前記回収部に前記ゴミを回収することを開始させない
請求項1又は2に記載の回収装置。
【請求項10】
前記制御部は、前記掃除機が前記着脱部に装着されていることが前記装着検知部により検知されており前記設定が前記第1の設定である状態から前記掃除機が前記着脱部に装着されていることが前記装着検知部により検知されており前記設定が前記第2の設定である状態への変化が生じた場合は、前記回収部に前記ゴミを回収することを開始させる
請求項1又は2に記載の回収装置。
(【請求項11】以降は省略されています)
発明の詳細な説明
【技術分野】
【0001】
本開示は、回収装置及び清掃具に関する。
続きを表示(約 2,100 文字)
【背景技術】
【0002】
特許文献1は、掃除システムを開示する。当該掃除システムにおいては、電気掃除機が、吸い込んだ塵芥を集塵部に集塵する。電気掃除機は、充電台に載置された際に、集塵部に集塵した塵芥を充電台の塵芥容器に移送する(段落0015及び0021)。
【先行技術文献】
【特許文献】
【0003】
特開2022-146259号公報
【発明の概要】
【発明が解決しようとする課題】
【0004】
特許文献1に開示された掃除システムにおいては、電気掃除機が充電台に載置された場合に集塵部に集塵された塵芥が充電台の塵芥容器に自動的に移送される。このため、塵芥が充電台の塵芥容器に移送されることが望ましくない場合に、塵芥が充電台の塵芥容器に移送されることがある。例えば、掃除システムの付近で幼児が就寝している場合、深夜に電気掃除機が充電台に載置された場合でも、塵芥が充電台の塵芥容器に移送される。
【0005】
本開示の一態様は、この問題に鑑みてなされた。本開示の一態様は、例えば、掃除機からゴミを自動回収することができるが、望ましくないタイミングに掃除機からゴミを回収することを抑制することができる回収装置及び清掃具を提供することを目的とする。
【課題を解決するための手段】
【0006】
本開示の第1の態様の回収装置は、掃除機が着脱される着脱部と、前記掃除機が前記着脱部に装着されているか否かを検知する装着検知部と、前記掃除機からゴミを回収する回収部と操作部と、制御部と、を備え、前記制御部は、設定が第1の設定である場合は、前記掃除機が前記着脱部に装着されたことが前記装着検知部により検知されたときに前記回収部に前記ゴミを回収することを開始させず、前記設定が第2の設定である場合は、前記掃除機が前記着脱部に装着されたことが前記装着検知部により検知されたときに前記回収部に前記ゴミを回収することを開始させ、前記操作部への操作が行われた場合は、前記設定を前記第1の設定と前記第2の設定との間で切り替え、前記回収部に前記ゴミを回収させている間に前記操作部への前記操作が行われた場合は、前記回収部に前記ゴミを回収することを終了させる。
【0007】
本開示の第2の態様の清掃具は、本開示の第1の態様の回収装置と、前記掃除機と、を備える。
【図面の簡単な説明】
【0008】
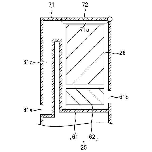
第1実施形態の清掃具を模式的に図示する斜視図である。
第1実施形態の清掃具に備えられる回収装置の内部構造を模式的に図示する断面図である。
第1実施形態の清掃具に備えられる回収装置の制御系のブロック図である。
第1実施形態の清掃具に備えられる回収装置の装着検知部の検知結果及び当該回収装置の制御部により保持される設定の変化と、当該清掃具の状態の変化と、当該回収装置の回収部の運転状態の変化と、の関係を示すテーブルである。
第1実施形態の清掃具に備えられる回収装置の装着検知部の検知結果及び当該回収装置の制御部により保持される設定の変化と、当該清掃具の状態の変化と、当該回収装置の回収部の運転状態の変化と、の関係を示すテーブルである。
第1実施形態の清掃具に備えられる回収装置の装着検知部の検知結果及び当該回収装置の制御部により保持される設定の変化と、当該清掃具の状態の変化と、当該回収装置の回収部の運転状態の変化と、の関係を示すテーブルである。
第1実施形態の清掃具に備えられる回収装置の装着検知部の検知結果及び当該回収装置の制御部により保持される設定の変化と、当該清掃具の状態の変化と、当該回収装置の回収部の運転状態の変化と、の関係を示すテーブルである。
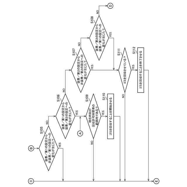
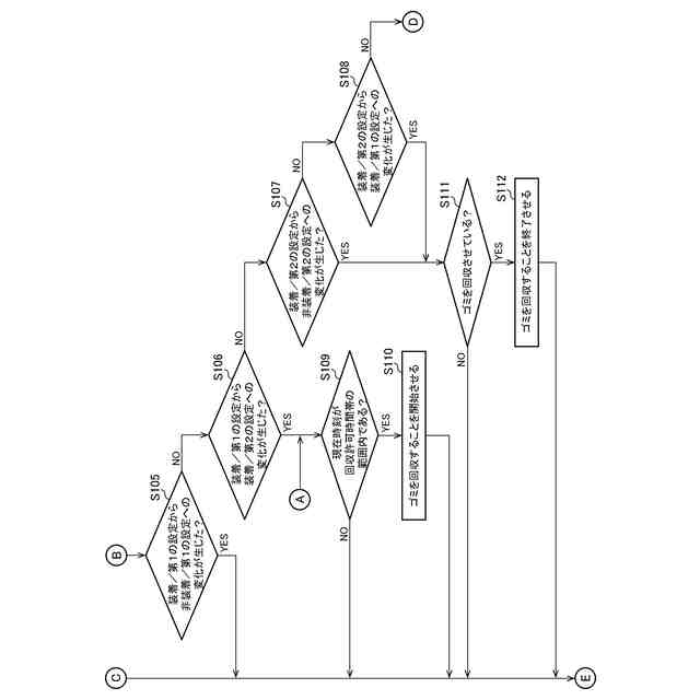
第1実施形態の清掃具に備えられる回収装置の制御部により行われる処理の流れを示すフローチャートである。
第1実施形態の清掃具に備えられる回収装置の制御部により行われる処理の流れを示すフローチャートである。
第1実施形態の清掃具に備えられる回収装置の制御部により行われる処理の流れを示すフローチャートである。
第1実施形態の第1変形例の清掃具に備えられる回収装置の自動回収入/切スイッチの、操作子が第1の位置に配置された状態を模式的に図示する側面図である。
第1実施形態の第1変形例の清掃具に備えられる回収装置の自動回収入/切スイッチの、操作子が第2の位置に配置された状態を模式的に図示する側面図である。
第1実施形態の第2変形例の清掃具に備えられる回収装置の制御部の処理の流れを示すフローチャートである。
【発明を実施するための形態】
【0009】
以下、本開示の実施形態について、図面を参照しつつ説明する。なお、図面については、同一又は同等の要素には同一の符号を付し、重複する説明は省略する。
【0010】
1 第1実施形態
1.1 清掃具
図1は、第1実施形態の清掃具を模式的に図示する斜視図である。
(【0011】以降は省略されています)
この特許をJ-PlatPat(特許庁公式サイト)で参照する
関連特許
シャープ株式会社
送風機
13日前
シャープ株式会社
通信装置
15日前
シャープ株式会社
表示装置
13日前
シャープ株式会社
表示装置
13日前
シャープ株式会社
画像形成装置
8日前
シャープ株式会社
画像形成装置
22日前
シャープ株式会社
画像形成装置
22日前
シャープ株式会社
端末装置および通信方法
14日前
シャープ株式会社
端末装置および測定方法
24日前
シャープ株式会社
風向変更板、及び空気調和機
1日前
シャープ株式会社
表示制御装置及び表示制御方法
1日前
シャープ株式会社
画像処理装置及び表示制御方法
13日前
シャープ株式会社
端末装置、および、基地局装置
1日前
シャープ株式会社
端末装置、および、基地局装置
1日前
シャープ株式会社
塵芥回収装置及び塵芥回収システム
13日前
シャープ株式会社
シート搬送装置および画像形成装置
14日前
シャープ株式会社
端末装置、基地局装置および通信方法
16日前
シャープ株式会社
システム、制御方法、およびプログラム
1日前
シャープ株式会社
画像処理装置及び画像処理装置の制御方法
13日前
シャープ株式会社
後処理装置及びそれを備えた画像形成装置
16日前
シャープ株式会社
後処理装置及びそれを備えた画像形成装置
15日前
シャープ株式会社
端末装置、基地局装置、および、通信方法
1日前
シャープ株式会社
表示装置、電源制御方法、及び電源制御プログラム
21日前
シャープ株式会社
情報処理装置、テレビジョン受像機及び情報処理方法
1日前
シャープ株式会社
ジョブ処理装置、画像処理装置、およびジョブ処理方法
21日前
シャープ株式会社
通信端末、プログラム、遠隔会議方法、遠隔会議システム、及びサーバ
13日前
シャープ株式会社
電子機器設定システム、電子機器設定方法、及び電子機器設定プログラム
15日前
シャープ株式会社
コンテンツ再生装置、コンテンツ再生方法、およびコンテンツ再生プログラム
14日前
シャープ株式会社
画像処理装置および画像処理方法
21日前
シャープ株式会社
画像処理装置、画像処理システム、出力装置、画像処理方法、及び画像処理プログラム
22日前
シャープ株式会社
画像処理装置及び設定履歴の削除制御方法
8日前
シャープディスプレイテクノロジー株式会社
アクティブマトリクス基板、アクティブマトリクス基板の製造方法、および液晶表示装置
13日前
個人
箸
1か月前
個人
家具
4か月前
個人
椅子
3か月前
個人
自助箸
7か月前
続きを見る
他の特許を見る