TOP
|
特許
|
意匠
|
商標
特許ウォッチ
Twitter
他の特許を見る
10個以上の画像は省略されています。
公開番号
2025167596
公報種別
公開特許公報(A)
公開日
2025-11-07
出願番号
2024072378
出願日
2024-04-26
発明の名称
塵芥回収装置及び塵芥回収システム
出願人
シャープ株式会社
代理人
弁理士法人WisePlus
主分類
A47L
9/28 20060101AFI20251030BHJP(家具;家庭用品または家庭用設備;コーヒーひき;香辛料ひき;真空掃除機一般)
要約
【課題】本開示は、掃除機のログ情報を忠実に取得することができる塵芥回収装置及び塵芥回収システムを提供する。
【解決手段】塵芥回収装置は、掃除機と、掃除機と接続可能な集塵ステーションとを備え、掃除機は、集塵ステーションとの間で情報を通信する第一通信部と、第一制御部と、を備え、集塵ステーションは、掃除機との間で情報を通信する第二通信部と、第二制御部と、を備え、第一制御部は、掃除機のログ情報を格納するログ記憶部を備え、第二制御部は、時間情報を格納する時間記憶部を備え、第一制御部又は第二制御部は、ログ情報に時間情報を加算処理する計算部と、計算部が算出した補正ログ情報を格納する補正ログ記憶部と、を備える。
【選択図】図1
特許請求の範囲
【請求項1】
掃除機と、前記掃除機と接続可能な集塵ステーションとを備え、
前記掃除機は、前記集塵ステーションとの間で情報を通信する第一通信部と、第一制御部と、を備え、
前記集塵ステーションは、前記掃除機との間で情報を通信する第二通信部と、第二制御部と、を備え、
前記第一制御部は、前記掃除機のログ情報を格納するログ記憶部を備え、
前記第二制御部は、時間情報を格納する時間記憶部を備え、
前記第一制御部又は前記第二制御部は、前記ログ情報に前記時間情報を加算処理する計算部と、前記計算部が算出した補正ログ情報を格納する補正ログ記憶部と、を備える、塵芥回収装置。
続きを表示(約 1,200 文字)
【請求項2】
前記第二制御部が、前記計算部と、前記補正ログ記憶部と、を備え、
前記第一通信部は、前記集塵ステーションに前記掃除機が接続されると、前記ログ情報を前記第二通信部に送信し、
前記第二制御部は、前記第二通信部が受信した前記ログ情報と前記時間情報とに基づいて前記計算部に加算処理させる、請求項1に記載の塵芥回収装置。
【請求項3】
前記第一制御部は、前記第一通信部が前記ログ情報を前記第二通信部に送信すると、前記ログ記憶部から前記ログ情報を削除する、請求項2に記載の塵芥回収装置。
【請求項4】
前記第一制御部が、前記計算部と、前記補正ログ記憶部と、を備え、
前記第二通信部は、前記集塵ステーションに前記掃除機が接続されると、前記時間情報を前記第一通信部に送信し、
前記第一制御部は、前記ログ情報と前記第一通信部が受信した前記時間情報とに基づいて前記計算部に加算処理させる、請求項1に記載の塵芥回収装置。
【請求項5】
前記時間情報は、前記集塵ステーションに通電が開始されてからの経過時間情報を含む、請求項1~4のいずれかに記載の塵芥回収装置。
【請求項6】
前記集塵ステーションは、実際の時刻を表す絶対時刻情報を出力する時計部を更に備え、
前記時間情報は、前記時計部から出力された絶対時刻情報を含む、請求項1~4のいずれかに記載の塵芥回収装置。
【請求項7】
前記集塵ステーションは、実際の時刻を表す絶対時刻情報を出力する時計部を更に備え、
前記時間情報は、前記時計部から出力された絶対時刻情報を更に含む、請求項5に記載の塵芥回収装置。
【請求項8】
前記掃除機は、実際の時刻を表す絶対時刻情報を出力する時計部を備えない、請求項1~4のいずれかに記載の塵芥回収装置。
【請求項9】
請求項1~4のいずれかに記載の塵芥回収装置と、サーバと、を備え、
前記集塵ステーション及び前記掃除機の少なくとも一方は、前記補正ログ情報を前記サーバに送信する第三通信部を更に備える、塵芥回収システム。
【請求項10】
塵芥回収装置と、サーバと、を備え、
前記塵芥回収装置は、掃除機と、前記掃除機と接続可能な集塵ステーションと、を備え、
前記掃除機は、前記掃除機のログ情報を格納するログ記憶部を備える第一制御部と、前記ログ情報を前記サーバに送信する第四通信部と、を備え、
前記集塵ステーションは、時間情報を格納する時間記憶部を備える第二制御部と、前記時間情報を前記サーバに送信する第五通信部と、を備え、
前記サーバは、前記ログ情報に前記時間情報を加算処理する計算部と、前記計算部が算出した補正ログ情報を格納する補正ログ記憶部と、を備える、塵芥回収システム。
発明の詳細な説明
【技術分野】
【0001】
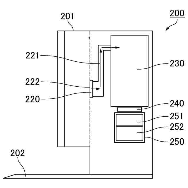
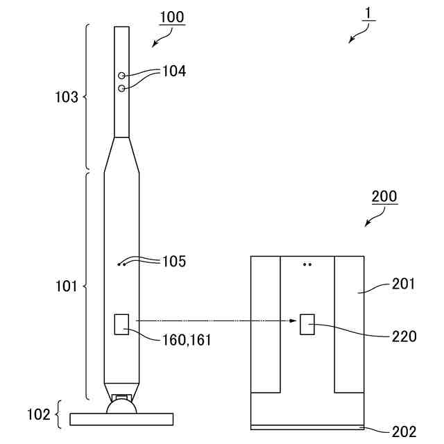
以下の開示は、塵芥回収装置及び塵芥回収システムに関する。
続きを表示(約 1,700 文字)
【背景技術】
【0002】
例えば特許文献1には、人出現領域情報及び現在位置情報等に基づいて掃除するよう制御された自律走行型掃除機が開示されており、この自律走行型掃除機が掃除履歴データサービスを備えることが記載されている。
【先行技術文献】
【特許文献】
【0003】
特開2021-29487号公報
【発明の概要】
【発明が解決しようとする課題】
【0004】
近年、掃除機のユーザによる操作状況やエラー等のログ情報を掃除機に保持させ、その情報を用いて修理や各種サービス等に役立てる試みがなされている。しかしながら、従来の掃除機は、コスト等を考慮して時計機能を有しないものが多い。そのため、掃除機のログ情報は、事象のみが記録されるか、又は、掃除機の電源オンからオフまでの時間内でのみ記録される。だが、掃除機の通電期間内の記録だけでは修理やサービスに役立てるには充分ではない。また、従来の掃除機は、記録容量が小さいために数件程度の情報しか保持することができず、サービスや修理を行うために時間を要していた。
【0005】
ログ情報を記憶可能な掃除機として、例えば一般的なコードレス型掃除機を例に挙げて、ユーザがこの掃除機を用いた場合の操作とログ情報の一例を表1に示す。
【0006】
TIFF
2025167596000002.tif
50
156
【0007】
ユーザはまず、バッテリを掃除機(本体)に装着する(ステップS11)。これにより、掃除機の制御部への通電が開始される。制御部は、この時の時刻を基準時刻(0:00:00、即ち0時0分0秒)とし、この基準時刻から制御部への通電が停止された時刻(0:02:35)までに生じた各事象を記録する(ステップS12~S15)。この掃除機では、ユーザが停止ボタンを押下する等して掃除機の運転を停止して一定時間(例えば5秒)経過後に、制御部への通電が自動で停止するよう制御されている(ステップS14~S15)。制御部への通電が停止すると、制御部の時刻がリセットされるため、その後にユーザがバッテリを掃除機から取り外し充電して掃除機に再装着すると(ステップS16~S17)、制御部は、通電が再度開始された時の時刻を再び基準時刻(0:00:00)として、その後の各事象を記録する(ステップS18)。
【0008】
なお、バッテリ装着後、所定時間内に運転開始ボタン(例えば弱ボタン等)が押し下げされない場合、制御部は自身への通電を切り、非通電とする。このようにバッテリが装着された状態でかつ非通電状態では、ユーザが運転を開始するために運転開始ボタンを押すと、制御部に通電が開始される。制御部は、この時の時刻を基準時刻(0:00:00、即ち0時0分0秒)とし、この基準時刻から制御部への通電が停止された時刻までに生じた各事象を記録する。
【0009】
このように一般的なコードレス型掃除機では、制御部への通電が停止する(即ち非通電となる)毎に時刻がリセットされるため、制御部は、通電開始から通電停止までの時間とその間の運転状況しか保持することができず、掃除機の電源オフ期間内の事象を記録することはできない。制御部が記録した事象についても、基準時刻が複数存在するため、どの時点で行われた事象であるのか不明である。また、コードレス型掃除機は、ユーザが手で把持して掃除を行うものであるため、軽量化が求められる。それゆえ、掃除機に搭載できる記憶部が小さくならざるを得ず、よって掃除機は、数件程度の事象しか記録することができない。
【0010】
特許文献1に記載の自律走行型掃除機は、掃除履歴データベースに、掃除の日時を示す日時情報と、掃除強度とを含む掃除履歴情報を格納することができる。だが、ログ情報をより忠実に取得するとともに、低消費電力化や低コスト化、軽量化を達成できるようにするための工夫の余地があった。
(【0011】以降は省略されています)
この特許をJ-PlatPat(特許庁公式サイト)で参照する
関連特許
シャープ株式会社
送風機
6日前
シャープ株式会社
端末装置
27日前
シャープ株式会社
走行装置
27日前
シャープ株式会社
表示装置
1か月前
シャープ株式会社
加熱機器
20日前
シャープ株式会社
端末装置
22日前
シャープ株式会社
表示装置
6日前
シャープ株式会社
表示装置
6日前
シャープ株式会社
通信端末
29日前
シャープ株式会社
筐体構造
20日前
シャープ株式会社
通信装置
8日前
シャープ株式会社
表示装置
21日前
シャープ株式会社
画像形成装置
1日前
シャープ株式会社
画像形成装置
22日前
シャープ株式会社
画像形成装置
15日前
シャープ株式会社
画像形成装置
15日前
シャープ株式会社
アンテナ装置
21日前
シャープ株式会社
画像形成装置
1か月前
シャープ株式会社
イオン発生装置
27日前
シャープ株式会社
緩衝材及び梱包体
22日前
シャープ株式会社
端末装置および通信方法
28日前
シャープ株式会社
トナー及びその製造方法
1か月前
シャープ株式会社
端末装置および通信方法
7日前
シャープ株式会社
端末装置および測定方法
17日前
シャープ株式会社
情報処理装置及び設定方法
20日前
シャープ株式会社
決済システム及び決済方法
23日前
シャープ株式会社
端末および端末の制御方法
1か月前
シャープ株式会社
動画像符号化装置、復号装置
20日前
シャープ株式会社
給紙装置および画像形成装置
28日前
シャープ株式会社
動画像符号化装置、復号装置
23日前
シャープ株式会社
定着装置および画像形成装置
28日前
シャープ株式会社
端末装置、および、基地局装置
22日前
シャープ株式会社
画像処理装置及び表示制御方法
6日前
シャープ株式会社
端末装置、および、基地局装置
28日前
シャープ株式会社
給油管理装置、及び給油システム
20日前
シャープ株式会社
端末装置、方法、および、集積回路
22日前
続きを見る
他の特許を見る