TOP
|
特許
|
意匠
|
商標
特許ウォッチ
Twitter
他の特許を見る
10個以上の画像は省略されています。
公開番号
2025171282
公報種別
公開特許公報(A)
公開日
2025-11-20
出願番号
2024076450
出願日
2024-05-09
発明の名称
加熱調理器
出願人
シャープ株式会社
代理人
個人
,
個人
,
個人
主分類
F24C
7/02 20060101AFI20251113BHJP(加熱;レンジ;換気)
要約
【課題】加熱調理器本体の奥部の奥行き寸法を短くすることができる加熱調理器を提供する。
【解決手段】加熱調理室100と、筐体10と、高圧トランス35とを備える。加熱調理室50は、被加熱物を加熱する。筐体10は、加熱調理室50を収容する。高圧トランス35は、加熱調理室50と筐体10との間に配置される。加熱調理室50は、水平方向に交差する後壁55を有する。筐体10は、後壁55に対向する縦外壁を有する。高圧トランス35は、本体部351と、張出部352とを有する。本体部351は、後外壁15と後壁55との間に配置される。張出部352は、後外壁15から後壁55に向かう第2方向D2に本体部351から張り出す。張出部352の少なくとも一部は、加熱調理室50の第2方向D2と反対方向の端部50aよりも第2方向D2に位置する。
【選択図】図7
特許請求の範囲
【請求項1】
被加熱物を加熱する加熱調理室と、
前記加熱調理室を収容する筐体と、
前記加熱調理室と前記筐体との間に配置される電気部品と
を備え、
前記加熱調理室は、水平方向に交差する縦壁を有し、
前記筐体は、前記縦壁に対向する縦外壁を有し、
前記電気部品は、
前記縦外壁と前記縦壁との間に配置される本体部と、
前記縦外壁から前記縦壁に向かう第1方向に前記本体部から張り出す張出部と
を有し、
前記張出部の少なくとも一部は、前記加熱調理室の前記第1方向と反対方向の第2方向の端部よりも前記第1方向に位置する、加熱調理器。
続きを表示(約 1,300 文字)
【請求項2】
前記加熱調理室は、前記縦壁に連結される下壁を有し、
前記筐体は、前記縦外壁に連結され、前記下壁に対向する下外壁を有し、
前記電気部品は、前記下外壁に支持される、請求項1に記載の加熱調理器。
【請求項3】
前記加熱調理室は、被加熱物が通過される開口をさらに有し、
前記縦壁は、前記開口に対向する後壁である、請求項1または請求項2に記載の加熱調理器。
【請求項4】
前記加熱調理室は、前記縦壁に連結される下壁を有し、
前記筐体は、前記縦外壁に連結され、前記下壁に対向する下外壁を有し、
前記縦壁は、前記加熱調理室の前記第2方向の端部を構成するとともに、前記下壁から前記下外壁まで延びる延長部を有し、
前記延長部は、第1開口を有し、
前記張出部は、前記第1開口に対して前記第1方向に向けて挿通される、請求項1または請求項2に記載の加熱調理器。
【請求項5】
前記縦壁と前記縦外壁との間に配置される冷却ファンをさらに備え、
前記筐体は、
前記筐体の外部から前記筐体と前記加熱調理室との間に空気を吸込む吸込口と、
前記筐体と前記加熱調理室との間から外部に前記空気を吹出す吹出口と
を有し、
前記冷却ファンは、前記吸込口から吸込まれた前記空気を前記第1開口に通過させて前記吹出口に送る、請求項4に記載の加熱調理器。
【請求項6】
前記下外壁は、
下外壁本体と、
前記下外壁本体から前記加熱調理室に向けて突出する段差部と、
前記第2方向に向けて開口する第2開口と
を有し、
前記第2開口は、前記段差部の前記第2方向の端部と、前記段差部の前記第2方向の端部に対応する前記下外壁本体の端部とによって構成され、
前記張出部は、前記第2開口に挿通される、請求項2に記載の加熱調理器。
【請求項7】
弾性を有する弾性部材をさらに備え、
前記加熱調理室は、前記縦壁に連結される下壁を有し、
前記縦壁は、前記下壁が接続される接続領域を有し、
前記下壁の前記第2方向の端部は、前記縦壁の前記接続領域に固定され、
前記弾性部材は、前記電気部品と前記接続領域との間において、前記電気部品と前記接続領域とに接触する、請求項1または請求項2に記載の加熱調理器。
【請求項8】
前記縦壁の前記接続領域は、前記第1方向に向けて凹む凹部を有し、
前記凹部は、前記弾性部材の一部を収容する、請求項7に記載の加熱調理器。
【請求項9】
前記弾性部材は、前記電気部品の振動を減衰させる減衰部材を有し、
前記電気部品は、トランスを有する、請求項7に記載の加熱調理器。
【請求項10】
前記トランスは、
巻き軸と、
前記巻き軸の回りに巻回されたコイルと
を有し、
前記巻き軸は、前記第1方向に沿って配置される、請求項9に記載の加熱調理器。
発明の詳細な説明
【技術分野】
【0001】
本発明は、加熱調理器に関する。
続きを表示(約 1,700 文字)
【背景技術】
【0002】
特許文献1に開示される加熱調理器は、マイクロ波を発生するマグネトロンと、加熱調理室と、複数の電気部品とを備える。複数の電気部品は、冷却ファンと、高圧トランスとを含む。冷却ファンと、高圧トランスとを含む複数の電気部品は、加熱調理器本体の奥部に配置される。
【先行技術文献】
【特許文献】
【0003】
特開2010-181112号公報
【発明の概要】
【発明が解決しようとする課題】
【0004】
特許文献1の加熱調理器において、加熱調理器本体の奥部の奥行き寸法は、高圧トランスと冷却ファンとの配置位置と姿勢とを組み合わせることにより、短くされる。しかしながら、さらに加熱調理器本体の奥部の奥行き寸法を短くする場合、加熱調理器本体の奥部に対する隔壁(加熱室の奥板)と電気部品の一部とが干渉する虞がある。即ち、加熱調理器本体の奥部の奥行き寸法を短くすることは容易ではない。
【0005】
本発明は、上記課題に鑑み、加熱調理器本体の奥部の奥行き寸法を短くできる加熱調理器を提供することを目的とする。
【課題を解決するための手段】
【0006】
本発明の一局面によれば、加熱調理器は、加熱調理室と、筐体と、電気部品とを備える。前記加熱調理室は、被加熱物を加熱する。前記筐体は、前記加熱調理室を収容する。前記電気部品は、前記加熱調理室と前記筐体との間に配置される。前記加熱調理室は、水平方向に交差する縦壁を有する。前記筐体は、前記縦壁に対向する縦外壁を有する。前記電気部品は、本体部と、張出部とを有する。前記本体部は、前記縦外壁と前記縦壁との間に配置される。前記張出部は、前記縦外壁から前記縦壁に向かう第1方向に前記本体部から張り出す。前記張出部の少なくとも一部は、前記加熱調理室の前記第1方向と反対方向の第2方向の端部よりも前記第1方向に位置する。
【発明の効果】
【0007】
本発明の加熱調理器によれば、加熱調理器本体の奥部の奥行き寸法を短くすることができる。
【図面の簡単な説明】
【0008】
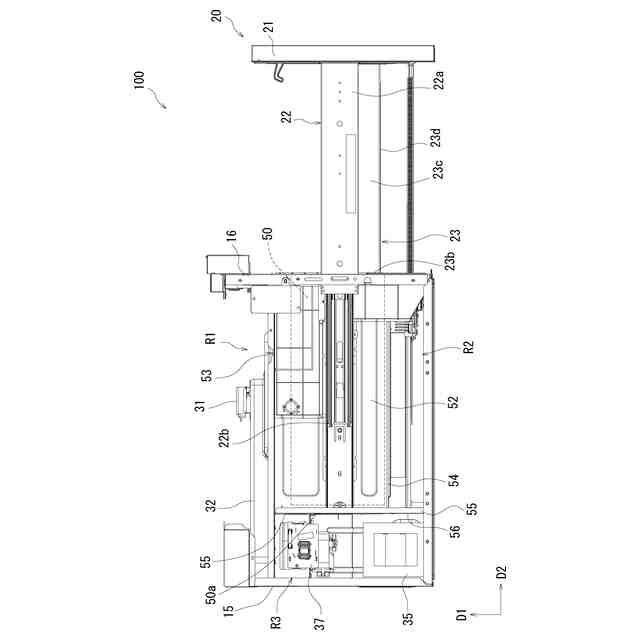
本発明の実施形態に係る加熱調理器の斜視図である。
図1とは別の方向から視た本実施形態に係る加熱調理器の斜視図である。
本実施形態に係る加熱調理器の左側面を示す図である。
本実施形態に係る筐体が取り除かれた状態の加熱調理器を示す斜視図である。
図4とは別の方向から視た本実施形態に係る筐体が取り除かれた状態の加熱調理器を示す斜視図である。
本実施形態に係る筐体が一部取り除かれた状態の加熱調理器の左側面を示す図である。
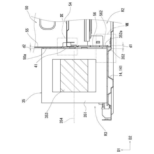
高圧トランスの配置形態を示す側面図である。
図7の領域VIIIの拡大図である。
図7の領域IXの拡大図である。
高圧トランスの設置手順を示す図である。
変形例に係る高圧トランスの配置形態を示す側面図である。
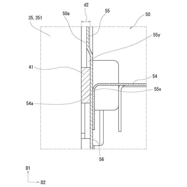
図11の領域XIIの拡大図である。
別の変形例に係る高圧トランスの配置形態を示す側面図である。
【発明を実施するための形態】
【0009】
以下、図面を参照して、本発明に係る加熱調理器の実施形態について説明する。なお、図中、同一または相当部分については同一の参照符号を付して説明を繰り返さない。
【0010】
図1および図2を参照して、本実施形態に係る加熱調理器100について説明する。図1および図2は、本発明の実施形態に係る加熱調理器100の斜視図である。詳しくは、図1は、加熱調理器100を左斜め前の下方から観た外観を示す。図2は、加熱調理器100を右斜め後の上方から観た外観を示す。図1および図2に示すように、加熱調理器100は、引出し式加熱調理器である。加熱調理器100は、被加熱物を加熱調理する。被加熱物は、例えば、食品である。加熱調理器100は、筐体10と、引出し体20と、操作パネル30とを備える。
(【0011】以降は省略されています)
この特許をJ-PlatPat(特許庁公式サイト)で参照する
関連特許
他の特許を見る