TOP
|
特許
|
意匠
|
商標
特許ウォッチ
Twitter
他の特許を見る
公開番号
2025170903
公報種別
公開特許公報(A)
公開日
2025-11-20
出願番号
2024075750
出願日
2024-05-08
発明の名称
空気調和機
出願人
シャープ株式会社
代理人
個人
,
個人
,
個人
主分類
F24F
13/20 20060101AFI20251113BHJP(加熱;レンジ;換気)
要約
【課題】検知部又は報知部のメンテナンスを容易に実行できる空気調和機を提供する。
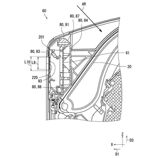
【解決手段】空気調和機1000は、本体の前面側に、空調運転を制御する電子制御部品61を収容する電装ボックス60を備える。空気調和機1000は、検知部201及び/又は報知部を有する。検知部201は、部屋又はユーザに関する物理量を検知する。報知部は、ユーザに対して情報を報知する。電装ボックス60は、前壁83と、前壁83に配置された第1開口部93とを有する。検知部201及び/又は報知部は、電装ボックス60に収容され、かつ、第1開口部93に対向する。
【選択図】図4
特許請求の範囲
【請求項1】
本体の前面側に、空調運転を制御する電子制御部品を収容する電装ボックスを備えた空気調和機であって、
部屋又はユーザに関する物理量を検知する検知部及び/又はユーザに対して情報を報知する報知部を有し、
前記電装ボックスは、
前壁と、
前記前壁に配置された第1開口部と
を有し、
前記検知部及び/又は前記報知部は、前記電装ボックスに収容され、かつ、前記第1開口部に対向する、空気調和機。
続きを表示(約 540 文字)
【請求項2】
前記検知部及び/又は前記報知部の前面は、前記空気調和機が取り付けられる前記部屋の壁面に平行である、又は第1方向と反対方向に向かって斜め下方に延び、
前記第1方向は、前記本体の後面側から前記電装ボックスに向かう方向を示す、請求項1に記載の空気調和機。
【請求項3】
前記第1開口部より小さい第2開口部を有するオープンパネルを更に備え、
前記オープンパネルは、前記電装ボックスの前記前壁に対向する第1位置と、前記電装ボックスの前記前壁を開放する第2位置とに移動可能であり、
前記オープンパネルが前記第1位置に位置したときに、前記第2開口部は前記第1開口部と対向する、請求項1又は請求項2に記載の空気調和機。
【請求項4】
第1壁と、
第2方向において前記第1壁と対向する第2壁と、
光を出射する表示灯と
を更に備え、
前記第2方向は、前記第1方向と交差するとともに、鉛直方向と交差し、
前記第2方向において、
前記検知部及び/又は前記報知部は、前記電装ボックスの中央部に配置され、
前記表示灯は、前記前壁の端部に配置される、請求項2に記載の空気調和機。
発明の詳細な説明
【技術分野】
【0001】
本発明は、空気調和機に関する。
続きを表示(約 1,400 文字)
【背景技術】
【0002】
電装ユニットを備える空気調和機が開示されている(例えば、特許文献1)。特許文献1に記載の空気調和機は、送風ファンと、熱交換器と、フィルタと、電装ユニットとを備える。熱交換器は、送風ファンの前方に配置される。フィルタは、熱交換器の上流側に配置される。電装ユニットは、フィルタと所定間隔を開けて設けられている。
【先行技術文献】
【特許文献】
【0003】
特開2012-207910号公報
【発明の概要】
【発明が解決しようとする課題】
【0004】
特許文献1に記載の空気調和機では、電装ユニット内の電子制御部品に接続された検知部と報知部とを備える。電装ユニットと離間された位置に、検知部と報知部とが置かれていた。その結果、検知部と報知部とのメンテナンスを実行するために、電装ユニット内の電子制御部品にも別途アクセスする必要があった。
【0005】
本発明は上記課題に鑑みてなされたものであり、検知部又は報知部のメンテナンスを容易に実行できる空気調和機を提供することを目的とする。
【課題を解決するための手段】
【0006】
本発明の一局面によれば、空気調和機は、本体の前面側に、空調運転を制御する電子制御部品を収容する電装ボックスを備える。前記空気調和機は、検知部及び/又は報知部を有する。前記検知部は、部屋又はユーザに関する物理量を検知する。前記報知部は、ユーザに対して情報を報知する。前記電装ボックスは、前壁と、前記前壁に配置された第1開口部とを有する。前記検知部及び/又は前記報知部は、前記電装ボックスに収容され、かつ、前記第1開口部に対向する。
【発明の効果】
【0007】
本発明の空気調和機によれば、電装ボックスは、本体の前面側に配置される。本体の前面側は、部屋又はユーザに近接する。検知部及び/又は報知部は、電装ボックスに収容されるため、検知部及び/又は報知部と電子制御部品とは、部屋又はユーザに近接する。その結果、検知部及び/又は報知部のメンテナンスを容易に実行できる。また、障害物がないため、検知部は、正確に物理量を検知できる。或いは、ユーザは、報知部の情報を認識できる。
【図面の簡単な説明】
【0008】
本発明の実施形態に係る空気調和機の構成を示す図である。
本実施形態に係る室内機を示す断面図である。
本実施形態に係る電装ボックスを示す斜視図である。
本実施形態に係る電装ボックスを示す断面図である。
本実施形態に係る室内機を示す斜視図である。
【発明を実施するための形態】
【0009】
以下、本発明の実施形態について、図面を参照しながら説明する。なお、図中、同一又は相当部分については同一の参照符号を付して説明を繰り返さない。
【0010】
図1を参照して、本発明の実施形態に係る空気調和機1000を説明する。図1は、本発明の実施形態に係る空気調和機1000の構成を示す図である。図1に示すように、空気調和機1000は、空気の性質を調整する。なお、本実施形態では、図中に、互いに直交するX軸、Y軸及びZ軸を示す。Z軸は鉛直方向に平行であり、X軸及びY軸は水平方向に平行である。
(【0011】以降は省略されています)
この特許をJ-PlatPat(特許庁公式サイト)で参照する
関連特許
他の特許を見る