TOP
|
特許
|
意匠
|
商標
特許ウォッチ
Twitter
他の特許を見る
10個以上の画像は省略されています。
公開番号
2025159810
公報種別
公開特許公報(A)
公開日
2025-10-22
出願番号
2024062587
出願日
2024-04-09
発明の名称
画像形成装置
出願人
シャープ株式会社
代理人
個人
主分類
B41J
29/13 20060101AFI20251015BHJP(印刷;線画機;タイプライター;スタンプ)
要約
【課題】安全かつ容易に持ち上げて移動させることができる画像形成装置を提供する。
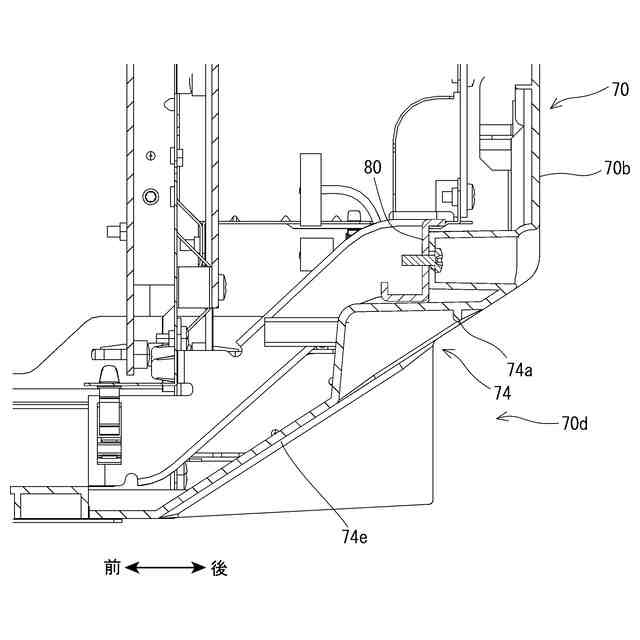
【解決手段】画像形成装置10は、画像形成部(30)を収納する筐体70、および筐体の一方側部に設けられた一対の第1把手を備える。第1把手は、筐体の一方側面の前端部に設けられた溝状の第1把持部72と、筐体の背面の一方側面側の端部に設けられた溝状の第2把持部74とを含む。また、画像形成装置は、筐体の背面に形成されかつ筐体の一方側面側に開放された窪み部70dを備え、この窪み部の天面に第2把持部が設けられる。
【選択図】図2
特許請求の範囲
【請求項1】
画像形成部が収納された筐体を備える画像形成装置であって、
前記筐体の一方側部において、当該筐体の下端から所定間隔の高さ位置に設けられた一対の第1把手を備え、
前記一対の第1把手は、
前記筐体の一方側面の前端部に設けられ、前後方向に延びる溝状に形成された第1把持部、および
前記筐体の背面の前記一方側面側の端部に設けられ、左右方向に延びる溝状に形成された第2把持部を含み、
前記筐体の背面に設けられ、かつ前記一方側面側に開放された窪み部を備え、
前記第2把持部は、前記窪み部の天面に設けられている、画像形成装置。
続きを表示(約 380 文字)
【請求項2】
前記窪み部の天面は、後方に向かって上り勾配となる傾斜面を有し、
前記第2把持部は、前記傾斜面に設けられている、請求項1記載の画像形成装置。
【請求項3】
前記第1把持部と前記第2把持部とは、同じ高さ位置に設けられている、請求項1または2記載の画像形成装置。
【請求項4】
前記筐体の他側部において、当該筐体の下端から所定間隔の高さ位置に設けられた一対の第2把手を備える、請求項1または2記載の画像形成装置。
【請求項5】
前記第2把持部は、前記一方側面まで延伸されて当該一方側面側にも開放されている、請求項1または2記載の画像形成装置。
【請求項6】
前記第2把持部の周辺位置に設けられ、当該第2把持部の位置を示す位置報知部を備える、請求項1または2記載の画像形成装置。
発明の詳細な説明
【技術分野】
【0001】
この開示は、画像形成装置に関し、特にたとえば、画像形成部が収容された筐体の側部に一対の把手を備える、画像形成装置に関する。
続きを表示(約 1,400 文字)
【背景技術】
【0002】
従来の画像形成装置の一例が特許文献1に開示される。特許文献1の技術では、装置の構成物が略直方体型の筐体内に収められ、装置を持ち運ぶための凹状の一対の第1取手(把手)が筐体の一側面に形成され、凹状の一対の第2取手が筐体の他側面に形成されている。そして、第1取手は、筐体内で高さ方向において上下に配置される転写装置および光走査装置の間の空間に配置され、第2取手は、筐体の底部に配置される。
【先行技術文献】
【特許文献】
【0003】
特開2015-18089号公報
【発明の概要】
【発明が解決しようとする課題】
【0004】
特許文献1の技術では、同じ側面に一対の把手が形成されており、これら把手どうしの距離も近いので、画像形成装置を持ち上げる際に前後(右手側と左手側)のバランスを取ることが難しく、画像形成装置を転倒させてしまう恐れがある。また、他側面側の把手(第2取手)が筐体の底部(下端)に配置されるので、把手に手指を入れ難い上、設置面との間に手指を挟み込んでしまう恐れもある。
【0005】
それゆえに、この開示の主たる目的は、新規な、画像形成装置を提供することである。
【0006】
この開示の他の目的は、安全かつ容易に持ち上げて移動させることができる、画像形成装置を提供することである。
【課題を解決するための手段】
【0007】
第1の開示は、画像形成部が収納された筐体を備える画像形成装置であって、筐体の一方側部において、当該筐体の下端から所定間隔の高さ位置に設けられた一対の第1把手を備え、一対の第1把手は、筐体の一方側面の前端部に設けられ、前後方向に延びる溝状に形成された第1把持部、および筐体の背面の一方側面側の端部に設けられ、左右方向に延びる溝状に形成された第2把持部を含み、筐体の背面に設けられかつ一方側面側に開放された窪み部を備え、第2把持部は、窪み部の天面に設けられている、画像形成装置である。
【0008】
第1の開示によれば、第1把持部と第2把持部とが離れた位置に配置されるので、画像形成装置を持ち上げる際に前後(右手側と左手側)のバランスを取り易い。特に、第2把持部を筐体の背面に設けることで、画像形成装置を背面側から抱えるようにして持ち上げることができるので、持ち上げて移動させる際の安定性を確保でき、画像形成装置の転倒を適切に防止できる。また、一対の第1把手を筐体の下端から所定間隔の高さ位置に設けたので、第1把持部および第2把持部のそれぞれに手を入れ易くなると共に、設置面との間に手を挟み込むことも防止できる。さらに、筐体の一方側面側に開放された窪み部に第2把持部を設けたので、仮に画像形成装置の背面側が壁であっても、一方側面側から手を入れて第2把持部を把持でき、画像形成装置を容易に移動させることができる。
【0009】
第2の開示は、第1の開示に従属し、窪み部の天面は、後方に向かって上り勾配となる傾斜面を有し、第2把持部は、傾斜面に設けられている。
【0010】
第3の開示は、第1または第2の開示に従属し、第1把持部と第2把持部とは、同じ高さ位置に設けられている。
(【0011】以降は省略されています)
この特許をJ-PlatPat(特許庁公式サイト)で参照する
関連特許
シャープ株式会社
送風機
10日前
シャープ株式会社
端末装置
26日前
シャープ株式会社
走行装置
1か月前
シャープ株式会社
加熱機器
24日前
シャープ株式会社
通信装置
12日前
シャープ株式会社
表示装置
25日前
シャープ株式会社
端末装置
1か月前
シャープ株式会社
筐体構造
24日前
シャープ株式会社
表示装置
10日前
シャープ株式会社
表示装置
10日前
シャープ株式会社
通信端末
1か月前
シャープ株式会社
アンテナ装置
25日前
シャープ株式会社
画像形成装置
1か月前
シャープ株式会社
画像形成装置
26日前
シャープ株式会社
画像形成装置
5日前
シャープ株式会社
画像形成装置
19日前
シャープ株式会社
画像形成装置
19日前
シャープ株式会社
イオン発生装置
1か月前
シャープ株式会社
緩衝材及び梱包体
26日前
シャープ株式会社
端末装置および通信方法
11日前
シャープ株式会社
端末装置および通信方法
1か月前
シャープ株式会社
トナー及びその製造方法
1か月前
シャープ株式会社
端末装置および測定方法
21日前
シャープ株式会社
情報処理装置及び設定方法
24日前
シャープ株式会社
決済システム及び決済方法
27日前
シャープ株式会社
端末および端末の制御方法
1か月前
シャープ株式会社
動画像符号化装置、復号装置
27日前
シャープ株式会社
給紙装置および画像形成装置
1か月前
シャープ株式会社
動画像符号化装置、復号装置
24日前
シャープ株式会社
定着装置および画像形成装置
1か月前
シャープ株式会社
端末装置、および、基地局装置
1か月前
シャープ株式会社
画像処理装置及び表示制御方法
10日前
シャープ株式会社
端末装置、および、基地局装置
26日前
シャープ株式会社
給油管理装置、及び給油システム
24日前
シャープ株式会社
端末装置、方法、および、集積回路
26日前
シャープ株式会社
シート搬送装置および画像形成装置
11日前
続きを見る
他の特許を見る