TOP
|
特許
|
意匠
|
商標
特許ウォッチ
Twitter
他の特許を見る
10個以上の画像は省略されています。
公開番号
2025161612
公報種別
公開特許公報(A)
公開日
2025-10-24
出願番号
2024064947
出願日
2024-04-12
発明の名称
筐体構造
出願人
シャープ株式会社
代理人
弁理士法人 HARAKENZO WORLD PATENT & TRADEMARK
主分類
H05K
5/03 20060101AFI20251017BHJP(他に分類されない電気技術)
要約
【課題】カバー部材を容易に取外すことができる筐体構造を提供する。
【解決手段】筐体構造は、開口部(121)と開口部を覆うカバー部材(2)とを備え、第1端辺(26)を回転軸としてカバー部材を開口部から離間するように回転させることにより開口部が開放され、カバー部材の内壁(25)に設けられる第1係合部(3)と、開口部内に設けられ、第1係合部と係合する第2係合部(4)とをさらに備え、第1係合部はカバー部材の中央部(24c)側から端部(24a、24b)側へ延びている。
【選択図】図10
特許請求の範囲
【請求項1】
開口部と、
前記開口部を覆うカバー部材と、
を備え、
前記カバー部材の第1端辺を回転軸として、前記カバー部材を前記開口部から離間するように回転させることにより、前記開口部が開放される筐体構造であって、
前記カバー部材の内壁に設けられる第1係合部と、
前記開口部内に設けられ、前記第1係合部と係合する第2係合部と、をさらに備え、
前記第1係合部は、前記第1端辺に平行な断面において、前記カバー部材の中央部側から前記カバー部材の端部側へ延びている、筐体構造。
続きを表示(約 750 文字)
【請求項2】
前記カバー部材は、前記第1端辺側と反対側の第2端辺側の中央近傍が持ち上げられることにより、前記カバー部材が回転するとともに、前記カバー部材が撓んで、前記第1係合部が前記カバー部材の前記端部側から前記中央部側へ移動する、請求項1に記載の筐体構造。
【請求項3】
前記第1係合部は、前記第2端辺側に向かって、前記第2係合部と係合する部分が徐々に狭くなる傾斜部を有する、請求項2に記載の筐体構造。
【請求項4】
前記第1係合部は、前記カバー部材に連なる脚部を備え、
前記脚部は、前記第1端辺側にリブを備えている、請求項2または3に記載の筐体構造。
【請求項5】
前記リブは、前記カバー部材の内壁面からの長さが、前記内壁面からの前記脚部の長さの略半分である、請求項4に記載の筐体構造。
【請求項6】
前記リブは、前記脚部の表面から突出し、前記リブが突出する長さは、前記脚部の厚みの約1.5倍の長さである、請求項4に記載の筐体構造。
【請求項7】
前記第2係合部は、前記第1係合部と係合する孔部を備え、前記第1係合部は、前記孔部の周縁部と係合する、請求項1に記載の筐体構造。
【請求項8】
前記開口部内にシャーシ部をさらに備え、
前記第2係合部は、前記シャーシ部の一部を折り曲げて形成される、請求項1に記載の筐体構造。
【請求項9】
表示パネルと、
前記表示パネルの背面側に位置するシャーシと、をさらに備え、
前記開口部は、前記シャーシの背面側に位置し、
前記カバー部材は、前記開口部の背面側に位置する、請求項1に記載の筐体構造。
発明の詳細な説明
【技術分野】
【0001】
本発明は、筐体構造に関する。
続きを表示(約 1,700 文字)
【背景技術】
【0002】
従来、表示装置において、ベゼルや取付用のスタッド等を用いずに、表示パネルとリアカバーとを結合する技術が知られている。例えば、下記の特許文献1には、表示パネルのミドルシャーシの突起部と、リアカバーの爪とを嵌合させることで、表示パネルとリアカバーとを結合する技術が開示されている。
【先行技術文献】
【特許文献】
【0003】
特開2012-34289号公報
【発明の概要】
【発明が解決しようとする課題】
【0004】
しかしながら、上述のような従来技術は、リアカバーから内部に向かって伸びる爪と、ミドルシャーシからリアカバー側へ突出する突起部とが係合することで、表示パネルとリアカバーとを結合している。リアカバーを取外す際は、リアカバーを表示パネルと平行にスライドさせるか、リアカバーの上面部を上側に引っ張るなど、爪と突起部との係合を解除する作業が別途必要となる。このため、リアカバーを容易に取外すことができないという問題がある。
【0005】
本発明の一態様は、上記の問題点に鑑みてなされたものであり、カバー部材を容易に取外すことができる筐体構造を提供することを目的とする。
【課題を解決するための手段】
【0006】
上記の課題を解決するために、本発明の一態様に係る筐体構造は、開口部と、前記開口部を覆うカバー部材と、を備え、前記カバー部材の第1端辺を回転軸として、前記カバー部材を前記開口部から離間するように回転させることにより、前記開口部が開放される筐体構造であって、前記カバー部材の内壁に設けられる第1係合部と、前記開口部内に設けられ、前記第1係合部と係合する第2係合部と、をさらに備え、前記第1係合部は、前記第1端辺に平行な断面において、前記カバー部材の中央側から前記カバー部材の端部側へ延びている。
【発明の効果】
【0007】
本発明の一態様によれば、カバー部材を容易に取外すことができる筐体構造を提供することができる。
【図面の簡単な説明】
【0008】
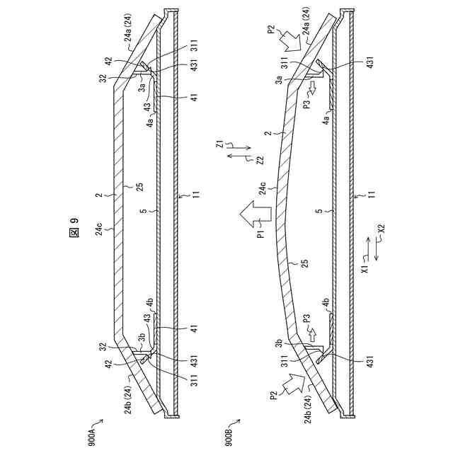
本発明の実施形態1に係る表示装置の外観の一例を示す図である。
表示パネルから取外した状態のリアカバーの一例を示す図である。
リアカバーを取外した状態の表示装置の内部の一例を示す図である。
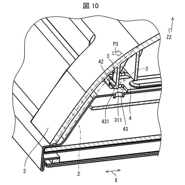
第1係合部の外観の一例を示す斜視図である。
第2係合部の外観の一例を示す斜視図である。
第1係合部と第2係合部との係合状態の一例を示す模式図である。
リアカバーを取付ける際の第1係合部と第2係合部との係合を説明する模式図である。
リアカバーの回転移動の一例を説明する模式図である。
第1係合部の移動の一例を説明する模式図である。
第1係合部の移動の一例を説明する模式図である。
第1係合部の傾斜部の一例を示す図である。
第1係合部の傾斜部について説明する図である。
第1係合部のリブの一例を示す図である。
本発明の実施形態2に係る第2係合部の一例を示す図である。
【発明を実施するための形態】
【0009】
〔実施形態1〕
以下、本発明の実施形態1について、図面を参照して説明する。なお、以下では、本発明に係る筐体構造を、テレビ受像機に係る表示装置1の筐体12に適用した例について説明する。ただし、本発明ではこれに限らず、例えば、コンピュータ等の表示装置の筐体についても適用することができる。また、その他の機器、例えば、DVDレコーダ、ブルーレイディスクレコーダ等の各種レコーダ、サウンドバー等の筐体についても適用可能である。
【0010】
なお、図面は、説明をより明確にするため、実施態様と比較して、各部の幅、厚さ、形状等について模式的に表す場合があるため、図面における各部の幅、厚さ、形状等は本発明を限定するものではない。
(【0011】以降は省略されています)
この特許をJ-PlatPat(特許庁公式サイト)で参照する
関連特許
シャープ株式会社
送風機
11日前
シャープ株式会社
表示装置
26日前
シャープ株式会社
筐体構造
25日前
シャープ株式会社
表示装置
11日前
シャープ株式会社
表示装置
11日前
シャープ株式会社
加熱機器
25日前
シャープ株式会社
通信装置
13日前
シャープ株式会社
画像形成装置
20日前
シャープ株式会社
画像形成装置
20日前
シャープ株式会社
画像形成装置
6日前
シャープ株式会社
端末装置および測定方法
22日前
シャープ株式会社
端末装置および通信方法
12日前
シャープ株式会社
情報処理装置及び設定方法
25日前
シャープ株式会社
動画像符号化装置、復号装置
25日前
シャープ株式会社
画像処理装置及び表示制御方法
11日前
シャープ株式会社
給油管理装置、及び給油システム
25日前
シャープ株式会社
塵芥回収装置及び塵芥回収システム
11日前
シャープ株式会社
シート搬送装置および画像形成装置
12日前
シャープ株式会社
端末装置、基地局装置および通信方法
14日前
シャープ株式会社
後処理装置及びそれを備えた画像形成装置
14日前
シャープ株式会社
後処理装置及びそれを備えた画像形成装置
13日前
シャープ株式会社
画像処理装置及び画像処理装置の制御方法
25日前
シャープ株式会社
画像形成装置の定着装置及び画像形成装置
22日前
シャープ株式会社
画像処理装置及び画像処理装置の制御方法
11日前
シャープ株式会社
3Dデータ復号装置および3Dデータ符号化装置
25日前
シャープ株式会社
3Dデータ復号装置および3Dデータ符号化装置
25日前
シャープ株式会社
表示装置、電源制御方法、及び電源制御プログラム
19日前
シャープ株式会社
ジョブ処理装置、画像処理装置、およびジョブ処理方法
19日前
シャープ株式会社
通信端末、プログラム、遠隔会議方法、遠隔会議システム、及びサーバ
11日前
シャープ株式会社
電子機器設定システム、電子機器設定方法、及び電子機器設定プログラム
13日前
シャープ株式会社
加湿装置、当該加湿装置の制御方法及び当該加湿装置を備える空気清浄装置
25日前
シャープ株式会社
コンテンツ再生装置、コンテンツ再生方法、およびコンテンツ再生プログラム
12日前
シャープ株式会社
予測画像生成装置、動画像復号装置、動画像符号化装置、及び予測画像生成方法
25日前
シャープ株式会社
画像処理装置および画像処理方法
19日前
シャープ株式会社
画像処理装置、画像処理システム、出力装置、画像処理方法、及び画像処理プログラム
20日前
シャープ株式会社
画像処理装置及び設定履歴の削除制御方法
6日前
続きを見る
他の特許を見る