TOP
|
特許
|
意匠
|
商標
特許ウォッチ
Twitter
他の特許を見る
公開番号
2025154321
公報種別
公開特許公報(A)
公開日
2025-10-10
出願番号
2024057247
出願日
2024-03-29
発明の名称
画像形成装置
出願人
シャープ株式会社
代理人
個人
,
個人
,
個人
,
個人
,
個人
,
個人
主分類
B41J
29/38 20060101AFI20251002BHJP(印刷;線画機;タイプライター;スタンプ)
要約
【課題】通信パケットを受信した際、エンジン部の省電力状態を無駄に解除することのない画像形成装置を提供する。
【解決手段】受信した通信パケットが省電力状態を解除すべき復帰パケットか否かを判定する通信部と、ジョブの処理を行う制御部と、印刷を行うエンジン部と、制御部およびエンジン部に供給する電力を個別にオンおよびオフにする電源部とを備え、通信部は、復帰パケットである場合、電源部に対し制御部に電力を供給するよう指示し、さらに通信パケットが通知を行う条件に合致するか否かの第1判定条件および通信パケットの送信元が通知を行わない送信元リストに含まれるか否かの第2判定条件を判定し、第1判定条件が満たされ、かつ、第2判定条件が満たされない場合は、制御部に通知を行い、第1判定条件が満たされない場合か、第2判定条件が満たされる場合は、通知を行わないようにし、制御部は、通知が行われた場合にエンジン部を先行起動する。
【選択図】図3
特許請求の範囲
【請求項1】
省電力状態で通信パケットを受信したときに前記通信パケットが前記省電力状態を解除すべき復帰パケットか否かを判定する通信部と、
後続パケットを含む通信により受け付けたジョブの処理を行う制御部と、
前記制御部からの指示に従い印刷を行うエンジン部と、
前記制御部および前記エンジン部に供給する電力を個別にオンおよびオフにする電源部とを備え、
前記通信部は、前記省電力状態で前記通信パケットを受信したときに前記省電力状態を解除すべき前記復帰パケットである場合、前記電源部に対し前記制御部に前記電力を供給するよう指示し、さらに前記通信パケットが通知を行う条件に合致するか否かの第1判定条件および前記通信パケットの送信元が前記通知を行わない送信元リストに含まれるか否かの第2判定条件をさらに判定し、前記第1判定条件が満たされ、かつ、前記第2判定条件が満たされない場合は、前記制御部に対して前記通知を行い、一方、前記第1判定条件が満たされない場合か、または、前記第2判定条件が満たされる場合は、前記通知を行わないようにし、
前記電力が供給されることにより起動した前記制御部は、前記通知が行われた場合に、後続パケットを含む通信を行うことなく前記電源部に対し前記エンジン部に前記電力を供給するよう指示することで、前記エンジン部を先行起動することを特徴とする画像形成装置。
続きを表示(約 680 文字)
【請求項2】
前記制御部は、前記通信部が前記省電力状態で前記通信パケットを受信したことにより前記電力が供給された起動した後、前記通知を受信したことにより前記エンジン部を先行起動したにもかかわらず、前記後続パケットを含む通信により受け付けたジョブが前記エンジン部の動作を伴う印刷ジョブでなかった場合、予め定められた先行起動の誤判定リストに含まれる送信元のIPアドレスごとのカウント数を増やし、前記カウント数が予め定められた第1の回数になった場合、前記通信部に対して前記通信パケットの送信元のIPアドレスを通知し、
前記通信部は、前記制御部より通知された前記送信元のIPアドレスの情報を、前記通知を行わない送信元リストに追加する請求項1に記載の画像形成装置。
【請求項3】
前記制御部は、前記通信部が前記省電力状態で前記通信パケットを受信したことにより前記電力が供給された起動した後、前記通知を受信しなかったにもかかわらず、前記後続パケットを含む通信により受け付けたジョブが前記エンジン部の動作を伴う印刷ジョブであった場合、前記制御部は、予め定められた先行起動の誤判定リストに含まれる送信元のIPアドレスごとのカウント数を予め定められた数だけ減らし、前記カウント数が予め定められた第2の回数未満になった場合、前記通信部に対して前記通信パケットの送信元のIPアドレスを通知し、
前記通信部は、前記制御部より通知された前記送信元のIPアドレスの情報を、前記通知を行わない送信元リストから削除する請求項1に記載の画像形成装置。
発明の詳細な説明
【技術分野】
【0001】
この開示は、画像形成装置に関し、より詳細には、省電力状態において通信パケットを受信した際に印刷のためにエンジン部の省電力状態を解除するか否かを判定する画像形成装置に関する。
続きを表示(約 2,500 文字)
【背景技術】
【0002】
省電力モード(省電力状態)から通常モード(通常状態)への復帰要因が発生したときに、不要な電子写真プロセスの初期化処理が行われるのを抑制できる画像形成装置が提案されている。例えば、画像形成装置がスリープ状態でジョブを受信すると、当該ジョブを受信したポート番号を判定する判定手段と、前記判定手段により判定された前記ポート番号に基づいて、前記画像形成部の初期化処理が必要かどうかを判別する判別手段を有する。さらに、前記判別手段により前記画像形成部の初期化処理が必要と判別されると、前記画像形成部の初期化処理を開始した後、前記制御手段による前記ジョブの処理を開始するように制御する起動制御手段を有する(例えば、特許文献1参照)。
【先行技術文献】
【特許文献】
【0003】
特開2012-222753号公報
【発明の概要】
【発明が解決しようとする課題】
【0004】
しかしながら、画像形成装置に送られてきたジョブのポート番号が印刷ジョブを示す場合であっても、留置き印刷あるいはプリントサーバとして記憶しておき、画像形成装置にすぐに出力すべきエンジン部の動作を伴わないサービスに係る印刷ジョブの場合は無駄にエンジンの初期化を行うことになる。
【0005】
この開示は、以上のような事情を考慮してなされたものであって、外部の装置から通信パケットを受信した際、従来よりもエンジン部の省電力状態を無駄に解除することのない画像形成装置を提供するものである。
【課題を解決するための手段】
【0006】
この開示による画像形成装置は、省電力状態で通信パケットを受信したときに前記通信パケットが前記省電力状態を解除すべき復帰パケットか否かを判定する通信部と、後続パケットを含む通信により受け付けたジョブの処理を行う制御部と、前記制御部からの指示に従い印刷を行うエンジン部と、前記制御部および前記エンジン部に供給する電力を個別にオンおよびオフにする電源部とを備え、前記通信部は、前記省電力状態で前記通信パケットを受信したときに前記省電力状態を解除すべき前記復帰パケットである場合、前記電源部に対し前記制御部に前記電力を供給するよう指示し、さらに前記通信パケットが通知を行う条件に合致するか否かの第1判定条件および前記通信パケットの送信元が前記通知を行わない送信元リストに含まれるか否かの第2判定条件をさらに判定し、前記第1判定条件が満たされ、かつ、前記第2判定条件が満たされない場合は、前記制御部に対して前記通知を行い、一方、前記第1判定条件が満たされない場合か、または、前記第2判定条件が満たされる場合は、前記通知を行わないようにし、前記電力が供給されることにより起動した前記制御部は、前記通知が行われた場合に、後続パケットを含む通信を行うことなく前記電源部に対し前記エンジン部に前記電力を供給するよう指示することで、前記エンジン部を先行起動することを特徴とする。
【発明の効果】
【0007】
この開示による画像形成装置において、通信部は、省電力状態で通信パケットを受信したときに前記省電力状態を解除すべき復帰パケットである場合、電源部に対し前記制御部に電力を供給するよう指示し、さらに前記通信パケットが通知を行う条件に合致するか否かの第1判定条件および前記通信パケットの送信元が通知を行わない送信元リストに含まれるか否かの第2判定条件をさらに判定し、前記第1判定条件が満たされ、かつ、前記第2判定条件が満たされない場合は、前記制御部に対して前記通知を行い、一方、前記第1判定条件が満たされない場合か、または、前記第2判定条件が満たされる場合は、前記通知を行わないようにし、前記電力が供給されることにより起動した前記制御部は、前記通知が行われた場合に、後続パケットを含む通信を行うことなく前記電源部に対し前記エンジン部に前記電力を供給するよう指示することで、前記エンジン部を先行起動するため、従来よりもエンジン部の省電力状態を無駄に解除することのない画像形成装置を実現できる。
【図面の簡単な説明】
【0008】
この開示の実施形態に係る画像形成システムの構成例を示す説明図である。
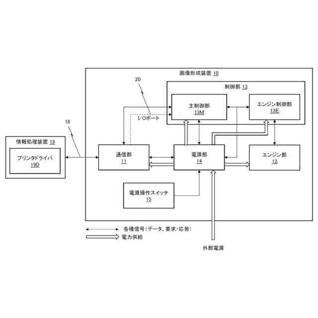
この開示の実施形態において、通信パケット受信による省電力状態の解除に係る画像形成装置の構成例を示すブロック図である。
この開示の実施形態において、省電力状態で通信部が実行する省電力状態の解除に係る処理の例を示すフローチャートである。
この開示の実施形態において、省電力状態が解除され電力が供給された際に制御部が実行する初期の処理を示すフローチャートである。
この開示の実施形態において、後続パケットの受信時の主制御部の処理を示すフローチャートである。
この開示の実施形態において、タイマー設定時間に到達時の主制御部の処理を示すフローチャートである。
この開示の実施形態において、画像形成装置にアクセスした情報処理装置が画像形成装置の先行起動対象外リストに入るまでの一例を示す説明図である。
この開示の実施形態において、画像形成装置にアクセスした情報処理装置が画像形成装置の先行起動対象外リストから除外されるまでの一例を示す説明図である。
【発明を実施するための形態】
【0009】
この開示において、「画像形成装置」は、トナーによる像形成に電子写真方式を用いるプリンタなどの複写(コピー機能)機能を有する複写機や複合機、または複写以外の機能をも含むMFP(Multifunction Peripheral:多機能周辺装置)など、画像を形成して出力する装置である。
【0010】
さらに、この開示の好ましい態様について説明する。
(【0011】以降は省略されています)
この特許をJ-PlatPat(特許庁公式サイト)で参照する
関連特許
シャープ株式会社
通信端末
20日前
シャープ株式会社
筐体構造
11日前
シャープ株式会社
端末装置
13日前
シャープ株式会社
表示装置
26日前
シャープ株式会社
表示装置
12日前
シャープ株式会社
加熱機器
11日前
シャープ株式会社
端末装置
18日前
シャープ株式会社
走行装置
18日前
シャープ株式会社
アンテナ装置
12日前
シャープ株式会社
画像形成装置
13日前
シャープ株式会社
画像形成装置
25日前
シャープ株式会社
画像形成装置
6日前
シャープ株式会社
画像形成装置
6日前
シャープ株式会社
イオン発生装置
18日前
シャープ株式会社
緩衝材及び梱包体
13日前
シャープ株式会社
端末装置および通信方法
19日前
シャープ株式会社
端末装置および測定方法
8日前
シャープ株式会社
トナー及びその製造方法
25日前
シャープ株式会社
通信装置および制御方法
27日前
シャープ株式会社
情報処理装置及び設定方法
11日前
シャープ株式会社
決済システム及び決済方法
14日前
シャープ株式会社
端末および端末の制御方法
25日前
シャープ株式会社
定着装置および画像形成装置
19日前
シャープ株式会社
給紙装置および画像形成装置
19日前
シャープ株式会社
補助電源回路および電源装置
28日前
シャープ株式会社
動画像符号化装置、復号装置
14日前
シャープ株式会社
動画像符号化装置、復号装置
11日前
シャープ株式会社
端末装置、および、基地局装置
19日前
シャープ株式会社
端末装置、および、基地局装置
13日前
シャープ株式会社
給油管理装置、及び給油システム
11日前
シャープ株式会社
端末装置、方法、および、集積回路
13日前
シャープ株式会社
通信装置および通信装置の設置方法
27日前
シャープ株式会社
電子機器および電子機器の制御方法
26日前
シャープ株式会社
端末装置、基地局装置および通信方法
今日
シャープ株式会社
UE(User Equipment)
13日前
シャープ株式会社
画像形成装置及び画像形成装置の制御方法
26日前
続きを見る
他の特許を見る