TOP
|
特許
|
意匠
|
商標
特許ウォッチ
Twitter
他の特許を見る
10個以上の画像は省略されています。
公開番号
2025164624
公報種別
公開特許公報(A)
公開日
2025-10-30
出願番号
2024068731
出願日
2024-04-20
発明の名称
画像形成装置
出願人
キヤノン株式会社
代理人
個人
,
個人
主分類
B41J
2/01 20060101AFI20251023BHJP(印刷;線画機;タイプライター;スタンプ)
要約
【課題】プリントベルトの表面電位を低下させて、プリントベルトと記録ヘッドとの間に形成される電界の影響による不具合が生じる可能性を低減する。
【解決手段】画像形成装置1は、シートSを搬送面25aに担持して搬送するベルト25と、ベルト25を張架する複数のローラであって、搬送面25aを形成する上流ローラ24及び下流ローラ21を備えた複数のローラと、プラテンユニット300と、プラテンユニット300を介して空気を吸引してベルト25及びシートSを吸引する吸引装置400と、ベルト25により搬送されるシートSに記録用の液体を吐出する記録ヘッド100と、導電性の材料を用いて構成され、ベルト25の回転方向における、ベルト25が上流ローラ24から離れる位置Eよりも下流側、かつ、記録ヘッド100と対向する位置Cよりも上流側のベルト25の表面に接触するように配置され、電気的に接地されることでベルト25の電荷の少なくとも一部を除去する除電部材200と、を有する構成とされる。
【選択図】図2
特許請求の範囲
【請求項1】
シートを搬送面に担持して搬送する回転可能な無端状のベルトであって、樹脂材料を用いて構成され、複数の孔が設けられたベルトと、
前記ベルトを張架する複数のローラであって、前記搬送面を形成する上流ローラ及び下流ローラを備え、前記搬送面の移動方向において前記上流ローラ及び前記下流ローラのうち前記上流ローラが上流側に配置された複数のローラと、
前記ベルトを摺動可能に支持するプラテン部材、及び前記プラテン部材を保持する保持体を備えたプラテンユニットと、
前記プラテンユニットを介して空気を吸引することで、前記ベルトを前記プラテン部材に向けて付勢すると共にシートを前記ベルトに向けて付勢する吸引装置と、
前記ベルトを挟んで前記プラテンユニットに対向して設けられ、前記ベルトにより搬送されるシートに記録用の液体を吐出する記録ヘッドと、
導電性の材料を用いて構成され、前記ベルトの回転方向における、前記ベルトが前記上流ローラから離れる位置よりも下流側、かつ、前記記録ヘッドと対向する位置よりも上流側の前記ベルトの表面に接触するように配置され、電気的に接地されることで前記ベルトの電荷の少なくとも一部を除去する除電部材と、
を有することを特徴とする画像形成装置。
続きを表示(約 1,200 文字)
【請求項2】
前記搬送面の移動方向に沿って配列された複数の前記記録ヘッドを有し、
前記除電部材は、前記ベルトの回転方向において、前記ベルトが前記上流ローラから離れる位置よりも下流側、かつ、複数の前記記録ヘッドのうち最上流に配置された前記記録ヘッドと対向する位置よりも上流側の前記ベルトの表面に接触するように配置されていることを特徴とする請求項1に記載の画像形成装置。
【請求項3】
前記除電部材は、複数のブラシ毛であって、導電性の材料を用いて構成され、前記搬送面の移動方向と交差する方向に沿って設けられ、前記ベルトの表面に接触する複数のブラシ毛からなるブラシ部を有することを特徴とする請求項1又は2に記載の画像形成装置。
【請求項4】
前記除電部材を前記記録ヘッドの位置を決める部材に対して取り付ける取付部材を有することを特徴とする請求項1又は2に記載の画像形成装置。
【請求項5】
前記除電部材の前記ベルトの表面に対する距離を変化させるように前記取付部材の位置を調整する調整部を有することを特徴とする請求項4に記載の画像形成装置。
【請求項6】
前記除電部材は、前記ベルトを挟んで前記プラテンユニットと対向する位置に配置されていることを特徴とする請求項1又は2に記載の画像形成装置。
【請求項7】
前記除電部材は、前記ベルトに対して0.5mm以上、3mm以下の侵入量となるように配置されていることを特徴とする請求項1又は2に記載の画像形成装置。
【請求項8】
前記プラテンユニットは、
導電性の材料を用いて構成され、前記搬送面の移動方向に沿って延在し、前記搬送面の移動方向と交差する方向に間隔をあけて配列された複数の前記プラテン部材と、
前記保持体に保持され、それぞれが前記プラテン部材を支持する、前記搬送面の移動方向に沿って間隔をあけて配列された複数のプラテン支持部材と、
を有することを特徴とする請求項1又は2に記載の画像形成装置。
【請求項9】
前記除電部材は、複数のブラシ毛であって、導電性の材料を用いて構成され、前記搬送面の移動方向と交差する方向に沿って設けられ、前記ベルトの表面に接触する複数のブラシ毛からなるブラシ部を有し、
前記除電部材は、前記ベルトを挟んで前記プラテンユニットと対向する位置に配置され、
前記ブラシ毛の間隔は、前記プラテン部材の間隔よりも小さいことを特徴とする請求項8に記載の画像形成装置。
【請求項10】
前記プラテン部材は、線径が2mm以上、5mm以下の線材で構成され、
前記プラテン部材の線径公差は0.03mm以下であり、
前記プラテン支持部材の前記プラテン部材と当接する面の真直度は0.06mm以下であることを特徴とする請求項8に記載の画像形成装置。
(【請求項11】以降は省略されています)
発明の詳細な説明
【技術分野】
【0001】
本発明は、インクジェット方式を利用して画像形成を行う印刷機、複写機、プリンタなどの画像形成装置に関するものである。
続きを表示(約 2,400 文字)
【背景技術】
【0002】
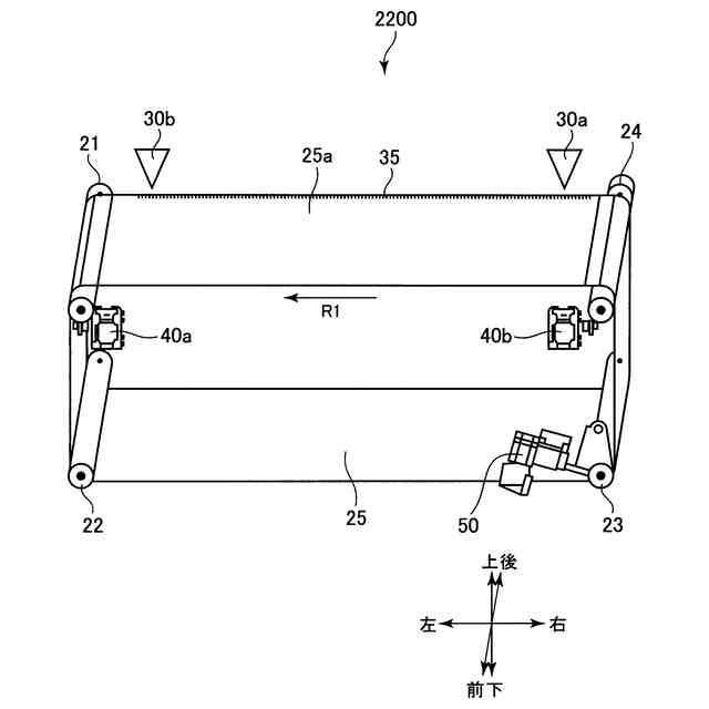
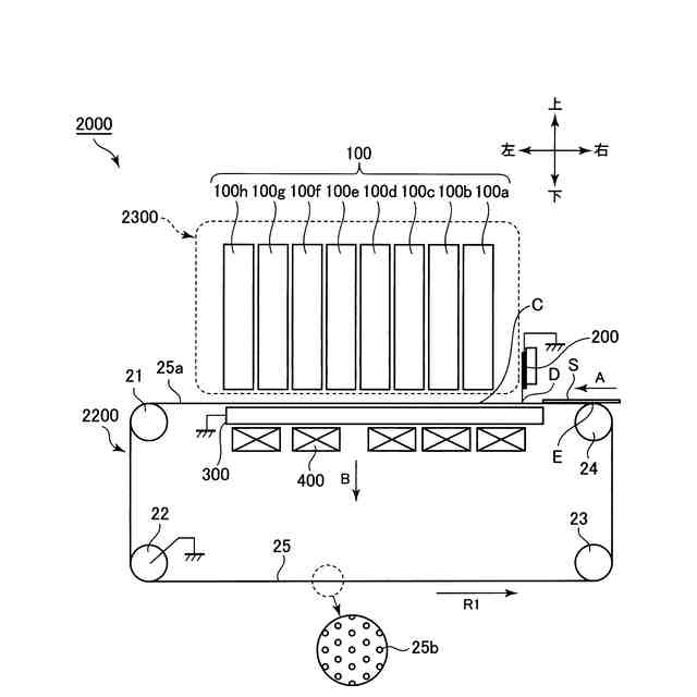
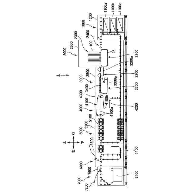
近年、オフセット印刷などのアナログ印刷が主流である商業印刷や産業印刷の分野においても、版を必要とせず少量多品種なデザインを印刷可能なデジタル印刷としてインクジェットプリントのニーズが高まっている。インクジェット方式の画像形成装置(インクジェット記録装置)は、記録紙や樹脂シートなどの記録媒体にインク液滴を吐出して文字やイメージなどの画像を記録する。特に、ラインヘッド型のインクジェット記録装置は、記録ヘッドが画像形成装置の装置本体に対して移動しない状態で、記録媒体の搬送に連動して複数の記録ヘッドから各々異なる色の液滴を吐出して記録媒体にカラー画像を記録する。このラインヘッド型のインクジェット記録装置として、記録ヘッドに対する記録媒体の搬送を無端状のベルトで構成されたプリントベルトを用いて行うものが知られている。このプリントベルトは、複数の張架ローラにより張架され、プリントベルトの回転方向における複数の記録ヘッドの上流側の張架ローラと下流側の張架ローラとの間に形成される面である搬送面に、記録媒体を吸着して搬送する。
【0003】
このような画像形成装置では、高画質な成果物を得るためには、記録媒体と記録ヘッド(より詳細には、記録ヘッドのインクを吐出する微細なノズル)との間の距離が重要である。そのため、カットされた普通紙などの記録媒体を、凹凸の小さい、すなわち、平面度が高い平面(印字平面)に抑えつけながら搬送することが行われる。その手段の1つとして、記録媒体をプリントベルトの搬送面に吸引しながら搬送する方法がある(特許文献1)。つまり、プリントベルトに微細な孔を設けると共に、開口部を有するように構成されたプラテン部材でプリントベルトを摺動可能に支持する。そして、プリントベルトの内周面側から空気を吸引することで、プリントベルトをプラテン部材に吸着させると共に、記録媒体をプリントベルトに吸着させながら、記録媒体をプリントベルトにより搬送する。
【0004】
なお、特許文献2に記載の技術は、上記吸引吸着を用いる構成とは異なる、プリントベルトに記録媒体を静電吸着させる構成のインクジェット記録装置に関するものである。
【先行技術文献】
【特許文献】
【0005】
特開2016-140997号公報
特開2022-125062号公報
【発明の概要】
【発明が解決しようとする課題】
【0006】
上述のような吸引吸着を用いる構成では、プリントベルトをプラテン部材に摺動させながら回転させるため、両者には摺動摩擦により帯電が生じる。プリントベルトの表面電位が例えば約2kV以上になると、プリントベルトから記録ヘッドのノズルが設けられたフェイス面に向けて放電が発生することがある。これにより、記録ヘッドのフェイス面を損傷させて、記録ヘッドからの高精度なインク吐出が難しくなる可能性がある。これに対して、プラテン部材を導電性の材料で構成することで、プリントベルトの表面電位を2kVよりも小さくすることができる。
【0007】
しかしながら、プリントベルトの表面電位が2kVよりも小さくても、プリントベルトの表面電位が例えば500V以上であると、プリントベルトから記録ヘッドのフェイス面に向けて電界が生じている。そのため、カットされた普通紙などの記録媒体が記録ヘッドを通過する際に、記録媒体に付着している紙粉が電界の影響を受けて、記録ヘッドのフェイス面に付着することがある。これにより、記録ヘッドからインクを適切に吐出できないという不吐現象などの不具合が生じる可能性がある。
【0008】
そこで、本発明の目的は、プリントベルトの表面電位を低下させて、プリントベルトと記録ヘッドとの間に形成される電界の影響による不具合が生じる可能性を低減することである。
【課題を解決するための手段】
【0009】
上記目的は本発明に係る画像形成装置にて達成される。要約すれば、本発明は、シートを搬送面に担持して搬送する回転可能な無端状のベルトであって、樹脂材料を用いて構成され、複数の孔が設けられたベルトと、前記ベルトを張架する複数のローラであって、前記搬送面を形成する上流ローラ及び下流ローラを備え、前記搬送面の移動方向において前記上流ローラ及び前記下流ローラのうち前記上流ローラが上流側に配置された複数のローラと、前記ベルトを摺動可能に支持するプラテン部材、及び前記プラテン部材を保持する保持体を備えたプラテンユニットと、前記プラテンユニットを介して空気を吸引することで、前記ベルトを前記プラテン部材に向けて付勢すると共にシートを前記ベルトに向けて付勢する吸引装置と、前記ベルトを挟んで前記プラテンユニットに対向して設けられ、前記ベルトにより搬送されるシートに記録用の液体を吐出する記録ヘッドと、導電性の材料を用いて構成され、前記ベルトの回転方向における、前記ベルトが前記上流ローラから離れる位置よりも下流側、かつ、前記記録ヘッドと対向する位置よりも上流側の前記ベルトの表面に接触するように配置され、電気的に接地されることで前記ベルトの電荷の少なくとも一部を除去する除電部材と、を有することを特徴とする画像形成装置である。
【発明の効果】
【0010】
本発明によれば、プリントベルトの表面電位を低下させて、プリントベルトと記録ヘッドとの間に形成される電界の影響による不具合が生じる可能性を低減することができる。
【図面の簡単な説明】
(【0011】以降は省略されています)
この特許をJ-PlatPat(特許庁公式サイト)で参照する
関連特許
キヤノン株式会社
容器
1か月前
キヤノン株式会社
容器
1か月前
キヤノン株式会社
トナー
1か月前
キヤノン株式会社
トナー
1か月前
キヤノン株式会社
撮像装置
5日前
キヤノン株式会社
撮像装置
20日前
キヤノン株式会社
発光装置
12日前
キヤノン株式会社
電子機器
1日前
キヤノン株式会社
定着装置
26日前
キヤノン株式会社
撮像装置
5日前
キヤノン株式会社
記録装置
26日前
キヤノン株式会社
二次電池
7日前
キヤノン株式会社
撮像装置
20日前
キヤノン株式会社
電子機器
5日前
キヤノン株式会社
撮像装置
1か月前
キヤノン株式会社
撮像装置
1か月前
キヤノン株式会社
撮像装置
1か月前
キヤノン株式会社
定着装置
26日前
キヤノン株式会社
撮像装置
5日前
キヤノン株式会社
記録装置
1か月前
キヤノン株式会社
定着装置
20日前
キヤノン株式会社
定着装置
20日前
キヤノン株式会社
撮像装置
1か月前
キヤノン株式会社
定着装置
26日前
キヤノン株式会社
表示装置
5日前
キヤノン株式会社
撮像装置
5日前
キヤノン株式会社
撮像装置
5日前
キヤノン株式会社
記録装置
6日前
キヤノン株式会社
電子機器
1か月前
キヤノン株式会社
記録装置
6日前
キヤノン株式会社
記録装置
1か月前
キヤノン株式会社
記録装置
1か月前
キヤノン株式会社
電子機器
1か月前
キヤノン株式会社
撮像装置
28日前
キヤノン株式会社
表示装置
12日前
キヤノン株式会社
撮像装置
1か月前
続きを見る
他の特許を見る